文档中心
/
Cable trees_20211123_083843
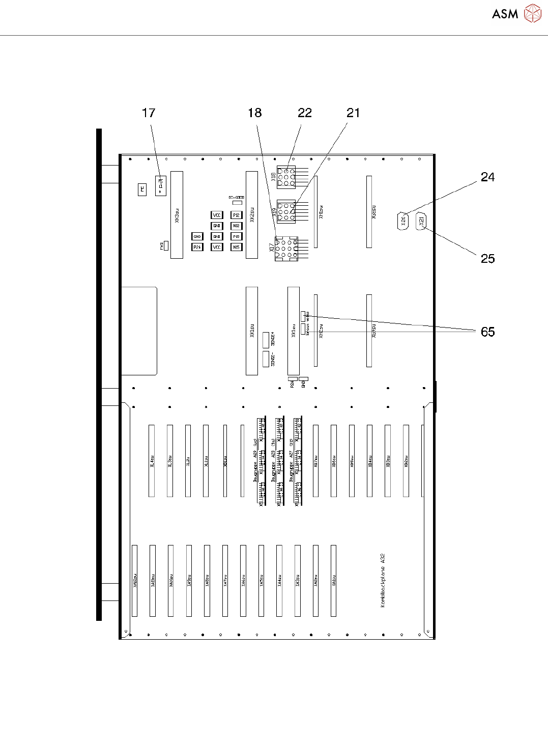
Cable trees_20211123_083843 - 第19页
Cable trees Page 19 / 57 23.11.2021
目录
100%
显示:宽度
宽度
1 / 57
回到旧版
旧版
?
Cable trees
Page 18 / 57
23.11.2021
Cable trees
Page 19 / 57
23.11.2021
Cable trees
Page 20 / 57
23.11.2021
该页面需要启用 JavaScript 才能进行交互式预览。