文档中心
/
Cable trees_20211123_083843
Cable trees_20211123_083843 - 第8页
Cable trees Page 8 / 57 23.11.2021
目录
100%
显示:宽度
宽度
1 / 57
回到旧版
旧版
?
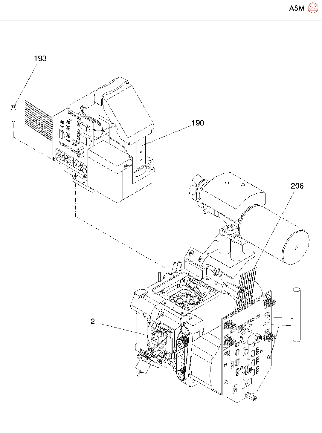
Cable trees
Page 7 / 57
23.11.2021
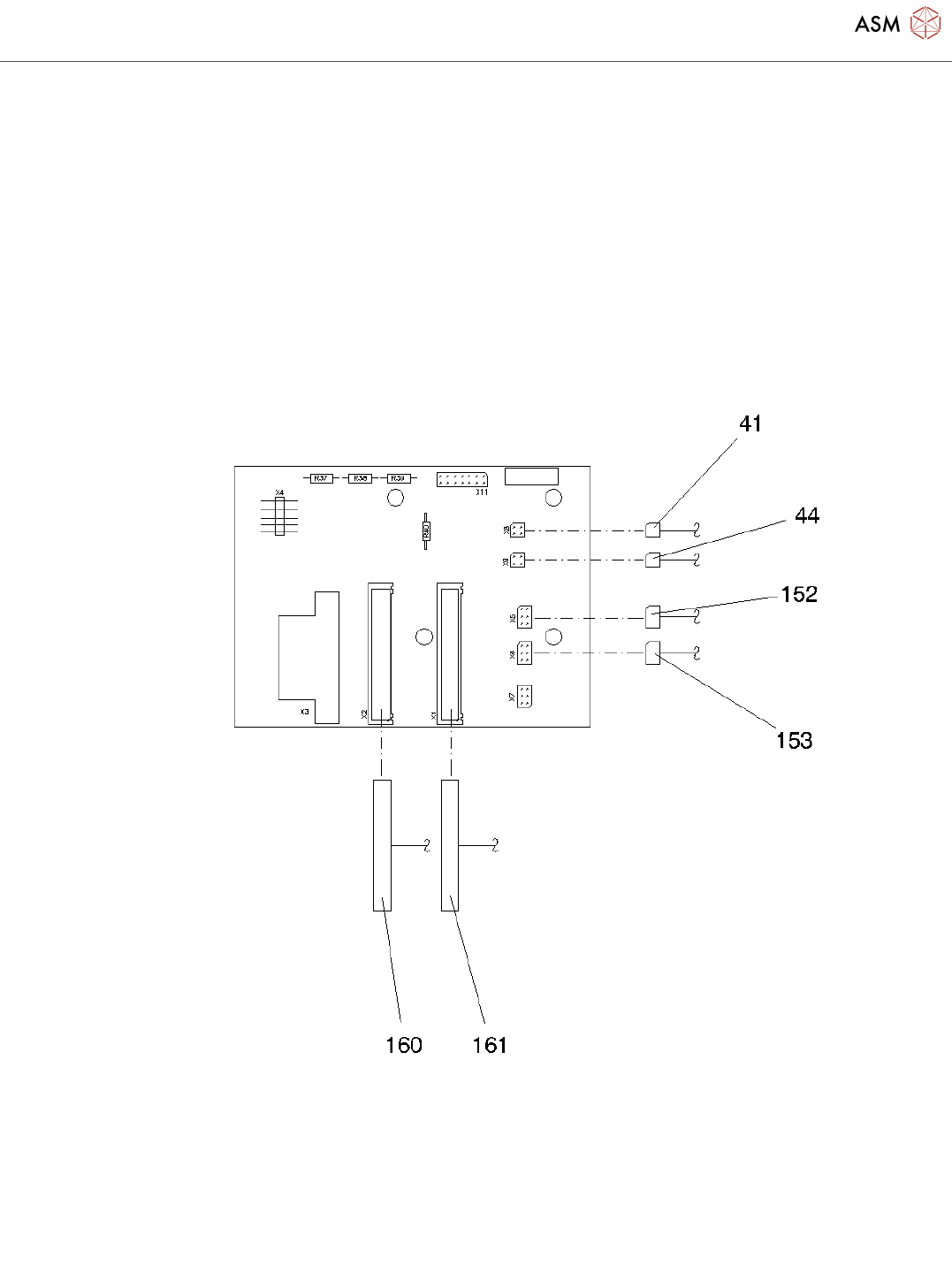
Cable trees
Page 8 / 57
23.11.2021
Cable trees
Page 9 / 57
23.11.2021
该页面需要启用 JavaScript 才能进行交互式预览。