CP6的IO代码 - 第190页
4. Set the cam angle to 0°, then turn on the solenoid (Y020 PICK UP SOL ON) to work the lever. 5. Use the cam handle to rotate the cam to 175°. 6. Ensure that the distance between the spool pushed down by the lever, and …

3.1.6 Nozzle Vacuum Valve ON
The nozzle vacuum goes from OFF to ON with the movement of the mechanical valve at
station 1. Vacuum pressure for part pick-up forms inside the nozzle when the valve is
open.
Nozzle Vacuum Valve Lever Adjustment
1. Adjust the valve ON/OFF operation at the reference head.
The reference head is ascertained by raising each spool as shown in the figure
above and measuring its height.
The head with the lowest spool is used as the reference (use a dial gauge).
2. Select [SET] - [MANUAL] - [I/O] and then press the EMERGENCY STOP button
to take the 200 V down to 100 V.
WARNING
• Always be sure to cut off the 200 V power before carrying out any
work.
• Exercise extreme caution when working on the machine if the cam is
not at its origin (0 deg.). Recoil of the cam axis can endanger the
operator.
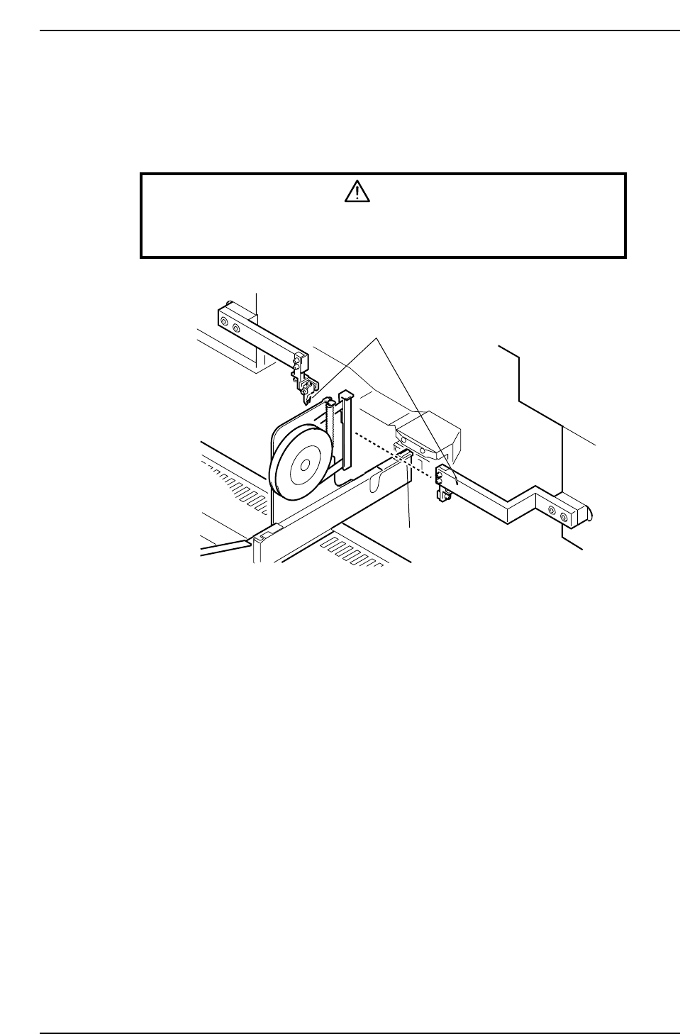
3. With the first nozzle's Y020 pick up solenoid OFF, rotate the cam to an angle of
175°, and adjust the distance between the mechanical spool and the lever so that it
is 0.7 mm. Adjustment can be made at bracket "A".
Vacuum ONVacuum OFF
Air
Air
Spool
CP6M5033
Part 5 Chapter 3 Station Adjustments
Edition 1.0 5-3-16 CP-6 Series Mechanical Reference

4. Set the cam angle to 0°, then turn on the solenoid (Y020 PICK UP SOL ON) to
work the lever.
5. Use the cam handle to rotate the cam to 175°.
6. Ensure that the distance between the spool pushed down by the lever, and the
lever itself is 0 ~ 0.1 mm at all heads.
0 ~ 0.1 mm
Bracket
Lever
Spool
CP6M5035
0.7 mm
Lever
Caution : Press down on
the pin to prevent
it from raising.
Bracket A
CP6M5034
Part 5 Chapter 3 Station Adjustments
Edition 1.0 5-3-17 CP-6 Series Mechanical Reference

3.1.7 Raised Feeder Detection
At station 1 there are sensors below and above the feeder to detect any feeder lift. Adjust
the sensitivity and the installation positions of these sensors.
Top Feeder Lift Sensor Adjustment
WARNING
Always be sure to cut off the 200 V power before carrying out any
work.
1. Ensure that the feeders are set correctly on the device table (refer to Part 2, Chapter
2 “Feeder Setting”).
2. Move the device table right and left to ensure that the feeder does not collide with
the sensor bracket or break the light beam.
Feeder lift sensor
Light beam
CP6M5036
Part 5 Chapter 3 Station Adjustments
Edition 1.0 5-3-18 CP-6 Series Mechanical Reference