00193928-01.pdf - 第172页

4 Instalace a uvedení do provozu Návod k o bsluze SIPLA CE HF-série 4.5 Instalace au tomatu Verze software S R.505.xx Vy dání 05/2004 CZ 172 Æ Uvo ln ě te opatrn ě o ba imb usové šr ouby M24x 90 (pos . 4 na obr . 4.5 - 5…

100%1 / 360
Návod k obsluze SIPLACE HF-série 4 Instalace a uvedení do provozu
Verze software SR.505.xx Vydání 05/2004 CZ 4.5 Instalace automatu
171
Æ Zašroubujte nohu stroje "HS50" do vrtání na spodní straně distančního dílu.
Æ Oba distanční díly orientujte podle následujícího:
Otvor distančního dílu na straně modulu pneumatiky ukazuje ve směru transportu desek
(viz bod 4 na obr. 4.5 - 2
, strana 168).
Otvor distančního dílu na straně elektrického napájecího modulu ukazuje proti směru
pohybu desek (viz bod 3 na obr. 4.5 - 2
, strana 168).
Æ Oba distanční díly připevněte vždy čtyřmi imbusovými šrouby M12x80 (viz bod 4 na obr. 4.5 -
4). K tomu využijte šroubovací vložku s rozměrem klíče 10 mm.
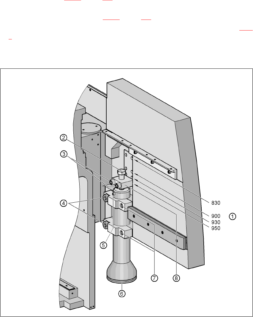
4.5.4.2 Přednastavení výšky nohou stroje
4
Obr. 4.5 - 5 P
ř
ednastavení výšky nohou stroje
4 Instalace a uvedení do provozu Návod k obsluze SIPLACE HF-série
4.5 Instalace automatu Verze software SR.505.xx Vydání 05/2004 CZ
172
Æ Uvolněte opatrně oba imbusové šrouby M24x90 (pos. 4 na obr. 4.5 - 5) pomocí šroubovacího
nástavce (rozměr klíče 19 mm) a nechte nohu stroje (pos. 6 na obr. 4.5 - 5
) pomalu klouzat
dolů, až dolehne pojistný kolík (pos. 5 na obr. 4.5 - 5
) na upínku (pos. 7 na obr. 4.5 - 5).
Æ Uvolněte pomocí šroubovacího nástavce (rozměr klíče 14 mm) oba imbusové šrouby M16x90
(pos. 3 na obr. 4.5 - 5
) a odejměte segment pro výškové nastavení (pos. 8 na obr. 4.5 - 5).
Æ Vyšroubujte šestihranný šroub M24x80 (pos. 2 na obr. 4.5 - 5) pomocí montážního klíče SW36
tak daleko ze segmentu (pos. 8 na obr. 4.5 - 5
) dovnitř nebo ven tak, že závit šroubu ční ze
segmentu na obě strany stejně daleko.
Æ Připevněte segment pro výškové nastavení (pos. 8 na obr. 4.5 - 5) do požadované výškové
polohy 830 mm, 900 mm, 930 resp. 950 mm (pos. 1) pomocí obou imbusových šroubů M16x90
(pos. 3).
Æ Proveďte přednastavení pro každou nohu stroje.
Æ Nyní spouštějte automat opatrně pomocí vysokozdvižného vozíku, až se nohy stroje
rovnoměrně dotknou podlahy. Druhá osoba by měla v každém případě kontrolovat stabilní
polohu automatu během spouštění. V případě potřeby musí být upnutí nohou stroje ještě
trochu uvolněno.
Æ Nyní spouštějte automat opatrněle, až se noha stroje dotkne šestihranného šroubu M24x80
(pos. 2) pro výškové nastavení.
Æ Dbejte na to, aby se nohy stroje "HS50" (viz bod 2 na obr. 4.5 - 2) nedotýkaly podlahy. Pokud
je to nutné, zašroubujte nohy stroje "HS50" ještě trochu do automatu resp. do distančního dílu.
Návod k obsluze SIPLACE HF-série 4 Instalace a uvedení do provozu
Verze software SR.505.xx Vydání 05/2004 CZ 4.5 Instalace automatu
173
4.5.5 Instalace montážních sad na rám stroje
4.5.5.1 Montáž montážní sady na vstupní straně desek
Při expedici automatu jsou montážní sady na straně vstupu desek a vstupního transportu
demontovány. Při instalaci montážní sady na vstupní straně desek postupujte následovně:
Montáž vstupního transportu
viz odstavec 4.5.6, strana 174
Montáž montážní sady na vstupní straně desek viz odstavec 4.5.7, strana 176
Instalace počítačové jednotky na HF a HF/3 viz odstavec 4.5.8, strana 180
Instalace jednotky osy na HF a HF/3 viz odstavec 4.5.12, strana 194
Montáž hlavního ukazatele poruch viz odstavec 4.5.13, strana 198
Integrace automatu do výrobní linky viz odstavec 4.5.14, strana 198
Konečné nastavení automatu viz odstavec 4.5.15, strana 202
4.5.5.2 Montáž montážní sady na výstupní straně desek
Pokud byla z transportních důvodů demontována montážní sada i na výstupní straně desek,
musíte provést, dříve než automat integrujete do výrobní linky (viz odstavec 4.5.14
, strana 198),
ještě následující pracovní kroky:
Montáž výstupního transportu
viz odstavec 4.5.10, strana 188
Namontovat montážní sadu na výstupní straně desek viz odstavec 4.5.11, strana 190
Instalace jednotky osy na HF a HF/3 viz odstavec 4.5.12, strana 194
Montáž hlavního ukazatele poruch viz odstavec 4.5.13, strana 198
Integrace automatu do výrobní linky viz odstavec 4.5.14, strana 198
Konečné nastavení automatu viz odstavec 4.5.15, strana 202