00193928-01.pdf - 第285页
Návod k obs luze SIPLACE HF -série 7 R ozší ř ení stanice Verze software SR.505.xx Vydání 05/2004 CZ 7.1 M ě ni č pipet 285 7.1.2 M ě ni č pipet pro 6-ti segmento vou hlav u Collec t&Place Te n t o m ě ni č pipet m ů…

7 Rozšíření stanice Návod k obsluze SIPLACE HF-série
7.1 Měnič pipet Verze software SR.505.xx Vydání 05/2004 CZ
284
7.1.1.9 Montážní sada pro měnič pipet "řada 2"
Měnič pipet "řada 2" lze instalovat na následující stanoviště:
Automat HF: Stanoviště 1 a 3 (viz obr. 7.1 - 2
, strana 276)
Automat HF/3: Stanoviště 1, 3 a 4 (viz obr. 7.1 - 3
, strana 277)
Souprava pro dodatečnou montáž obsahuje vedle měniče pipet ještě montážní sadu a přípravek
na stahování pipet s odhazovací nádobou na pipety.
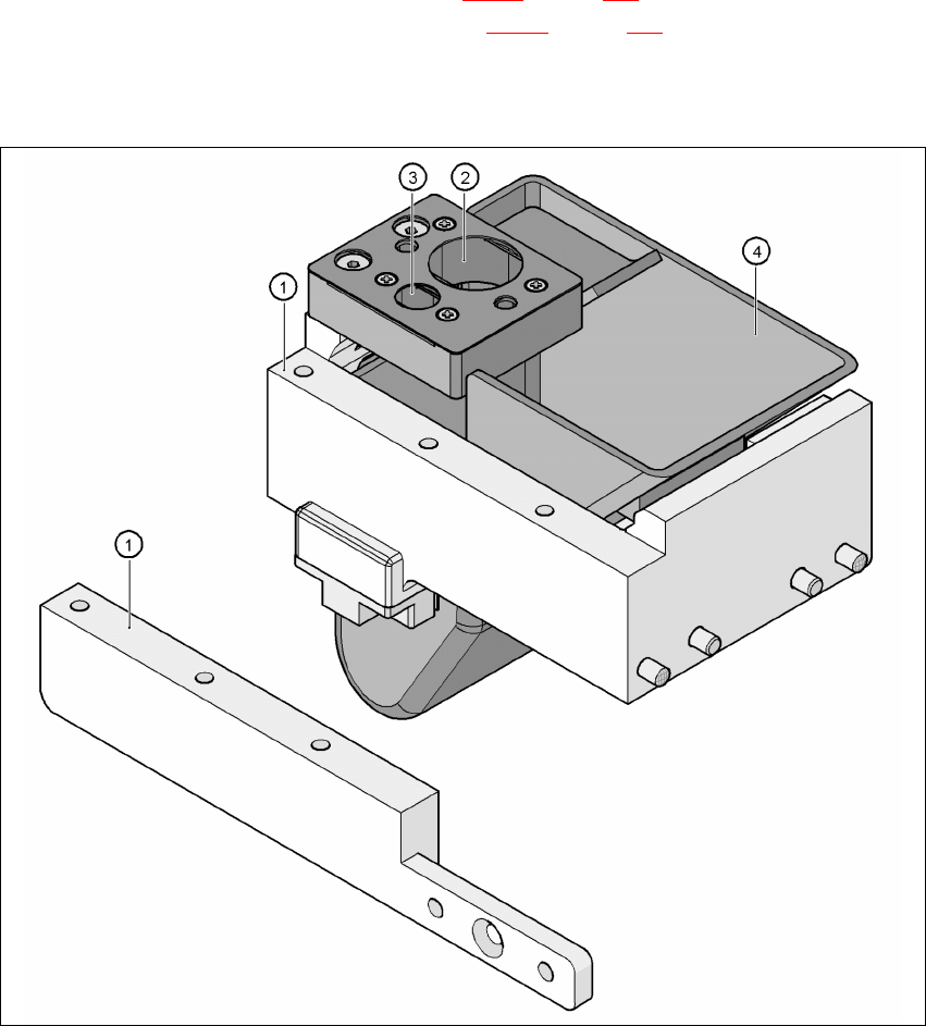
7
Obr. 7.1 - 8 Montážní sada pro m
ě
ni
č
pipet "
ř
ada 2"
(1) Montážní sada pro měnič pipet "řada 2"
(2) Přípravek na stahování pipet pro pipety typu 8xx
(3) Přípravek na stahování pipet pro pipety typu 9xx
(4) Nádoba na odhazování pipet

Návod k obsluze SIPLACE HF-série 7 Rozšíření stanice
Verze software SR.505.xx Vydání 05/2004 CZ 7.1 Měnič pipet
285
7.1.2 Měnič pipet pro 6-ti segmentovou hlavu Collect&Place
Tento měnič pipet může pojmout až 6 zásobníků vždy s 6 úložnými místy. Jsou k dispozici dva
typy zásobníků: zásobníky pro pipety typu 8xx a zásobníky pro pipety typu 9xx. Zásobníky jsou
umístěny na společném nosiči. Jsou polohovány pomocí dvou válcových kolíků a zajištěny
pomocí svorek.
7
Obr. 7.1 - 9 M
ě
ni
č
pipet pro 6-ti segmentovou hlavu Collect&Place
7.1.2.1 Technická data
7
Měnič pipet pro 6-ti segmentovou hlavu Collect&Place
Rozměry (délka x šířka x výška) 448 x 122,5 x 97,7 mm³
Počet úložných míst pro pipety 6
Typy pipet 8xx, 9xx
Doba otevírání a zavírání blokovací desky < 200 ms
Přípoj tlakového vzduchu 0,48 MPa (4,8 bar)

7 Rozšíření stanice Návod k obsluze SIPLACE HF-série
7.1 Měnič pipet Verze software SR.505.xx Vydání 05/2004 CZ
286
7.1.2.2 Poloha měniče pipet pro hlavu C&P6 na automatu HF
Na stanovištích 1 a 3 mohou být instalovány až 2 měniče pipet pro 6-ti segmentovou hlavu
Collect&Place (pos. 1 a 2 na obr. 7.1 - 10
). Na parkovištích 2 a 4 může být instalován vždy jeden
měnič pipet. To dává celkovou kapacitu 6 měničů pipet se 36 zásobníky a celkem 216 úložnými
místy (garážemi) pipet.
7
Obr. 7.1 - 10 Poloha m
ě
ni
č
e pipet pro hlavu C&P6 na automatu HF
(1) Měnič pipet, "řada 1"
(2) Měnič pipet, "řada 2"
(3) Nádoba na odhozené součástky
(4) Přípravek na stahování pipet a nádoba na odhozené pipety
(5) Zásobník pipet
7
7
7