00193928-01.pdf - 第295页
Návod k obs luze SIPLACE HF -série 7 R ozší ř ení stanice Verze software SR.505.xx Vydání 05/2004 CZ 7.1 M ě ni č pipet 295 7.1.3 M ě ni č pipet pro hlavu SIPLACE T winHead Te n t o m ě ni č pipet m ů že poj mout až 12 z…

7 Rozšíření stanice Návod k obsluze SIPLACE HF-série
7.1 Měnič pipet Verze software SR.505.xx Vydání 05/2004 CZ
294
7.1.2.9 Montážní sada pro měnič pipet "řada 2"
Měnič pipet "řada 2" lze instalovat na následující stanoviště:
Automat HF: Stanoviště 1 a 3 (viz obr. 7.1 - 10
, strana 286)
Automat HF/3: Stanoviště 1, 3 a 4 (viz obr. 7.1 - 11
, strana 287)
Souprava pro dodatečnou montáž obsahuje vedle měniče pipet ještě montážní sadu a přípravek
na stahování pipet s odhazovací nádobou na pipety.
7
Obr. 7.1 - 16 Montážní sada pro 2. m
ě
ni
č
pipet
(1) Montážní sada pro měnič pipet "řada 2"
(2) Přípravek na stahování pipet pro pipety typu 8xx
(3) Přípravek na stahování pipet pro pipety typu 9xx
(4) Nádoba na odhazování pipet

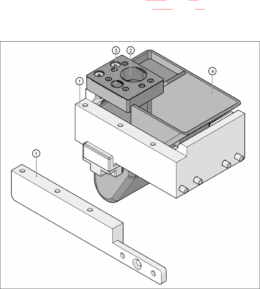
Návod k obsluze SIPLACE HF-série 7 Rozšíření stanice
Verze software SR.505.xx Vydání 05/2004 CZ 7.1 Měnič pipet
295
7.1.3 Měnič pipet pro hlavu SIPLACE TwinHead
Tento měnič pipet může pojmout až 12 zásobníků pipet. K dispozici jsou dva typy zásobníků:
standardní zásobníky a zásobníky pro zvláštní pipety nebo chapače. Zásobníky jsou umístěny na
společném nosiči. Jsou polohovány vždy pomocí dvou válcových kolíků a zajištěny pomocí dvou
zápustných šroubů.
7
Obr. 7.1 - 17 M
ě
ni
č
pipet pro hlavu SIPLACE TwinHead
7
7
7.1.3.1 Technická data
7
Měnič pipet pro hlavu SIPLACE TwinHead
Rozměry (délka x šířka x výška) 448 x 68,5 x 49 mm³
Počet úložných míst pro pipety 16 pro standardní pipety
4 pro zvláštní pipety nebo chapače
Typy pipet 5xx, standard
4xx s adaptérem
9xx s adaptérem
Doba výměny pipety < 2 s

7 Rozšíření stanice Návod k obsluze SIPLACE HF-série
7.1 Měnič pipet Verze software SR.505.xx Vydání 05/2004 CZ
296
7.1.3.2 Poloha měniče pipet pro hlavu TwinHead na automatu HF
Na stanovištích 1 a 3 lze instalovat vždy jeden měnič pipet pro hlavu TwinHead (pos. 1 na obr. 7.1
- 18). To dává celkovou kapacitu 2 měničů pipet se 24 zásobníky a celkem 48 úložnými místy
(garážemi) pipet.
7
Obr. 7.1 - 18 Poloha m
ě
ni
č
e pipet pro hlavu TwinHead na automatu HF
(1) Měnič pipet
(2) Standardní zásobník
(3) Zásobník pro zvláštní pipety nebo chapače
(4) Odpadová nádoba na součástky
7
7