ASM贴片机 SIPLACE X 系列用户手册 - 第192页
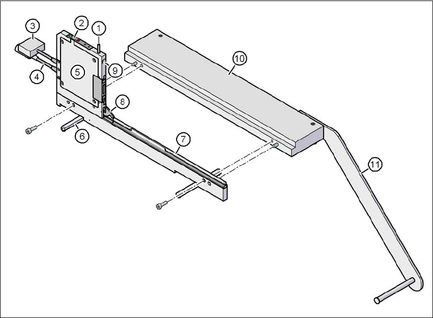
3 贴片机的技术数据 用户手册 SIPLACE X 系列 3.9 X 供料器组件 源自软件版本 SR.70x.xx 2011 年 1 月中文版 192 3.9.5 X 供料器组件的能量和数据接口 部件号 00141247- xx X 供料器组件的能量和数据接口 3 图 3.9 - 17 X 供料器组件的能量和数据接口 (1) 用于松开锁 定插销的按钮 (2) 操作员面板 (3) 数据电缆 (4) 电源电缆 (5) 电子外壳 (6) 折叠…

用户手册 SIPLACE X 系列 3 贴片机的技术数据
源自软件版本 SR.70x.xx 2011 年 1 月中文版 3.9 X 供料器组件
191
3.9.4.3 X 系列供料器组件适配器 (带有抛料传送导轨)
3
图
3.9 - 16 X
系列供料器组件适配器 (带有抛料传送导轨)
(1) X 系列供料器组件适配器 (部件号 00141305-xx)
(2) 抛料传送导轨适配板 (部件号 00141308-xx)
(3) 抛料传送导轨

3 贴片机的技术数据 用户手册 SIPLACE X 系列
3.9 X 供料器组件 源自软件版本 SR.70x.xx 2011 年 1 月中文版
192
3.9.5 X 供料器组件的能量和数据接口
部件号 00141247-xx X 供料器组件的能量和数据接口
3
图
3.9 - 17 X
供料器组件的能量和数据接口
(1) 用于松开锁定插销的按钮
(2) 操作员面板
(3) 数据电缆
(4) 电源电缆
(5) 电子外壳
(6) 折叠支脚
(7) 引导供料器组件的 Omega 剖面
(8) 锁定插销
(9) 供料器组件前对中销的定位孔
(10) 基板
(11) 线圈支持器

用户手册 SIPLACE X 系列 3 贴片机的技术数据
源自软件版本 SR.70x.xx 2011 年 1 月中文版 3.9 X 供料器组件
193
3.9.5.1 说明
有了能量和数据接口,X 供料器组件将可以在贴片机和安装区域之外使用。 此接口含有 omega 剖
面的铝制机架 (图 3.9 - 15
中的 7,第 190 页)构成,可用于固定和引导供料器组件。 供料器组
件可与 X 料车一样,通过滑板放到 omega 剖面上,并且可以向前推,直到供料器的前对中销完
全进入定位孔 (图 3.9 - 15
中的 9,第 190 页)。 锁定插销 (图 3.9 - 15 中的 8,第 190 页)会
将供料器组件锁定在此位置。 若要拆除供料器组件,只需按下松开按钮即可 (图
3.9 - 15
中的 1,第 190 页)。 按下锁定插销 (图 3.9 - 15 中的 8,第 190 页),然后松开供料器
组件。 折叠支脚 (图 3.9 - 15
中的 6,第 190 页)可固定能量和数据接口的位置,尤其是对于较
宽的供料器组件。
电子外壳 (图 3.9 - 15
中的 5,第 190 页)内有能量和数据接口的电子控制装置。 操作员面板
(图 3.9 - 15
中的 2,第 190 页)含有启动和停止按钮和两个状态显示灯 LED。 与 PC 之间的通讯
将通过数据电缆(图 3.9 - 15
中的 3,第 190 页)来完成。 电源电缆(图 3.9 - 15 中的 4,第 190
页)将连接到所提供的电源装置上。
3.9.5.2 使用
能量和数据接口可用来检查、维护和维修 X 供料器组件。 此外,它还可以用于 PCB 生产的提前安
装。 在这种情况下,能量和数据接口将固定到基板(图 3.9 - 19
中的 10,第 196 页)上。 线圈支
持器 (图 3.9 - 19
中的 11,第 196 页)也将安装到基板上。 在插入元件料带时,您可以检查或重
新设置增量、拾取位置和传送导轨速度。 详细的用户手册介绍了此接口和必要维护工作的使用方
法。
3.9.5.3 产品交付
- 单插槽 EDIF
a
- 电源,交流 100 - 120 / 200 - 240 V,直流 +30V, 4.3 A
- 基板 (带线圈组)
- 用户手册
a) EDIF = 能量和数据接口