00196686-02_UM_X-Serie_SR705_RO - 第192页
Datele tehnice ale automatului Instruc ţ iuni de utilizare SIPLACE Seria X Modulele alimentatoare X Începând cu versiunea software SR.70x.xx Edi ţ ia 01/2011 192 3.9.5.1 Descriere Cu ajutorul inter fe ţ ei de energie ş i…

Instrucţiuni de utilizare SIPLACE Seria X Datele tehnice ale automatului
Începând cu versiunea software SR.70x.xx Ediţia 01/2011 Modulele alimentatoare X
191
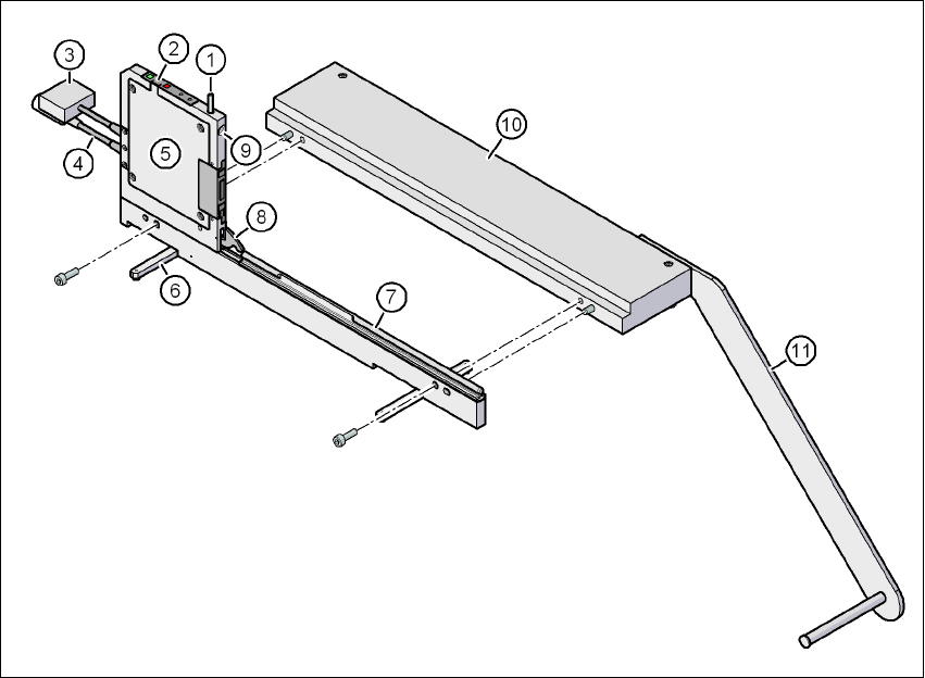
3.9.5 Interfaţa de energie şi date pentru modulele alimentatoare X
Cod articol 00141247-xx Interfaţă de energie şi date pentru modulul alimentator X
3
Fig. 3.9 - 17 Interfaţa de energie şi date pentru modulele alimentatoare X
(1) Buton de deblocare pentru eliberarea clichetului de blocare
(2) Panou de operare
(3) Cablu de date
(4) Cablu de alimentare electrică
(5) Carcasa sistemului electronic
(6) Picioare rabatabile
(7) Profil omega pentru ghidarea modulelor alimentatoare
(8) Clichet de blocare
(9) Orificiu de angrenare pentru ştiftul de centrare anterior al modulului alimentator
(10) Placă de bază
(11) Suportul bobinei

Datele tehnice ale automatului Instrucţiuni de utilizare SIPLACE Seria X
Modulele alimentatoare X Începând cu versiunea software SR.70x.xx Ediţia 01/2011
192
3.9.5.1 Descriere
Cu ajutorul interfeţei de energie şi date este posibilă punerea în funcţiune a modulelor alimenta-
toare X şi în exteriorul automatului şi al poziţiei de preinstalare. Interfaţa este alcătuită dintr-un
cadru de aluminiu cu profil omega (poz. 7 în fig. 3.9 - 15
, pagina 189) destinat preluării şi ghidării
modulelor alimentatoare. Modulul alimentator se aşează, ca şi în cazul cărucioarelor cu compo-
nente X, cu glisierele pe profilul omega şi se împinge înainte, până când ştiftul de centrare anterior
al modulului alimentator intră complet în orificiul de angrenare (poz. 9 în fig. 3.9 - 15
, pagina 189).
Clichetul de blocare (poz. 8 în fig. 3.9 - 15
, pagina 189) blochează modulul alimentator în această
poziţie. Pentru îndepărtarea modulului alimentator apăsaţi pur şi simplu pe butonul de deblocare
(poz. 1 în fig.
3.9 - 15
, pagina 189). Clichetul de blocare (poz. 8 în fig. 3.9 - 15, pagina 189) este apăsat în jos
şi eliberează modulul alimentator. Picioarele rabatabile (poz. 6 în fig. 3.9 - 15
, pagina 189) stabi-
lizează poziţia interfeţei de energie de date, în special în cazul modulelor alimentatoare late.
Carcasa sistemului electronic (poz. 5 în fig. 3.9 - 15
, pagina 189) adăposteşte sistemul electronic
de comandă pentru interfaţa de energie şi date. Panoul de operare (poz. 2 în fig. 3.9 - 15
, pagina
189
) este alcătuit din butoanele de pornire şi oprire, precum şi două LED-uri pentru indicarea stă-
rii. Comunicaţia cu un PC se realizează prin cablul de date (poz. 3 în fig. 3.9 - 15
, pagina 189).
Cablul de alimentare electrică (poz. 4 în fig. 3.9 - 15
, pagina 189) se conectează la modulul de
alimentare electrică livrat.
3.9.5.2 Utilizare
Interfaţa de energie şi date serveşte pentru verificarea, întreţinerea şi repararea modulelor ali-
mentatoare X. În plus, aceasta poate fi utilizată la producţia PCB-urilor în vederea preinstalării.
Interfaţa de energie şi date se fixează în acest scop la placa de bază (poz. 10 în fig. 3.9 - 19
, pa-
gina 195
). Suportul bobinei (poz. 11 în fig. 3.9 - 19, pagina 195) se montează de asemenea la
placa de bază. Cu o bandă de componente instalată, puteţi verifica sau redefini pasul, poziţia de
preluare şi viteza de transport. Există instrucţiuni de utilizare detaliate care descriu modul de uti-
lizare a interfeţei şi lucrările de service.
3.9.5.3 Furnitura
– Single Slot EDIF
a
– Alimentator de reţea, 100 - 120 / 200 - 240 V~, +30V-, 4,3 A
–Placă de bază cu braţul bobinei
– Instrucţiuni de utilizare
a) EDIF = Interfaţă de energie şi date

Instrucţiuni de utilizare SIPLACE Seria X Datele tehnice ale automatului
Începând cu versiunea software SR.70x.xx Ediţia 01/2011 Modulele alimentatoare X
193
3.9.6 Suportul de magazii-tavă pentru cărucioarele cu componente ale
automatelor SIPLACE Seria X
Cod articol 00141285-xx Suport de magazii-tavă pentru seria X
3
Fig. 3.9 - 18 Suport de magazii-tavă
(1) Suportul de magazii-tavă pentru automatele SIPLACE Seria X
(2) Colţar suport pentru a 2-a magazie-tavă JEDEC
(3) Suportul de magazii-tavă
(4) Şipcă opritoare pentru magazia-tavă JEDEC
(5) Ştift de ajustare - punctul zero al magaziei-tavă JEDEC
3
Magaziile-tavă JEDEC sau magaziile Waffle Pack aşezate individual se pot fixa cu magneţi pe su-
portul de magazii-tavă. Dacă se aşează două magazii-tavă JEDEC, acestea trebuie fixate cu şipci
de blocare şi susţinere, precum cele utilizate la suporturile de magazii-tavă ale schimbătorului
MTC.
Piese: Cod articol:
Magnet 00316593-xx
Şipcă de blocare şi susţinere pentru magazii JEDEC 00372615-xx