3OM-1301-002.pdf - 第147页
3 - 68 3.2 3.2 3.2 3.2 3.2 重复图形 重复图形 重复图形 重复图形 重复图形 ( ( ( ( ( 有分割线路板识别 有分割线路板识别 有分割线路板识别 有分割线路板识别 有分割线路板识别 ) ) ) ) ) 0506-001 • 基本数据一览 基本数据一览 基本数据一览 基本数据一览 基本数据一览 Table 3C 1 4 Table 3C 1 4 Table 3C 1 4 Table 3C 1 4 Table…

3-67
3.2 3.2
3.2 3.2
3.2
重复图形重复图形
重复图形重复图形
重复图形
((
((
(
有分割线路板识别有分割线路板识别
有分割线路板识别有分割线路板识别
有分割线路板识别
))
))
)
( 1 )( 1 )
( 1 )( 1 )
( 1 )
线路板程序的编制信息线路板程序的编制信息
线路板程序的编制信息线路板程序的编制信息
线路板程序的编制信息
•
线路板尺寸、线路板尺寸、
线路板尺寸、线路板尺寸、
线路板尺寸、
元件包装和元件元件包装和元件
元件包装和元件元件包装和元件
元件包装和元件
IDID
IDID
ID
、、
、、
、
线路板识别标记线路板识别标记
线路板识别标记线路板识别标记
线路板识别标记
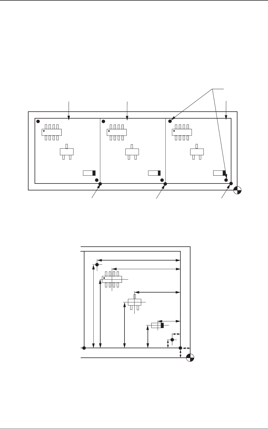
与 “3.1 单个图形( 有线路板全体识别) ” 相同。
•
贴装坐标、贴装坐标、
贴装坐标、贴装坐标、
贴装坐标、
贴装角度和识别标记坐标贴装角度和识别标记坐标
贴装角度和识别标记坐标贴装角度和识别标记坐标
贴装角度和识别标记坐标
Fig.3C49 Fig.3C49
Fig.3C49 Fig.3C49
Fig.3C49
全体图全体图
全体图全体图
全体图
Fig.3C50 Fig.3C50
Fig.3C50 Fig.3C50
Fig.3C50
图形图形
图形图形
图形
1 (1 (
1 (1 (
1 (
放大图放大图
放大图放大图
放大图
))
))
)
(OX(OX
(OX(OX
(OX
22
22
2
,,
,,
,
OYOY
OYOY
OY
22
22
2
))
))
)
0506-001
3.2 3.2
3.2 3.2
3.2
重复图形重复图形
重复图形重复图形
重复图形
((
((
(
有分割线路板识别有分割线路板识别
有分割线路板识别有分割线路板识别
有分割线路板识别
))
))
)
线路板识别标记线路板识别标记
线路板识别标记线路板识别标记
线路板识别标记
图形图形
图形图形
图形
33
33
3
贴装坐标基准贴装坐标基准
贴装坐标基准贴装坐标基准
贴装坐标基准
(OX(OX
(OX(OX
(OX
11
11
1
,,
,,
,
OYOY
OYOY
OY
11
11
1
))
))
)
图形原点图形原点
图形原点图形原点
图形原点
(OX(OX
(OX(OX
(OX
33
33
3
,,
,,
,
OYOY
OYOY
OY
33
33
3
))
))
)
图形图形
图形图形
图形
22
22
2
图形图形
图形图形
图形
11
11
1
贴装坐标基准贴装坐标基准
贴装坐标基准贴装坐标基准
贴装坐标基准
FXFX
FXFX
FX
22
22
2
XX
XX
X
33
33
3
XX
XX
X
22
22
2
FYFY
FYFY
FY
22
22
2
YY
YY
Y
33
33
3
YY
YY
Y
22
22
2
YY
YY
Y
11
11
1
XX
XX
X
11
11
1
FXFX
FXFX
FX
11
11
1
FYFY
FYFY
FY
11
11
1
0X0X
0X0X
0X
11
11
1
0Y0Y
0Y0Y
0Y
11
11
1

3-68
3.2 3.2
3.2 3.2
3.2
重复图形重复图形
重复图形重复图形
重复图形
((
((
(
有分割线路板识别有分割线路板识别
有分割线路板识别有分割线路板识别
有分割线路板识别
))
))
)
0506-001
•
基本数据一览基本数据一览
基本数据一览基本数据一览
基本数据一览
Table 3C14Table 3C1 4
Table 3C14Table 3C1 4
Table 3C14
线路板程序线路板程序
线路板程序线路板程序
线路板程序
基本数据基本数据
基本数据基本数据
基本数据
操作数据 线路板数据
○
线路板识别数据 ○
线路板识别标记数据 ○
机种生产参数 Note (a)
吸嘴配置数据 安装头1 、2
○
元件配置数据 送料器安装台1 、2 ○
贴装数据 U 1 贴装数据 (P) 贴装数据 (P) ○
单元控制 Note (b)
分割线路板识别
○
贴装数据 (O) ○
贴装数据 Un 贴装数据 (P) 贴装数据 (P) ×
单元控制 ×
分割线路板识别 ×
贴装数据 (O) ×
(a) 自动调整传送带宽度时,编写此数据。
(b) 请根据情况使用。
Note

3-69
(2)(2)
(2)(2)
(2)
操作数据的编写操作数据的编写
操作数据的编写操作数据的编写
操作数据的编写
•
线路板数据线路板数据
线路板数据线路板数据
线路板数据
请用与 “3.1 单个图形( 有线路板全体识别) ” 相同方法进行编写。
•
线路板识别数据线路板识别数据
线路板识别数据线路板识别数据
线路板识别数据
•
线路板识别标记数据线路板识别标记数据
线路板识别标记数据线路板识别标记数据
线路板识别标记数据
Table 3C16Table 3C1 6
Table 3C16Table 3C1 6
Table 3C16
•
机种生产参数机种生产参数
机种生产参数机种生产参数
机种生产参数
请在使用自动调整功能时,进行编写。
(3)(3)
(3)(3)
(3)
吸嘴配置数据的编写吸嘴配置数据的编写
吸嘴配置数据的编写吸嘴配置数据的编写
吸嘴配置数据的编写
请用与 “3.1 单个图形( 有线路板全体识别) ” 相同方法进行编写。
(4)(4)
(4)(4)
(4)
元件配置数据的编写元件配置数据的编写
元件配置数据的编写元件配置数据的编写
元件配置数据的编写
请用与 “3.1 单个图形( 有线路板全体识别) ” 相同方法进行编写。
3.2 3.2
3.2 3.2
3.2
重复图形重复图形
重复图形重复图形
重复图形
((
((
(
有分割线路板识别有分割线路板识别
有分割线路板识别有分割线路板识别
有分割线路板识别
))
))
)
0506-001
Table 3C15Table 3C1 5
Table 3C15Table 3C1 5
Table 3C15
线路板识别机能选择线路板识别机能选择
线路板识别机能选择线路板识别机能选择
线路板识别机能选择
线路板识别方法线路板识别方法
线路板识别方法线路板识别方法
线路板识别方法
补正算法补正算法
补正算法补正算法
补正算法
全体全体
全体全体
全体
分割图像分割图像
分割图像分割图像
分割图像
局部局部
局部局部
局部
自动自动
自动自动
自动
((
((
(
片横梁片横梁
片横梁片横梁
片横梁
))
))
)
识别识别
识别识别
识别
使用使用
使用使用
使用
标准标准
标准标准
标准
不使用不使用
不使用不使用
不使用
不使用不使用
不使用不使用
不使用
不使用不使用
不使用不使用
不使用
不使用不使用
不使用不使用
不使用
不使用不使用
不使用不使用
不使用
不使用不使用
不使用不使用
不使用
元件吸取后元件吸取后
元件吸取后元件吸取后
元件吸取后
指定横梁指定横梁
指定横梁指定横梁
指定横梁
顺序顺序
顺序顺序
顺序
区域区域
区域区域
区域
55
55
5
区域区域
区域区域
区域
44
44
4
区域区域
区域区域
区域
11
11
1
区域区域
区域区域
区域
22
22
2
区域区域
区域区域
区域
33
33
3
标记标记
标记标记
标记
编号编号
编号编号
编号
标记标记
标记标记
标记
形状形状
形状形状
形状
角度角度
角度角度
角度
[[
[[
[
°°
°°
°
]]
]]
]
识别领域识别领域
识别领域识别领域
识别领域
[mm][mm]
[mm][mm]
[mm]
标记标记
标记标记
标记
图像图像
图像图像
图像
形状判形状判
形状判形状判
形状判
别别
别别
别
水准水准
水准水准
水准
照明水准照明水准
照明水准照明水准
照明水准
同轴同轴
同轴同轴
同轴
照明水准照明水准
照明水准照明水准
照明水准
环状环状
环状环状
环状
11
11
1
圆圆
圆圆
圆
1.00 1.00
1.00 1.00
1.00
0.00 0.00
0.00 0.00
0.00
0.00 0.00
0.00 0.00
0.00
000.00000.00
000.00000.00
000.00
05.0 05.0
05.0 05.0
05.0
亮标记亮标记
亮标记亮标记
亮标记
((
((
(
通常通常
通常通常
通常
))
))
)
高高
高高
高
标准标准
标准标准
标准
标准标准
标准标准
标准
标记标记
标记标记
标记
尺寸尺寸
尺寸尺寸
尺寸
D 1D 1
D 1D 1
D 1
[mm][mm]
[mm][mm]
[mm]
标记标记
标记标记
标记
尺寸尺寸
尺寸尺寸
尺寸
D2D2
D2D2
D2
[mm][mm]
[mm][mm]
[mm]
标记标记
标记标记
标记
尺寸尺寸
尺寸尺寸
尺寸
D3D3
D3D3
D3
[mm][mm]
[mm][mm]
[mm]