3OM-1348-002_w.pdf - 第150页
3 - 67 Tg 1315 -ID-PM 0606 - 001 (5) 贴装数据 (P)U1 • 单元控制 Table 3C12 单元 控制 补正值 X[mm] 补正值 Y[mm] 补正值 Z[°] 补正值 H[mm] 贴装 +000.000 +000.000 +000.00 +0.000 • 分割线路板识别 请设定“分割线路板识别”为“不识别” 。 请不要设定其他数据。 • 贴装数据 (P) Table 3C13 P-No. X[m…

3-660612-002
•
线路板识别数据
Table 3C8
线路板识别机能选择 使用
补正算法 标准
线路板识别方法 全体 区域1 2点认识
区域2 不使用
区域3 不使用
区域4 不使用
区域5
不使用
分割图像 不使用
局部 不使用
全体识别 区域1 第1点 X(横) FX
1
坐标 Y(纵) FY1
标记编码 1
第2点 X(横) FX
2
Y(纵) FY2
标记编码 1
横梁指定
自动(片横梁)
顺序 元件吸取后
•
线路板识别标记数据
Table 3C9
标记
No.
1
标记
形状
圆
标记
尺寸
D1[mm]
1.00
标记
尺寸
D2[mm]
0.00
标记
尺寸
D3[mm]
0.00
角度
[°]
000.00
识别领域
[mm]
05.0
标记
图像
亮标记
(通常)
形状判别
水准
高
照明水准
同轴
照明水准
环状
标准 标准
•
机种生产参数
请在使用自动调整机能时,进行编写。
(3) 吸嘴配置数据的编写
Table 3C10
吸嘴编号 安装头1 安装头2
吸嘴1 ID名 HA04 HA04
吸嘴2 ID名 HV03 HV03
吸嘴3 ID名 HA05 HA05
吸嘴4 ID名
吸嘴12 ID名
(4) 元件配置数据
Table 3C11
Fdr No. 元件 ID C 注释
送料器
固定
送料器
替代
送料器
Fdr No.
101 TANA3216C0HIT - 不使用 不使用 000
103 TR2012-3B0HIT-L2 - 不使用 不使用 000
105 SOP008-B02SAN32E E 不使用 不使用 000
3.1 单个图形 ( 有线路板全体识别 )

3-67
Tg1315-ID-PM
0606-001
(5) 贴装数据 (P)U1
•
单元控制
Table 3C12
单元
控制
补正值
X[mm]
补正值
Y[mm]
补正值
Z[°]
补正值
H[mm]
贴装 +000.000 +000.000 +000.00 +0.000
•
分割线路板识别
请设定“分割线路板识别”为“不识别”。
请不要设定其他数据。
•
贴装数据 (P)
Table 3C13
P-No. X[mm] Y[mm] Z[°] H[mm] Fdr No. C 注释
1 X
1
Y
1
+000.00 +0.000 101 -
2 X
2
Y
2
+090.00 +0.000 103 -
3 X
3
Y
3
+180.00 +0.000 105 -
4 +000.000 +000.00 +000.00 +0.000 000 E
(6) 贴装数据 (O)U1
请不要编写此数据。
3.1 单个图形 ( 有线路板全体识别 )

3-68
Tg1315-ID-PM
0606-001
3.2 重复图形 ( 有分割线路板识别 )
3.2 重复图形 ( 有分割线路板识别 )
(1) 线路板程序的编制信息
•
线路板尺寸、元件包装和元件 ID、线路板识别标记
与“3.1 单个图形 ( 有线路板全体识别 )”相同。
•
贴装坐标、贴装角度和识别标记坐标
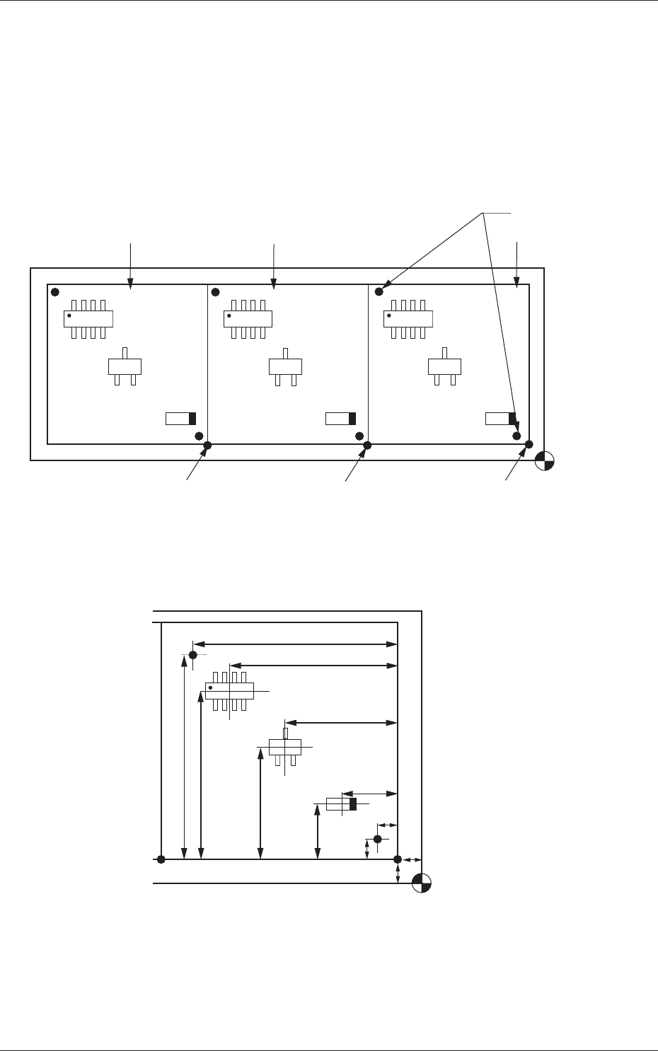
Fig.3C49 全体图
X3
Y3
X2
Y2
X1
OX1
Y1
OY1
FX1
FY1
FY2
FX2
Fig.3C50 图形 1 ( 放大图 )
线路板识别标记
贴装坐标基准
图形 1
图形 2
图形 3
图形原点 (OX
3
,OY
3
)
(OX
2
,OY
2
)
(OX
1
,OY
1
)
贴装坐标基准