JX-350-Rev02PDFAPDFA - 第54页
- - 25 . PWB CO NVEY OR C OM PONE NT S ( 5) 2 1 2 1 2 1 1 3 1 2 6 3 1 1 7 6 1 6 1 8 1 7 2 6 1 6 1 8 1 7 2 6 2 0 2 0 1 7 1 6 1 9 2 2 2 4 2 3 2 5 2 6 1 4 2 7 3 1 0 2 5 2 4 5 6 1 9 8 1 0 1 4 8 2 2 2 2 1 1 7 1 5 2 3 2 5 1 …

- -
REF.NO NOTE PART NO D E S C R I P T I O N Qty
1 401-36094 RAIL PLATE RL ASM 1
2 400-01063 RAIL PLATE RL(L) (1)
3 400-11072 JOINT PLATE F(150) (1)
4 400-11053 RAIL PLATE F(150) (1)
5 401-35862 CONVEYOR_RAIL_B_1 (1)
6 SL-6041292-TN SCREW (3)
7 NM-3040520-SF FLANGE NUT M4 (5)
8 401-35861 CONVEYOR_RAIL_A (1)
9 SL-6030692-TN SCREW M3 L=6 (4)
10 401-35864 PWB_GUIDE_A_SPACER (1)
11 E2208-723-000 PWB GUIDE 6S (1)
12 SL-6031092-TN SCREW (3)
13 401-35865 PWB_GUIDE_B_SPACER (1)
14 SL-6030892-TN SCREW M3 L=8 (3)
15 SB-8160001-00 BEARING (2)
16 401-35866 PWB_INNER_SPACER (1)
17 SM-6041002-TN BOLT (8)
18 SL-6041092-TN SCREW (5)
19 E2111-715-0A0 CONVEYOR PULLEY ASM. (1)
20 E2214-723-000 PULLEY SPACER 8.4 (1)
21 SM-4042001-SC SCREW M4X0.7 L=20 (1)
22 WP-0430801-SC WASHER M4 (1)
23 WS-0410002-KN SPRING WASHER M4 (1)
24 NM-6040001-SC NUT M4X0.7 TYPE1 (1)
25 E2089-721-0A0 CONVEYOR PULLEY B ASM. (1)
26 E2055-721-000 PULLEY SPACER (1)
27 SM-4042501-SC SCREW M4X0.7 L=25 (1)
28 WP-0430801-SC WASHER M4 (1)
29 WS-0410002-KN SPRING WASHER M4 (1)
30 NM-6040001-SC NUT M4X0.7 TYPE1 (1)
31 400-01059 SUPPORT PLATE RL ASM(L) (1)
32 400-01064 SUPPORT PLATE RL(L) (1)
33 E2111-715-0A0 CONVEYOR PULLEY ASM. (3)
34 WP-0430800-SC WASHER M4 (2)
35 SM-4040855-SC SCREW (1)
36 SL-6041092-TN SCREW (2)
37 400-00839 DRIVE_PULLEY_R_ASM (1)
38 400-00840 DRIVE_PULLEY_R (1)
39 E2160-721-000 PULLEY FLANGE (1)
40 SL-6030892-TN SCREW M3 L=8 (3)
41 E3931-750-000 PULLEY WASHER (2)
42 E2160-721-000 PULLEY FLANGE (1)
43 401-36095 RAIL PLATE RR ASM 1
44 NM-6040001-SC NUT M4X0.7 TYPE1 (1)
45 SL-6041092-TN SCREW (2)
46 E3931-750-000 PULLEY WASHER (4)
47 E2160-721-000 PULLEY FLANGE (2)
48 400-01061 RAIL PLATE RR(L) (1)
49 400-11072 JOINT PLATE F(150) (1)
50 400-11054 RAIL PLATE R(150) (1)
51 401-35863 CONVEYOR_RAIL_B_2 (1)
52 SL-6041292-TN SCREW (3)
53 NM-3040520-SF FLANGE NUT M4 (5)
54 401-35861 CONVEYOR_RAIL_A (1)
55 SL-6030692-TN SCREW M3 L=6 (4)
56 401-35864 PWB_GUIDE_A_SPACER (1)
57 E2208-723-000 PWB GUIDE 6S (1)
58 SL-6031092-TN SCREW (3)
59 401-35865 PWB_GUIDE_B_SPACER (1)
60 SL-6030892-TN SCREW M3 L=8 (6)
61 SB-8160001-00 BEARING (2)
62 401-35866 PWB_INNER_SPACER (1)
63 SM-6041002-TN BOLT (8)
64 SL-6041092-TN SCREW (5)
65 E2111-715-0A0 CONVEYOR PULLEY ASM. (1)
66 E2214-723-000 PULLEY SPACER 8.4 (1)
67 SM-4042001-SC SCREW M4X0.7 L=20 (1)
68 WP-0430801-SC WASHER M4 (1)
69 WS-0410002-KN SPRING WASHER M4 (1)
70 NM-6040001-SC NUT M4X0.7 TYPE1 (1)
71 E2089-721-0A0 CONVEYOR PULLEY B ASM. (1)
72 E2055-721-000 PULLEY SPACER (1)
73 SM-4042501-SC SCREW M4X0.7 L=25 (1)
74 WP-0430801-SC WASHER M4 (1)
75 WS-0410002-KN SPRING WASHER M4 (1)
76 NM-6040001-SC NUT M4X0.7 TYPE1 (1)
77 400-01062 SUPPORT PLATE RR ASM(L) (1)
78 400-01069 SUPPORT PLATE RR(L) (1)
79 E2111-715-0A0 CONVEYOR PULLEY ASM. (7)
80 WP-0430800-SC WASHER M4 (7)
81 SM-4040855-SC SCREW (7)
82 SM-4042501-SC SCREW M4X0.7 L=25 (1)
83 WP-0430801-SC WASHER M4 (1)
84 WS-0410002-KN SPRING WASHER M4 (1)
85 400-00839 DRIVE_PULLEY_R_ASM (2)
86 400-00840 DRIVE_PULLEY_R (1)
87 E2160-721-000 PULLEY FLANGE (1)
88 SL-6030892-TN SCREW M3 L=8 (3)

- -
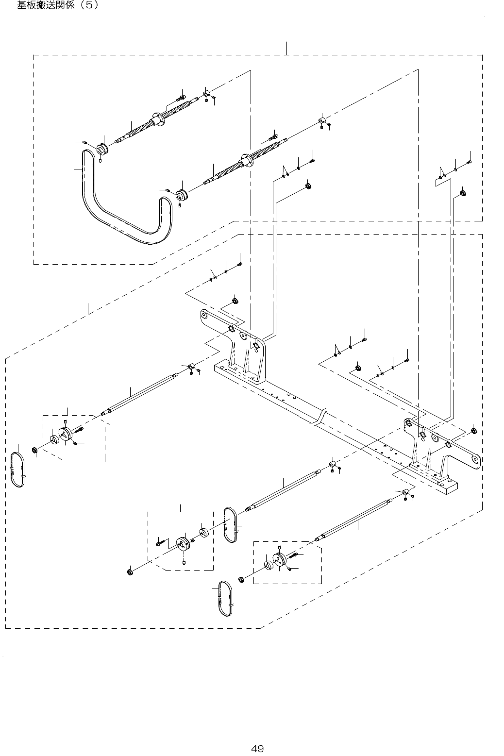
25. PWB CONVEYOR COMPONENTS (5)
2 1
2 1
2 1
1 3
1
2 6
3
1 1
7
6
1 6
1 8
1 7
2 6
1 6
1 8
1 7
2 6
2 0
2 0
1 7
1 6
1 9
2 2
2 4
2 3
2 5
2 6
1 4
2 7
3
1 0
2
5
2 4
5
6
1 9
8
1 0
1 4
8
2 2
2 2
1 1
7
1 5
2 3
2 5
1 9
4
1 2
4
2 4
2 3
2 5
2 6
2 6
9
2 7
9
1 4
2 7
1 2
1 8

- -
REF.NO NOTE PART NO D E S C R I P T I O N Qty
1 400-01003 SCREW SHAFT ASM(L) 1
2 E2146-721-000 TIMING BELT (1)
3 SB-1080002-00 SIDE BEARING (4)
4 400-15578 SCREW SHAFT(L) (2)
5 SM-8040602-TP SCREW M4X0.7 L=6 (4)
6 WP-0330516-SC WASHER 3.3X8X0.5 (4)
7 SM-6030602-TN SCREW M3X6 (4)
8 E2141-721-000 STOPPER COLLAR (2)
9 SM-8040402-TP SCREW M4X0.7 L=4 (4)
10 E2156-721-000 PULLEY A (2)
11 WP-0320500-SF WASHER 3.2X7X0.5 (8)
12 SL-6041692-TN SCREW (8)
13 400-54803 DRIVE SHAFT ASM L(6) 1
14 E2141-721-000 STOPPER COLLAR (3)
15 400-01005 DRIVE BELT C(L) (1)
16 WP-0320500-SF WASHER 3.2X7X0.5 (12)
17 WP-0330516-SC WASHER 3.3X8X0.5 (6)
18 SM-6030602-TN SCREW M3X6 (6)
19 E2152-721-000 DRIVE SHAFT C (3)
20 400-46033 DRIVE BELT S(6) (2)
21 400-00849 DRIVE PULLEY F ASM (3)
22 SL-6031642-TN SCREW (3)
23 400-00850 DRIVE PULLEY F (1)
24 SM-8040602-TP SCREW M4X0.7 L=6 (2)
25 400-00851 MOTOR PULLEY B (1)
26 SB-1080002-00 SIDE BEARING (6)
27 SM-8040402-TP SCREW M4X0.7 L=4 (6)