JX-350-Rev02PDFAPDFA - 第74页
- - 35. FP I CO MPO NEN TS 2 2 4 1 4 0 4 0 4 2 4 2 4 1 2 3 2 8 3 8 3 5 3 7 3 6 3 2 3 3 3 4 3 2 3 3 3 4 3 1 2 9 3 0 3 9 2 6 2 7 2 6 2 6 2 6 2 7 2 5 2 4 1 7 3 2 0 1 9 2 1 1 1 1 3 1 2 1 2 1 3 1 1 1 8 2 8 9 1 0 6 5 5 5 6 5…

- -
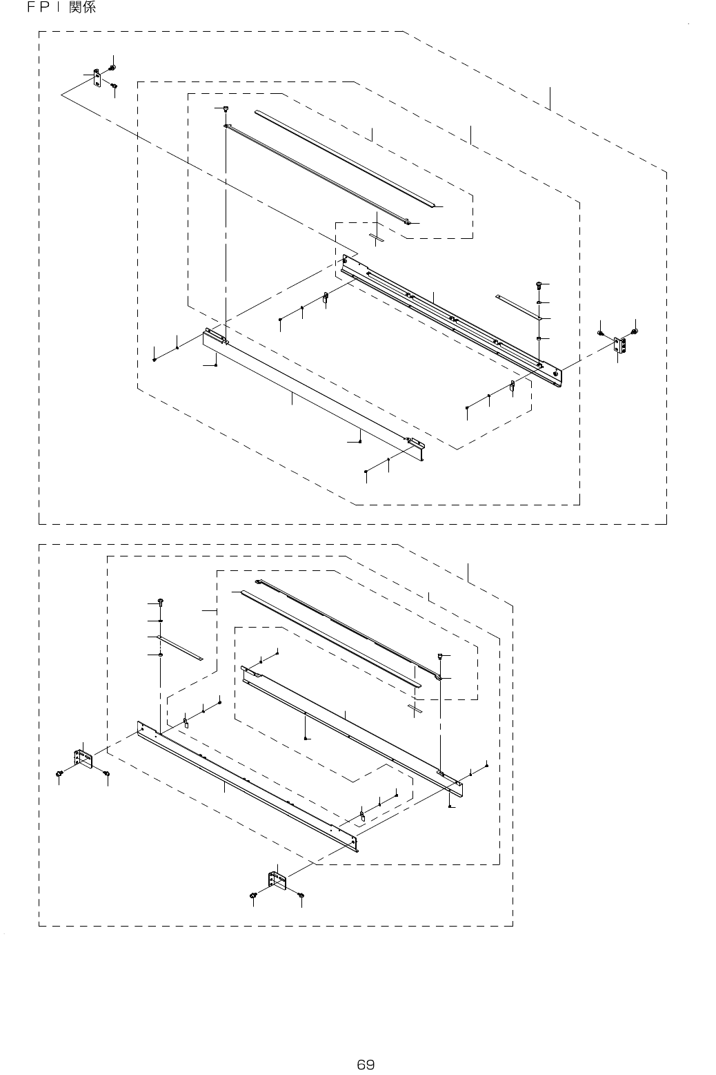
REF.NO NOTE PART NO D E S C R I P T I O N Qty
1 401-61646 BM_ANGLE_BR 1
2 SL-6030592-TN SCREW M3 L=5 4
3 400-47981 BAD MARK FIBER AMP ASM 1
4 SM-6030602-TN SCREW M3X6 2
5 HD-0013100-40 SENSOR 1
6 E9638-729-000 FIBER LENS 1
7 400-71565 BM HOLDER 3020 1
8 EA-9500B01-00 CABLE BAND 4
9 EA-9500B02-00 CABLE BAND 150 8

- -
35. FPI COMPONENTS
2 2
4 1
4 0
4 0
4 2
4 2
4 1
2 3
2 8
3 8
3 5
3 7
3 6
3 2
3 3
3 4
3 2
3 3
3 4
3 1
2 9
3 0
3 9
2 6
2 7
2 6
2 6
2 6
2 7
2 5
2 4
1
7
3
2 0
1 9
2 1
1 1
1 3
1 2
1 2
1 3
1 1
1 8
2
8
9
1 0
6
5
5
5
6
5
4
1 7
1 6
1 5
1 4
1 9
2 1
2 0

- -
REF.NO NOTE PART NO D E S C R I P T I O N Qty
1 401-47460 FPI_F_ASM 1
2 401-14948 FPI F SUB ASM (1)
3 401-10740 FPI BR B (1)
4 401-10741 FPI COVER B (1)
5 SM-6030402-TN SCREW M3X4 (9)
6 WP-0320501-SC WASHER M3 (4)
7 E6025-729-0A0 FPI COVER U20 ASM (1)
8 E6025-729-000 FPI COVER U20 (1)
9 E6028-729-000 FPI PLATE U20 (1)
10 SM-6030402-TN SCREW M3X4 (2)
11 400-94870 HARNESS CLAMP A (2)
12 SM-6030402-TN SCREW M3X4 (2)
13 WP-0320501-SC WASHER M3 (2)
14 E8626-729-0A0 FPI LED BOARD ASM. (4)
15 SM-5030801-SC SCREW M3X0.5 L=8 (8)
16 E2143-715-000 TIMER SPACER A (8)
17 E4901-760-000 POLY SLIDER THRUST WASHER (8)
18 E6033-729-000 FPI INSULATION SHEET (0.2)
19 401-47456 FPI_BR_F (2)
20 SL-6051292-TN SCREW M5 L=12 (4)
21 SL-6061292-TN SCREW M6 L=12 (2)
22 401-14947 FPI_R_ASM 1
23 401-14949 FPI_R_SUB_ASM (1)
24 401-10740 FPI BR B (1)
25 401-10741 FPI COVER B (1)
26 SM-6030402-TN SCREW M3X4 (9)
27 WP-0320501-SC WASHER M3 (4)
28 E6025-729-0A0 FPI COVER U20 ASM (1)
29 E6025-729-000 FPI COVER U20 (1)
30 E6028-729-000 FPI PLATE U20 (1)
31 SM-6030402-TN SCREW M3X4 (2)
32 400-94870 HARNESS CLAMP A (2)
33 SM-6030402-TN SCREW M3X4 (2)
34 WP-0320501-SC WASHER M3 (2)
35 E8626-729-0A0 FPI LED BOARD ASM. (4)
36 SM-5030801-SC SCREW M3X0.5 L=8 (8)
37 E2143-715-000 TIMER SPACER A (8)
38 E4901-760-000 POLY SLIDER THRUST WASHER (8)
39 E6033-729-000 FPI INSULATION SHEET (0.2)
40 401-10739 FPI_BR_R (2)
41 SL-6051292-TN SCREW M5 L=12 (4)
42 SL-6061292-TN SCREW M6 L=12 (2)