JM-10-Rev03 - 第31页
- 26 - REF.NO NOTE PART NO D E S C R I P T I O N 品 名 Qty 1 400-77234 XY PLASTIC RAI L BR XYプラスチックレール ブラケット 1 2 HX-0009600-0A BUSH エッジングブッシュ 0.06 3 SL-6040892-TN BOLT 座金付き六角穴ボルト 4 4 HX-0029400-00 FIXED BASE 固定ベース 1 5 SM-4…

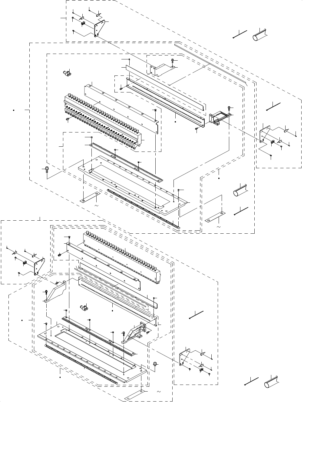
- 25 -
13.X-Y COMPONENTS (2)
X − Y 関係(2)
2
58
11
12
13
22
16
18
14
24
25
26
13
13
31
30
34
35
38
40
41
42
43
44
45
46
49
50
47
51
52
8
62
60
61
63
33
15
18
32
48
20
21
18
17
20
21
36
36
37
37
20
21
21
20
5
4
9
10
57
6
7
39
27
54
53
A
A
1
3
B
B
64
55
56
14
23
29
59
21
20
21
20
21
20
28
19

- 26 -
REF.NO NOTE PART NO D E S C R I P T I O N
品 名
Qty
1 400-77234 XY PLASTIC RAIL BR
XYプラスチックレールブラケット
1
2 HX-0009600-0A BUSH
エッジングブッシュ
0.06
3 SL-6040892-TN BOLT
座金付き六角穴ボルト
4
4 HX-0029400-00 FIXED BASE
固定ベース
1
5 SM-4040601-SC SCREW M4X0.7 L=6
なべ小ねじ M4X0.7 L=6
1
6 400-77235 XY PLASTIC RAIL
XYプラスチックレール
1
7 400-77236 X PLASTIC RAIL SUPPORT
Xプラスチックレールサポート
1
8 SM-6041002-TN BOLT
六角穴ボルト
4
9 L153E-221-000 FC SUPPORT
FC サポート
1
10 L153E-321-000 FC RUBBER
FC ルーバー
3
11 SL-6051092-TN BOLT
座金付き六角穴ボルト
2
12 400-77237 X FRAME
Xフレーム
1
13 PH-0500122-C0 PIN
平行ピン
4
14 SL-6042092-TN SCREW M4 L=20
座金付き六角穴ボルト
12
15 400-02227 X PLUS LMT SENSOR ASM
X軸プラスリミットセンサ組
1
16 400-02228 X MINUS LMT SENSOR ASM
X軸マイナスリミットセンサ組
1
17 400-02229 X ORG RANGE SENSOR ASM
X軸原点周囲センサ組
1
18 SM-6850802-TN SCREW M2.5 L=8
六角穴ボルト M2.5 L=8
3
19 400-82805 Y BS COVER R
Y BSカバーR
1
20 HX-0029400-00 FIXED BASE
固定ベース
22
21 SM-4040601-SC SCREW M4X0.7 L=6
なべ小ねじ M4X0.7 L=6
22
22 401-07748 X CARRIER L
XキャリアL
1
23 SL-6062592-TN SCREW
座金付き六角穴ボルト
8
24 WP-0641601-SC WASHER
平座金みがき丸 M6
8
25 400-49671 COVER CUSHION
カバークッション
1
26 SM-4030601-SC SCREW M3 X 6
なべ小ねじ M3X0.5 L=6
1
27 400-77239 X CARRIER R
Xキャリア R
1
28 PH-0500122-C0 PIN
平行ピン
2
29 SL-6062592-TN SCREW
座金付き六角穴ボルト
8
30 400-49671 COVER CUSHION
カバークッション
1
31 SM-4030601-SC SCREW M3 X 6
なべ小ねじ M3X0.5 L=6
1
32 E6003-723-000 HANDLE
ハンドル
1
33 SM-6062002-TN SCREW M6 L=20
六角穴ボルト M6 L=20
2
34 HX-0029400-00 FIXED BASE
固定ベース
1
35 SM-4040601-SC SCREW M4X0.7 L=6
なべ小ねじ M4X0.7 L=6
1
36 400-77240 X LINER GUIDE
Xリニアガイド
2
37 SM-6041202-TN SCREW M4X0.7 L=12
六角穴ボルト M4X0.7 L=12
28
38 400-77241 X MOTOR FRAME
Xモータフレーム
1
39 SL-6052092-TN SCREW
座金付き六角穴ボルト
4
40 400-68913 SERVO MOTOR 400W
サーボモーター 400W
1
41 SM-6051402-TN HEXAGONAL-HOLE BOLT M5 L=14
六角穴ボルト M5 L=14
4
42 400-77243 X MOTOR COUPLING
Xモータカップリング
1
43 400-77244 X BALL SCREW
Xボールスクリュウ
1
44 SL-6051642-TN BOLT
座金付き六角穴ボルト
4
45 400-77245 X BALL SCREW FRAME
Xボールスクリュウフレーム
1
46 PH-0300082-C0 PIN
平行ピン
2
47 SL-6042592-TN SCREW
座金付き六角穴ボルト
2
48 400-77246 X BALL SCREW SUPPORT L
XボールスクリュウサポートL
1
49 SL-6042092-TN SCREW M4 L=20
座金付き六角穴ボルト
2
50 SL-6043092-TN BOLT
座金付き六角穴ボルト
2
51 400-77247 X BALL SCREW SUPPORT R
XボールスクリュウサポートR
1
52 SM-6041202-TN SCREW M4X0.7 L=12
六角穴ボルト M4X0.7 L=12
4
53 400-77248 X SENSOR DOG
Xセンサドグ
1
54 SL-6051292-TN BOLT
座金付き六角穴ボルト
2
55 EA-9500B02-00 CABLE BAND 150
結束バンド 150
5
56 HX-0006500-0B CABLE BAND
束線バンド
5
57 400-77235 XY PLASTIC RAIL
XYプラスチックレール
1
58 400-77402 Y PLASTIC RAIL SUPPORT
Yプラスチックレールサポート
1
59 SM-6041002-TN BOLT
六角穴ボルト
4
60 L153E-221-000 FC SUPPORT
FC サポート
1
61 L153E-321-000 FC RUBBER
FC ルーバー
3
62 SL-6051092-TN BOLT
座金付き六角穴ボルト
2
63 400-45554 INSULATION TAPE
絶縁テープ
0.5
64 EA-9500B01-00 CABLE BAND
束線バンド
25

- 27 -
14.FEEDER BANK COMPONENTS
フィーダバンク関係
12
6
6
14
14
9
10
20
21
22
23
15
16
16
16
18
25
26
29
24
7
8
30
35
32
33
37
36
40
36
38
33
32
37
36
34
31
36
39
11
17
13
39
3
4
19
41
42
66
82
79
82
77
81
80
45
84
75
58
71
67
70
72
65
58
57
63
54
64
82
78
83
82
84
75
81
80
76
51
46
47
58
67
70
61
62
56
55
54
51
50
49
52
53
59
73
74
43
44
1 2
5
60
48
86
85