JM-10-Rev03 - 第34页
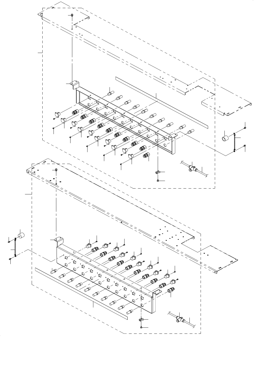
- 29 - 15. FEEDER BANK COMPONEN TS(BEFORE M/C REV.D) フィーダバンク関係(マシン REV.D 以前) 29 28 26 25 27 35 21 34 33 21 21 32 31 21 30 21 22 24 23 20 38 37 37 36 1 7 6 18 17 18 19 3 4 5 9 8 15 2 14 2 13 2 12 2 11 2 16 10

- 28 -
NOTE( 注記 ) #01....BEFORE M/C REV.D マシン REV.D 以前
#02....AFTER M/C REV.E マシン REV.E 以降
#03....OPTIONAL PARTS オプション部品
REF.NO NOTE PART NO D E S C R I P T I O N
品 名
Qty
1
#01
400-77376 FEEDER BANK UNIT F
フィーダバンク組F
1
2
#02
401-48052 FEEDER BANK F
フィーダバンクF
1
3
#01
400-77377 FEEDER BANK ASM
フィーダバンク組
(1)
4
#02
401-48051 FEEDER BANK UNIT
フィーダバンクユニット
(1)
5
#02
401-48029 FEEDER_BANK_ASSY
フィーダバンク組
(1)
6 SL-6052092-TN SCREW
座金付き六角穴ボルト
(4)
7
#01
400-77285 FIXING PLATE
フィクシングプレート
(1)
8
#02
401-48030 FIXING_PLATE
フィクシングプレート
(1)
9 400-77286 LOCK SHAFT
ロックシャフト
(1)
10 SM-6040802-TN SCREW
六角穴ボルト M4X0.7 L=8
(13)
11 400-77283 FEEDER BANK BASE
フィーダバンクベース
(1)
12 E2602-727-000 PLATE STAND L
プレートスタンド L
(1)
13 E2603-727-000 PLATE STAND R
プレートスタンド R
(1)
14 SL-6041292-TN SCREW
座金付き六角穴ボルト
(5)
15 E2513-729-000-A FIXING PLATE B
フィクシングプレートB
(3)
16 SM-4040655-SN SCREW M4X0.7 L=6
なべ小ねじ M4 L=6
(6)
17 400-77397 NUMBER PLATE
ナンバープレート
(1)
18 SM-6030552-KS SCREW
平ねじ M3 L=5
(9)
19 PJ-3080600-03 Y UNION
ユニオンY
(1)
20 400-77287 DRIVE CYLINDER BR
ドライブシリンダブラケット
(1)
21 SM-1051052-TN SCREW
皿ねじ M5 L=10
(6)
22 400-63859 DRIVE CYLINDER
ドライブシリンダー
(1)
23 SL-6051292-TN BOLT
座金付き六角穴ボルト
(6)
24 400-77282 POSITION LABEL F
ポジションラベルF
(1)
25 SL-6082592-TN BOLT
座金付き六角穴ボルト
(4)
26 400-77278 FEEDER BANK SHIM 0.2
フィーダバンクシム 0.2
(4)
27 400-77279 FEEDER BANK SHIM 0.1
フィーダバンクシム 0.1
(4)
28 400-77280 FEEDER BANK SHIM 0.05
フィーダバンクシム 0.05
(4)
29 400-77281 FEEDER BANK SHIM 0.02
フィーダバンクシム 0.02
(4)
30
#03
401-08119 FEEDER FROAT SENSOR ASSY F
フィーダ浮きセンサ組F
1
31 401-07229 FD-FLOAT(FF) SENS ASM
FD−FLOAT(FF)投光センサ組
(1)
32 SM-4040601-SC SCREW M4X0.7 L=6
なべ小ねじ M4X0.7 L=6
(2)
33 HX-0029400-00 FIXED BASE
固定ベース
(2)
34 401-07228 FD-FLOAT(FR)RECEIVE SENS ASM
FD−FLOAT(FR)受光センサ組
(1)
35 EA-9500B01-00 CABLE BAND
束線バンド
(4)
36 SL-4020881-SC SCREW M2 X 8
なべねじセムス M2 L=8
(8)
37 SL-6030892-TN SCREW M3 L=8
座金付き六角穴ボルト M3 L=8
(4)
38 401-07226 FD-FLOAT(FR) SENS ASM
FD−FLOAT(FR)投光センサ組
(1)
39 401-07828 FSD BRACKET
FSDブラケット
(2)
40 401-07225 FD-FLOAT(FF)RECEIVE SENS ASM
FD−FLOAT(FF)受光センサ組
(1)
41 E9632-715-F00 ZIPPER TUBE (GPJ-50)
ジッパーチューブ(GPJ−50)
0.25
42 EA-9500B01-00 CABLE BAND
束線バンド
2
43
#01
401-08096 FEEDER BANK UNIT R
フィーダバンク組R
1
44
#02
401-48053 FEEDER BANK R
フィーダバンクR
1
45
#01
E9632-715-F00 ZIPPER TUBE (GPJ-50)
ジッパーチューブ(GPJ−50)
(0.25)
46 400-77377 FEEDER BANK ASM
フィーダバンク組
(1)
47
#02
401-48051 FEEDER BANK UNIT
フィーダバンクユニット
(1)
48
#02
401-48029 FEEDER_BANK_ASSY
フィーダバンク組
(1)
49 E2602-727-000 PLATE STAND L
プレートスタンドL
(1)
50 E2603-727-000 PLATE STAND R
プレートスタンドR
(1)
51 SL-6052092-TN SCREW
座金付き六角穴ボルト
(4)
52
#01
400-77285 FIXING PLATE
フィキシングプレート
(1)
53
#02
401-48030 FIXING_PLATE
フィキシングプレート
(1)
54 SL-6041292-TN SCREW
座金付き六角穴ボルト
(5)
55 400-77286 LOCK SHAFT
ロックシャフト
(1)
56 SM-6040802-TN SCREW
六角穴ボルト M4X0.7 L=8
(13)
57 E2513-729-000-A FIXING PLATE B
フィクシングプレートB
(3)
58 SM-4040655-SN SCREW M4X0.7 L=6
なべ小ねじ M4 L=6
(6)
59 400-77283 FEEDER BANK BASE
フィーダバンクベース
(1)
60 400-77287 DRIVE CYLINDER BR
ドライブシリンダブラケット
(1)
61 SM-1051052-TN SCREW
皿ねじ M5 L=10
(6)
62 400-63859 DRIVE CYLINDER
ドライブシリンダ
(1)
63 SL-6051292-TN BOLT
座金付き六角穴ボルト
(6)
64 400-77397 NUMBER PLATE
ナンバープレート
(1)
65 SM-6030552-KS SCREW
平ねじ M3 L=5
(9)
66 PJ-3080600-03 Y UNION
ユニオンY
(1)
67 400-77278 FEEDER BANK SHIM 0.2
フィーダバンクシム 0.2
(4)
68 400-77279 FEEDER BANK SHIM 0.1
フィーダバンクシム 0.1
(4)
69 400-77280 FEEDER BANK SHIM 0.05
フィーダバンクシム 0.05
(4)
70 400-77281 FEEDER BANK SHIM 0.02
フィーダバンクシム 0.02
(4)
71 EA-9500B01-00 CABLE BAND
束線バンド
(3)
72 SL-6082592-TN BOLT
座金付き六角穴ボルト
(4)
73 400-77349 POSITION LABEL R
ポジションラベル R
(1)
74
#03
401-08120 FEEDER FROAT SENSOR ASSY R
フィーダ浮きセンサ組R
1
75 401-07828 FSD BRACKET
FSDブラケット
(2)
76 EA-9500B01-00 CABLE BAND
束線バンド
(4)
77 401-07231 FD-FLOAT(RR)RECEIVE SENS ASM
FD−FLOAT(RR)受光センサ組
(1)
78 401-07234 FD-FLOAT(RF)RECEIVE SENS ASM
FD−FLOAT(RF)受光センサ組
(1)
79 401-07232 FD-FLOAT(RF) SENS ASM
FD−FLOAT(RF)投光センサ組
(1)
80 SM-4040601-SC SCREW M4X0.7 L=6
なべ小ねじ M4X0.7 L=6
(2)
81 HX-0029400-00 FIXED BASE
固定ベース
(2)
82 SL-4020881-SC SCREW M2 X 8
なべねじセムス M2 L=8
(8)
83 401-07235 FD-FLOAT(RR) SENS ASM
FD−FLOAT(RR)投光センサ組
(1)
84 SL-6030692-TN SCREW M3 L=6
座金付き六角穴ボルト M3 L=6
(4)
85
#02
E9632-715-F00 ZIPPER TUBE (GPJ-50)
ジッパーチューブ(GPJ−50)
0.25
86
#02
EA-9500B01-00 CABLE BAND
束線バンド
2

- 29 -
15.FEEDER BANK COMPONENTS(BEFORE M/C REV.D)
フィーダバンク関係(マシン REV.D 以前)
29
28
26
25
27
35
21
34
33
21
21
32
31
21
30
21
22
24
23
20
38
37
37
36
1
7
6
18
17
18
19
3
4
5
9
8
15
2
14
2
13
2
12
2
11
2
16
10

- 30 -
NOTE( 注記 ) #01....FOR EN EN 用
REF.NO NOTE PART NO D E S C R I P T I O N
品 名
Qty
1 401-16833 F CONNECTOR BR ASSY RDF
FコネクタBR組RDF
1
2 SM-4850501-SC SCREW M2.5 L=5
なべ小ねじ M2.5 L=5
(20)
3 PJ-3010651-06 FEMALE UNION
メスユニオン
(10)
4 E2904-700-000 SOCKET
ソケット
(10)
5 401-16737 F CON LABEL RD
FコネクタラベルRD
(1)
6 PJ-3050600-04 TEE
チーズ
(9)
7 BT-0600400-EC URETHANE TUBE BLUE 6X4
ポリウレタンチューブ 青 6X4
(3)
8 HX-0029400-00 FIXED BASE
固定ベース
(5)
9 SM-4040601-SC SCREW M4X0.7 L=6
なべ小ねじ M4X0.7 L=6
(5)
10 SL-6040892-TN SCREW M4 L=8
座金付き六角穴ボルト M4 L=8
(4)
11 401-16305 RADIAL CB CABLE 1 ASM
ラジアルCBケーブル1組
(1)
12 401-16306 RADIAL CB CABLE 2 ASM
ラジアルCBケーブル2組
(1)
13 401-16307 RADIAL CB CABLE 3 ASM
ラジアルCBケーブル3組
(1)
14 401-16308 RADIAL CB CABLE 4 ASM
ラジアルCBケーブル4組
(1)
15 401-16309 RADIAL CB CABLE 5 ASM
ラジアルCBケーブル5組
(1)
16 401-16736 F CONNECTOR BR RD
FコネクタブラケットRD
(1)
17
#01
401-16750 BALL CHAIN
ボールチェイン
10
18
#01
SL-6030692-TN SCREW M3 L=6
座金付き六角穴ボルト M3 L=6
20
19
#01
401-16749 CONNECTOR CAP
コネクタキャップ
10
20 401-16839 F CONNECTOR BR ASSY RDR
FコネクタBR組RDR
1
21 SM-4850501-SC SCREW M2.5 L=5
なべ小ねじ M2.5 L=5
(20)
22 PJ-3010651-06 FEMALE UNION
メスユニオン
(10)
23 E2904-700-000 SOCKET
ソケット
(10)
24 401-16737 F CON LABEL RD
FコネクタラベルRD
(1)
25 PJ-3050600-04 TEE
チーズ
(9)
26 BT-0600400-EC URETHANE TUBE BLUE 6X4
ポリウレタンチューブ 青 6X4
(3)
27 HX-0029400-00 FIXED BASE
固定ベース
(5)
28 SM-4040601-SC SCREW M4X0.7 L=6
なべ小ねじ M4X0.7 L=6
(5)
29 SL-6040892-TN SCREW M4 L=8
座金付き六角穴ボルト M4 L=8
(4)
30 401-16305 RADIAL CB CABLE 1 ASM
ラジアルCBケーブル1組
(1)
31 401-16306 RADIAL CB CABLE 2 ASM
ラジアルCBケーブル2組
(1)
32 401-16307 RADIAL CB CABLE 3 ASM
ラジアルCBケーブル3組
(1)
33 401-16308 RADIAL CB CABLE 4 ASM
ラジアルCBケーブル4組
(1)
34 401-16309 RADIAL CB CABLE 5 ASM
ラジアルCBケーブル5組
(1)
35 401-16736 F CONNECTOR BR RD
FコネクタブラケットRD
(1)
36
#01
401-16750 BALL CHAIN
ボールチェイン
10
37
#01
SL-6030692-TN SCREW M3 L=6
座金付き六角穴ボルト M3 L=6
20
38
#01
401-16749 CONNECTOR CAP
コネクタキャップ
10