P-250-003e - 第167页
MODEL GXH-1J 1012-003 165 Key No. P AR T No. P AR T NAME Q’ty REMARKS New Code NOTE BL-6 558 6301269856 CORD 1 829BL-010-158 4W202864 585 6301339573 CORD(CH1CN1-X1201) 1 829BL-010-185 4W203040 586 6301339580 CORD(X1202-X…

MODEL GXH-1J
0501-001
164
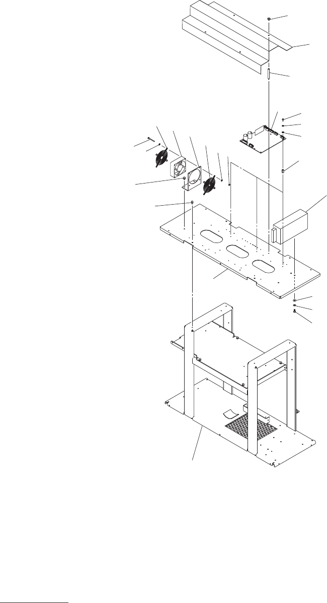
電装ボックス
L ELECTRICAL BOX L
Fig. BL-6
ケーブル
Cable
558
592
593
591
587
586
585
See Fig.BL-3
Key No.260
See Fig.BL-3
Key No.261
596
594
595
590
589
588
597
598

MODEL GXH-1J
1012-003
165
Key No. PART No. PART NAME Q’ty REMARKS New Code
NOTE
BL-6
558 6301269856 CORD 1 829BL-010-158 4W202864
585 6301339573 CORD(CH1CN1-X1201) 1 829BL-010-185 4W203040
586
6301339580 CORD(X1202-X0503) 1 829BL-010-186 4W203041
587
6301339597 CORD(X0504-X0710) 1 829BL-010-187 4W203042
588
6301339627 CORD(CH1CN2-X0101) 1 829BL-010-188 4W203045
589
6301339658 CORD(CH2CN1-X0901) 1 829BL-010-189 4W203048
590
6301339665 CORD(CH2CN2-X0101) 1 829BL-010-190 4W203049
591
6301347028 CORD(X8203-) 1 829BL-010-281 4W203117
592 6301347035 CORD(X8303-) 1 829BL-010-282 4W203118
593 6301338309 CORD 1 829BL-010-283 4W202996
594
6301338798 CORD(X8301-X87C0) 1 829BL-010-284 4W203015
595
6301338736 CORD(X8401-X88C0) 1 829BL-010-285 4W203009
596
6301338620 CORD(X8201-X89C0) 1 829BL-010-286 4W202998
597
6301338170 CORD 1 829BL-010-287 4W202983
598
6301269818 CORD 1 829BL-010-288 4W202860

MODEL GXH-1J
0501-001
166
電装ボックス
L ELECTRICAL BOX L
Fig. BL-7
コンベアドライバ
Conveyor Driver
See Fig.BL-1
Key No.55
691
.
692
.
693
664
683
620
697
690
689
688
682
674
696
695
694
686
687
687
685
673
680
679
659
680
691
.
692
.
693