PTS-NXT2-06JE.pdf - 第235页
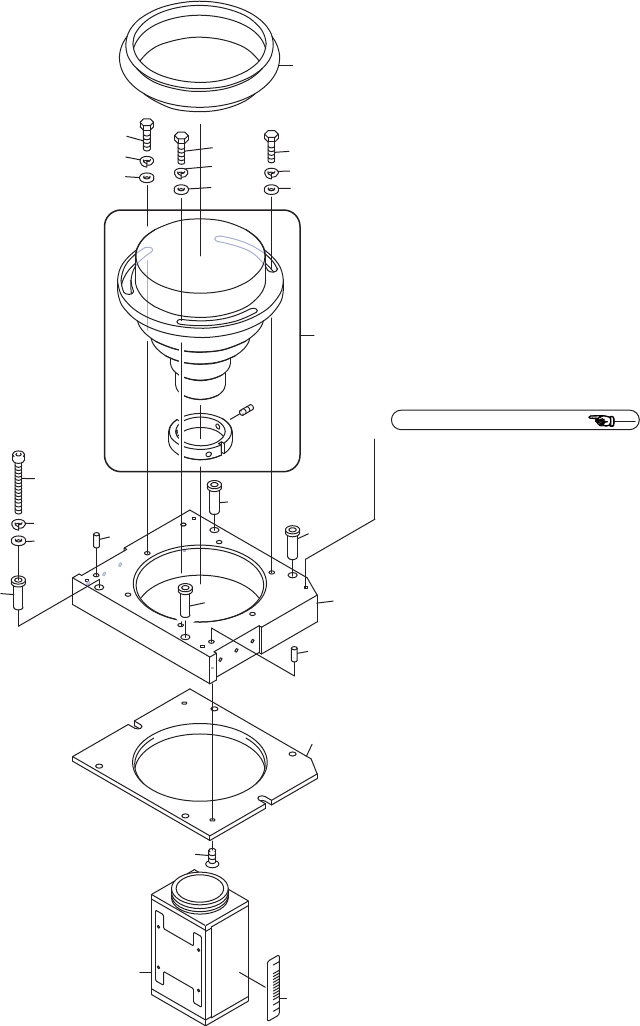
PARTS CAMERA LIGHT(HIGH RESOLUTION CAMERA) パーツカメラライト(高分解能カメラ) UG00816 No. Dr g .No. & Code No. QTY Descri p tion Ratin g Materials Remarks 番号 図番 & コード番号 個数 品名 規 格材 質 備 考 1 PB65482 1 COVER カバー FE 2 K51993 4 SCREW…

AA
Ref.PARTS CAMERA
1;79㹼ࠉࠉ$,09㹼ࠉࠉ93'SOXV9㹼
ࡇࡢ࣓࢝ࣛࣘࢽࢵࢺࡣ࣭࣭࣭࣭࣭࣭
12
15
14
13
7
6
21
20
20
22
20
20
18
17
17
22
22
22
15
15
15
16
22
15
43
44
49
8
11
10
48
2
1
5
23
3
UG00816
ࣃ࣮ࢶ࣓࢝ࣛࣛࢺ㧗ศゎ⬟࣓࢝ࣛ
3$576&$0(5$/,*+7+,*+5(62/87,21&$0(5$
234
PTS-NXT2-06JE Vol.1

PARTS CAMERA LIGHT(HIGH RESOLUTION CAMERA)
パーツカメラライト(高分解能カメラ)
UG00816
No. Dr
g
.No. & Code No. QTY Descri
p
tion Ratin
g
Materials Remarks
番号 図番 & コード番号 個数 品名
規
格材質 備考
1 PB65482 1 COVER カバー FE
2 K51993 4 SCREW, WASHER ASS'Y 小ネジ 座金組込み M03X012 ナベセムス P4(3カ シロ) FE
3 XK03144 1 COVER, GLASS カバー ガラス OT
5 AA3XK03 4 BOLT ボルト OT
6 PM98573 4 BOLT ボルト FE
7 W1022A 4 WASHER, LOCK ワッシャ ス
プ
リン
グ
4M
/
MFE
8 PM02885 4 WASHER ワッシャ FE
10 DBGC1672 8 HOLDER, LIGHT ホルダ ライト OT
11 XK05270 8 BOARD, PRINTED CIRCUIT 基板
プ
リント OT
12 XK04760 1 BOARD, PRINTED CIRCUIT 基板
プ
リント OT
13 H5282A 4 BOLT, HEX SOCKET ボルト 六角穴 M03X030 FE
14 W1021A 4 WASHER, LOCK ワッシャ ス
プ
リン
グ
3M
/
MFE
15 W1040R 8 WASHER, FLAT ワッシャ 平 3M
/
MX0.5X7(1W-3)(3カ クロ) FE
16 W1042A 4 WASHER, FLAT ワッシャ 平 4W- 3 FE
17 N4001S 16 SCREW ネジ U-2506-S1 FE
18 W10017 1 WASHER ワッシャ EE-0306-05R FE
20 S32270 4 SPACER スペーサ CZ-315 OT
21 XK04772 1 BOARD, PRINTED CIRCUIT 基板
プ
リント OT
22 N10795 8 NUT, HEX ナット 六角 M03(3カ クロ) FE
23 AA2RT10 1 LAMP ラン
プ
OT
43 PX04781 1 SEAL, BAR CODE シール バーコード OT unit serial number
44 PZ25701 1 SEAL シール PL
48 PZ37160 1 TAPE テー
プ
OT 100
p
ieces
/
set
49 PX08560 1 NAMEPLATE
銘
板OT
235
PTS-NXT2-06JE Vol.1

AA
Ref.P03 PARTS CAMERA LIGHT
1
10
10
6
10
10
12
11
1
14
7
8
9
2
4
5
3
5
4
3
3
4
5
13
15
UG01106
3ࣃ࣮ࢶ࣓࢝ࣛ
33$576&$0(5$
236
PTS-NXT2-06JE Vol.1