Operator control HS-50_20211124_032308 - 第3页
Operator control HS-50 Page 3 / 3 24.11.2021 Pos. Item no. Description Part marking 2 00351774S05 MONITOR IMD 15HS50 T3 3 00351773-01 MONITOR COLLAR SCREW 4 00351772-01 DISPLAY BEARING Spare Part 5 00315592-01 PLATE SPRI…

Operator control HS-50
Page 1 / 3 24.11.2021

Operator control HS-50
Page 2 / 3 24.11.2021

Operator control HS-50
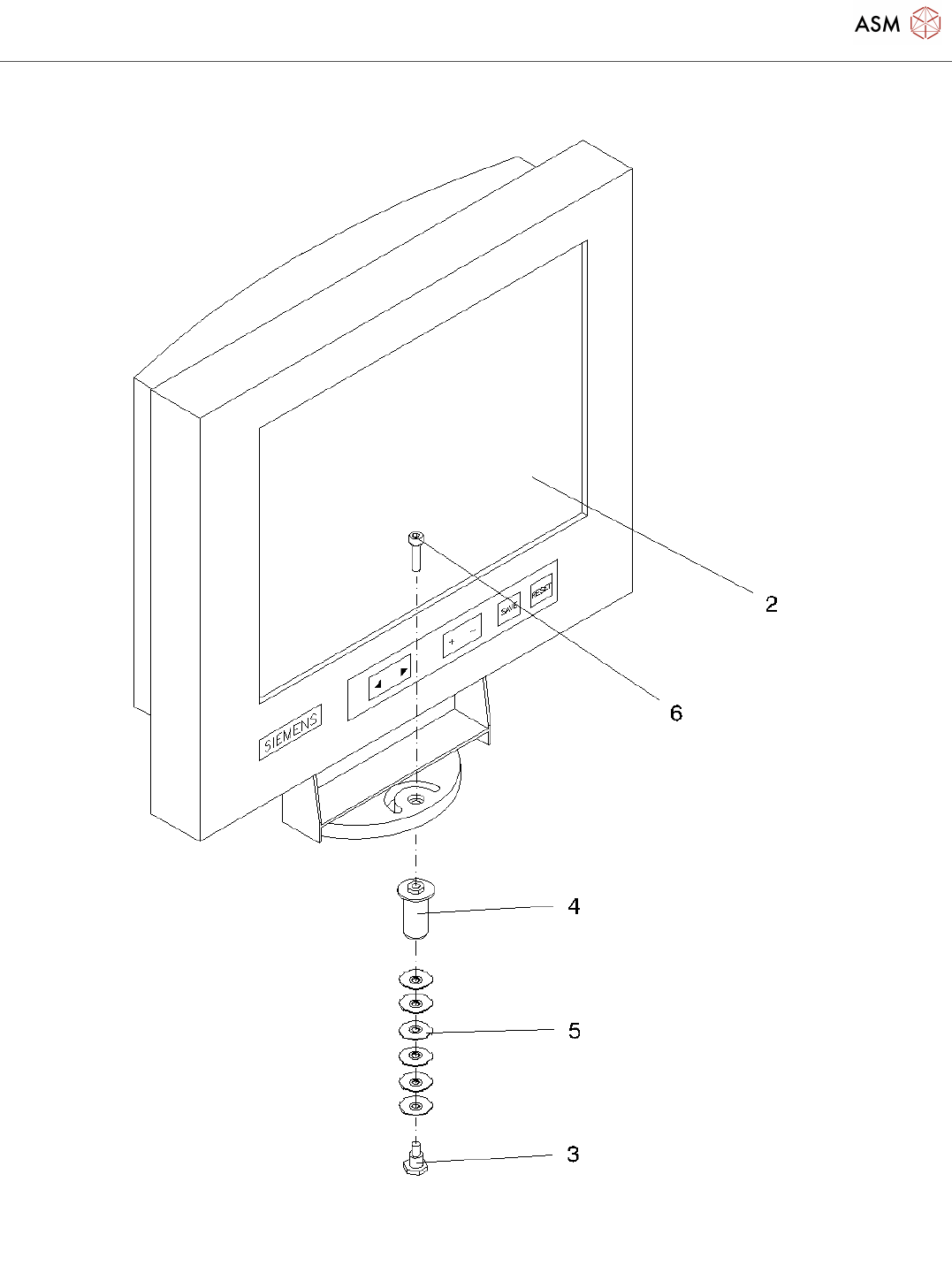
Page 3 / 3 24.11.2021
Pos. Item no. Description Part marking
2 00351774S05 MONITOR IMD 15HS50 T3
3 00351773-01 MONITOR COLLAR SCREW
4 00351772-01 DISPLAY BEARING Spare Part
5 00315592-01 PLATE SPRING 20*8.2*0.6
6 00095119-01 HEXAGON SOCKET HEAD CAP
SCREW
7 00341050-03 CABLE HS50: POWER SUPPLY
MONITOR 1
SPARE PART
8 00341071-03 CABLE HS50: POWER SUPPLY
MONITOR 2
SPARE PART
9 00321623-01 KEYBOARD SIPLACE TRACKBALL
00116078-02 COMPONENTS BARCODE VERIFIER
SCANNER DL
10 03062164-01 HANDSCANNER POWER SCAN 8330 Spare Part
03062165-01 CABLE HANDSCANNERPD8300 SPARE PART
Powered by TCPDF (www.tcpdf.org)