Single conveyor fixed side right_20211119_083044 - 第19页
Single conveyor fixed side right Page 19 / 29 19.11.2021 Pos. Item no. Description Part marking 1 00116046-03 FIXED CONVEYOR SIDE RIGHT SIPLACE 2 00332489-01 PCB CONVEYOR RIGHT, FIXED COMPL. ASS. 3 00332720-01 PCB TRANSF…

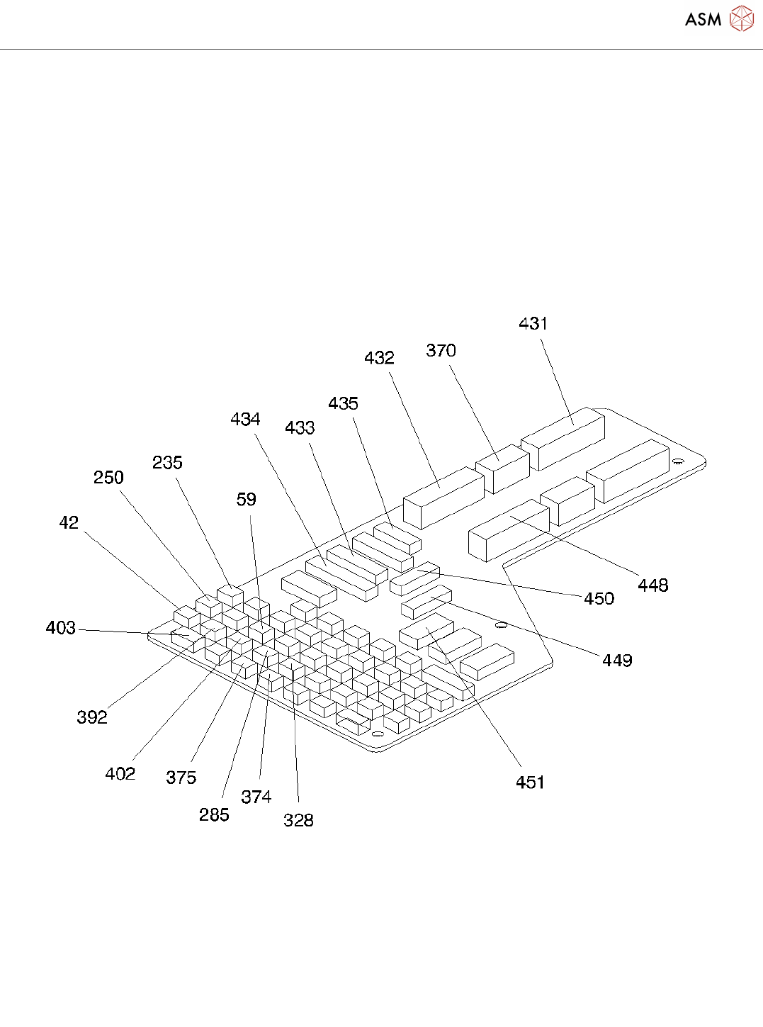
Single conveyor fixed side right
Page 18 / 29 19.11.2021

Single conveyor fixed side right
Page 19 / 29 19.11.2021
Pos. Item no. Description Part marking
1 00116046-03 FIXED CONVEYOR SIDE RIGHT
SIPLACE
2 00332489-01 PCB CONVEYOR RIGHT, FIXED
COMPL. ASS.
3 00332720-01 PCB TRANSFER CONVEYOR, FIXED
SIDE RIGHT
00329713-01 PARTS SET 4: PCB TRANSFER
CONVEYOR
5 00327859-01 GUIDE STRIP LONG: F SPARE PART
10 00327860-01 GUIDE RAIL SPARE PART
15 00200178-01 BOLT SPARE PART
16 00327877-01 BELT REVERSE, F PUSHABLE SPARE PART
24 00327878-01 BELT REVERSE, B PUSHABLE SPARE PART
32 00845014-01 HEXAGON SOCKET HEAD CAP
SCREW M3 X 8-8.8
33 00326017-03 BERO, POSITION , WIDTH 1 SPARE PART
34 00845028-01 HEXAGON SOCKET HEAD CAP
SCREW M4 X 20-8.8
35 00619847-01 PARALLEL PIN 3M5 X 20-ST
36 00845017-01 HEXAGON SOCKET HEAD CAP
SCREW
37 00200177-02 SHAFT SPARE PART
38 00200186-02 HOLDER Spare Part
39 00845019-01 HEXAGON SOCKET HEAD CAP
SCREW
40 00200333-01 TOOTHED BELT SYNCHROFLEX 6
T2,5/245
WEAR PART
41 00324405S02 MOTOR WITH SYNCHRONIZING
GEAR
SPARE PART
42 00326030-02 CABLE MOTOR OUTPUT BELT 1
44 00200182-03 MOUNT FOR MOTOR SPARE PART
45 00302026-02 ANGLE FOR TRANSFER CONVEYOR
RIGHT SIDE FIXED
46 00845014-01 HEXAGON SOCKET HEAD CAP
SCREW M3 X 8-8.8
49 00845016-01 HEXAGON SOCKET HEAD CAP
SCREW M3 X 12-8.8
50 00325918-01 BERO HOLDER SPARE PART
51 00845017-01 HEXAGON SOCKET HEAD CAP
SCREW

Single conveyor fixed side right
Page 20 / 29 19.11.2021
Pos. Item no. Description Part marking
52 00845015-01 HEXAGON SOCKET HEAD CAP
SCREW M3 X 10-8.8
53 00845015-01 HEXAGON SOCKET HEAD CAP
SCREW M3 X 10-8.8
00302029-01 ENERGY CHAIN PLASTIC
59 00326024-01 SONAR SWITCH OUTPUT BELT 1
3RGX
Spare Part
62 00325903-01 SIDE PANEL B, SHORT
63 00845014-01 HEXAGON SOCKET HEAD CAP
SCREW M3 X 8-8.8
64 00095485-01 RETAINING RING
65 00200181-01 BOLT SPARE PART
66 00200338-01 BALL BEARING 9 * 26 * 8 629-2Z WEAR PART
67 00200192S02 SYNCHRONIZING GEAR SPARE PART
70 00304837-01 SPRING TYPE STRAIGHT PIN
71 00317596-01 BUSHING FOR BEARING SPARE PART
72 00200191-02 SYNCHRONIZING GEAR SPARE PART
74 00098617S01 BALL BEARING Wear Part
75 00200183-01 WASHER SPARE PART
76 00200657-01 SLOTTED COUNTERSUNK HEAD
SCREW
77 00200193-02 SYNCHRONIZING GEAR SPARE PART
78 00200337-01 BALL BEARING 12*21*5 61801-2Z WEAR PART
79 00095488-01 RETAINING RING
80 00200198-01 DU-WASHER SPARE PART
81 00200334-01 NEEDLE SLEEVE WEAR PART
82 00200194-01 SYNCHRONIZING DISK AL13T5/13-0 SPARE PART
83 00200195-01 WASHER SPARE PART
84 00095304-01 COUNTERSUNK SCREW
DIN965-M3X6-4.8
85 00200196-02 TOOTH BELT WEAR PART
86 00325902-01 SIDE PANEL F, SHORT
87 00332731-01 PCB CONVEYOR WITH CLAMPING,
FIXED S. R.
00329710-02 PARTS SET 1: PCB CONVEYOR
RIGHT
89 00327859-01 GUIDE STRIP LONG: F SPARE PART
94 00327860-01 GUIDE RAIL SPARE PART