P-0223-001 - 第99页
97 Key No. P AR T No. P AR T NAME Q’ty REMARKS NOTE MODEL TDM-3500E-2 0209-001 5-3 1 630 028 9493 GEAR 2 687H--02H-006 2 630 000 8951 SET SCREW 4 M5X8 SET 3 630 067 1377 SHAFT 1 687H--02B-009 4 630 028 9480 GEAR 2 687H--…

MODEL TDM-3500E-2
0209-001
96
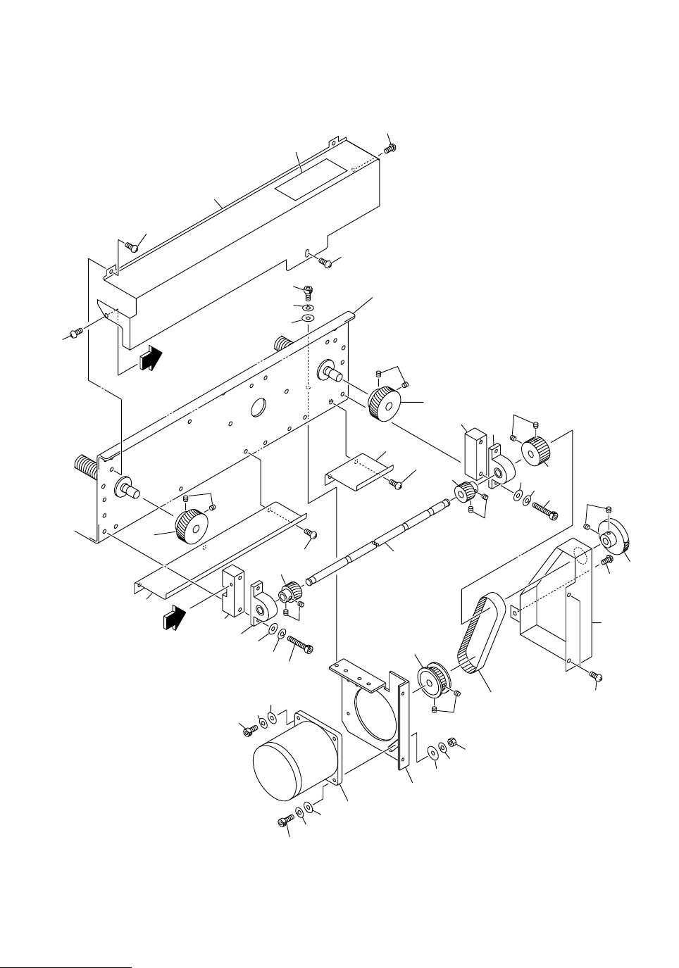
R コンベア部 R CONVEYOR SECTION
Fig. 5-3 ドライブシャフト Driving Shaft
Fig.5-3
TDM-3500E-2
6-2
6-1
5
7
4
5
4
8
9
7
8
9
2
2
43
45
45
44
1
1
3
6
6
42
42
42
42
23
22
21
36
39
37
33
27
26
25
34
28
29
30
20
27-1
26
25
24
38
37
35
17
16
41
See Fig.5-1
Key No.2
A
A
50

97
Key No. PART No. PART NAME Q’ty REMARKS
NOTE
MODEL TDM-3500E-2
0209-001
5-3
1 630 028 9493 GEAR 2 687H--02H-006
2 630 000 8951 SET SCREW 4 M5X8 SET
3 630 067 1377 SHAFT 1 687H--02B-009
4 630 028 9480 GEAR 2 687H--02H-007
5 630 008 2296 SET SCREW 4 M4X4 SET
6 630 001 1890 BEARING,UNIT 2 687H--02H-005
6 -1 630 067 3173 COLLAR 1 687H--02H-036
6 -2 630 067 3180 COLLAR 1 687H--02B-054
7 411 141 4107 WASHER V 5X10X1 4 FW5
8 411 141 6705 WASHER SPR 5 4 SW5
9 630 000 7800 BOLT,HEX-SCT 4 M5X35
16 630 056 3924 PULLEY,TIMING 1 687H--02H-041
17 630 000 8951 SET SCREW 2 M5X8 SET
20 630 065 1171 BRACKET(MOTOR) 1 687H--02B-043
21 411 141 4107 WASHER V 5X10X1 2 FW5
22 411 141 6705 WASHER SPR 5 2 SW5
23 630 000 7749 BOLT,HEX-SCT 2 M5X10
24 630 009 5869 MOTOR,STEPPING 1 PM103(CVW2),#103-8572-7041
687H--02H-040
25 411 141 4107 WASHER V 5X10X1 2 FW5
26 411 141 6705 WASHER SPR 5 2 SW5
27 630 000 7763 BOLT,HEX-SCT 1 M5X16
27 -1 630 000 7787 BOLT,HEX-SCT 1 M5X25
28 630 001 0220 WASHER 1 687H--02H-027
29 411 141 6705 WASHER SPR 5 1 SW5
30 411 141 0505 NUT HEX 5 1 M5
33 630 056 3917 PULLEY,TIMING 1 687H--02H-042
34 630 000 8951 SET SCREW 2 M5X8 SET
35 630 048 9668 BELT,TIMING 1 687H--02H-043
36 630 056 2798 COVER(R) 1 687H--02B-044
37 411 051 1708 SCR TRS 4X6 3 M4X6 TRS
38 630 035 8384 BOSS(HANDLE) 1 687H--02B-047
39 411 051 1708 SCR TRS 4X6 2 M4X6 TRS
41 630 084 8465 COVER 1 687H--02B-018
42 630 000 8920 SET SCREW 5 M4X6 SET
43 630 067 3142 SUPPORT 1 687H--02B-059
44 630 067 3166 SUPPORT 1 687H--02B-060
45 411 051 1708 SCR TRS 4X6 5 M4X6 TRS
50 630 082 6166 NAME PLATE,PARTS 5 687H--02B-061

MODEL TDM-3500E-2
0209-001
98
R コンベア部 R CONVEYOR SECTION
Fig. 5-4 基板検出部, 基板ストッパ P.C.B.Detector, P.C.B.Stopper
See Fig.5-1
Key No.57
1-3
3-2
3-1
2
8
7
6
8
7
6
9-3
9-2
9-1
9-3
9-2
9-1
8
7
6
9-3
9-2
9-1
1-1
3-4
3-3
3-2
3-4
1-2
1
1
3-1
19
16
15
11
17
18
13
12
3-2
2
3-1
3-3
3-4
3-2
3-1
3-1
2
3-2
3-3
1
3-2
3-1
Fig.5-4
TDM-3500E-2
14