_ built in up SN B-089_20211124_030356 - 第2页
~ built in up SN B-089 Page 2 / 7 24.11.2021

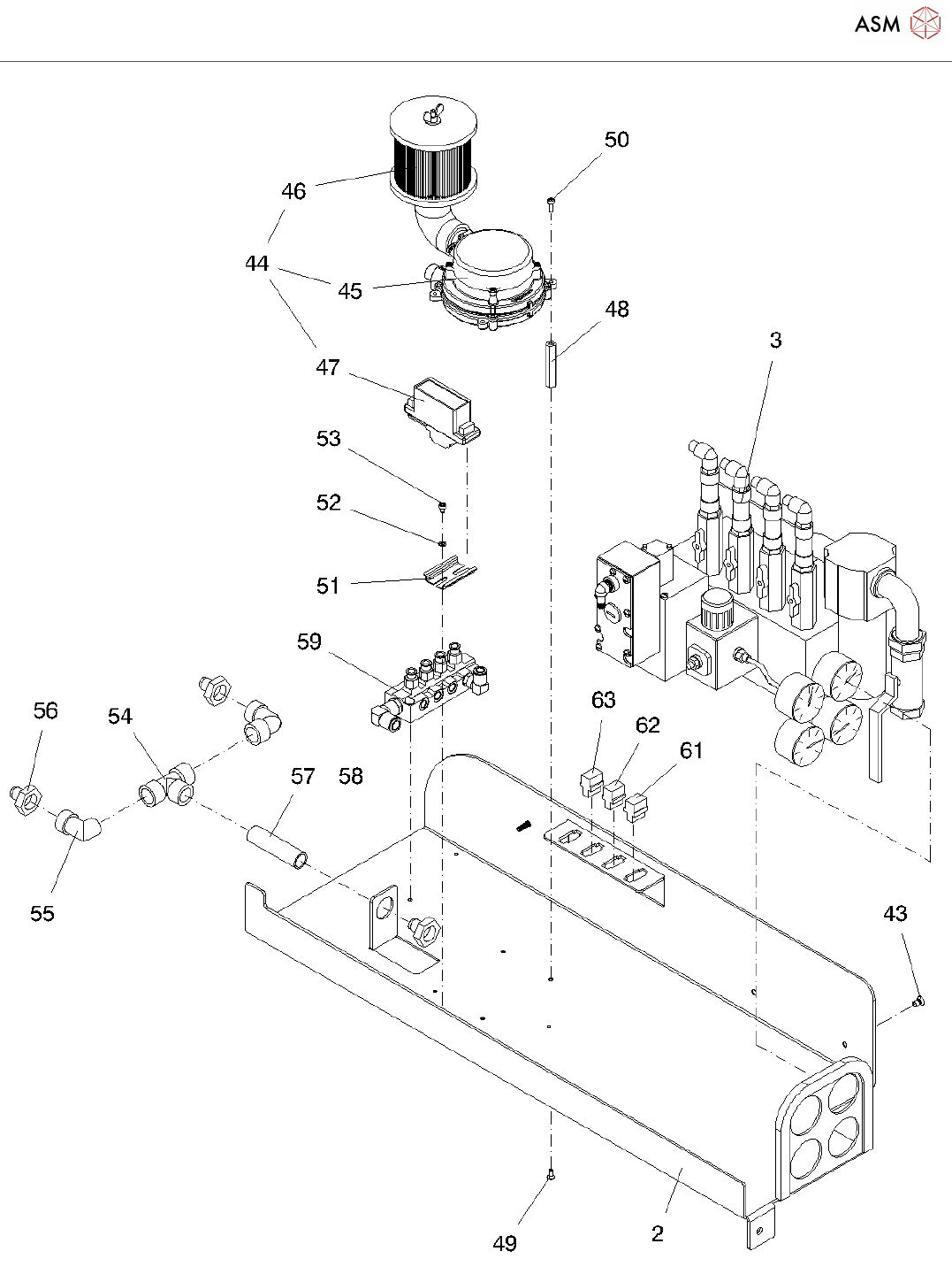
~ built in up SN B-089
Page 1 / 7 24.11.2021

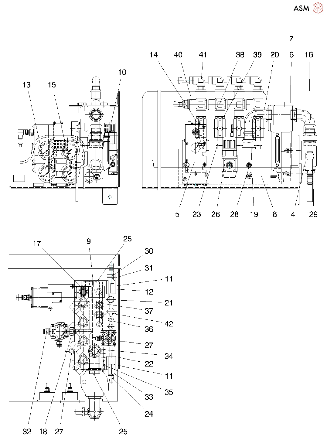
~ built in up SN B-089
Page 2 / 7 24.11.2021

~ built in up SN B-089
Page 3 / 7 24.11.2021
~ built in up SN B-089 Page 2 / 7 24.11.2021


