JP-0001-001.pdf - 第9页

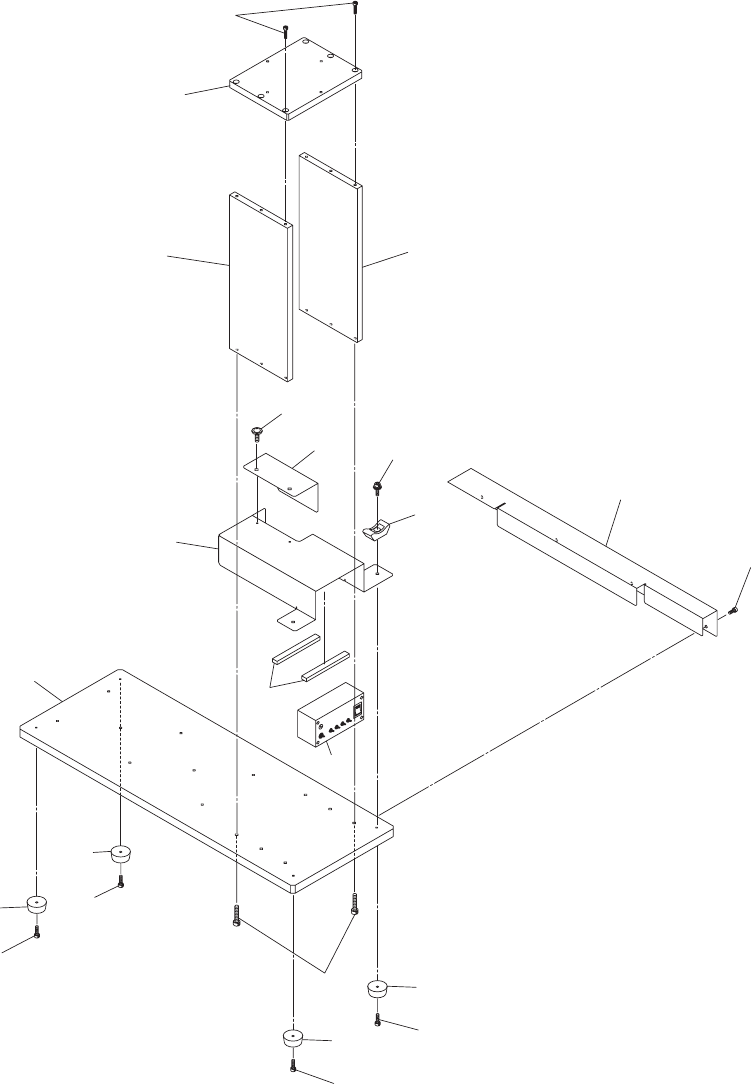
1005-001 7 Key No. P AR T No. P AR T NAME Q’ty REMARKS New Code 7 6301746319 BASE(T ABLE) 1 1 1 932B--010-007 210A3139 8 6301746210 PLA TE 2 2 2 932B--010-008 21 1DE667 13 6301746500 BASE 1 1 932B--010-013 210A3140 13 63…

100%1 / 32
1005-001
6
13
37
39
38
62
64
51
62
75
62
75
86
81
73
79
77
62
77
36
8
8
7
72
75
76
治具本体部
JIG MAIN BODY SECTION
Fig. B-1
ベース部
Base Section
1005-001
7
Key No. PART No. PART NAME Q’ty REMARKS New Code
7 6301746319 BASE(TABLE) 1 1 1 932B--010-007 210A3139
8 6301746210 PLATE 2 2 2 932B--010-008 211DE667
13 6301746500 BASE 1 1 932B--010-013 210A3140
13 6301710365 BASE 1 932B--020-013 210A3097
36 6301667270 COVER 1 932B--020-036 211AC947
37 6301623719 COVER 1 1 1 932B--010-037 211AC681
38 6301623726 COVER 1 1 1 932B--010-038 211AC682
39 6301627236 SHEET 2 2 2 932B--010-039 211H0440
51 6301544311 TOOL,MEASURE 1 1 1 932B--010-051 228B0149
62 6300126686 MECH PARTS(RUBBER LEGS) 4 4 4 932B--010-112 226J0184
64 6301741185 ACCESSORY,WIRING 1 1 1 932B--010-114 23N30731
72 4110512804 SCR TRS 4X8 4 4 4 932B--010-212 221E0533
73 6300007749 BOLT,HEX-SCT 2 2 2 932B--010-213 221A0029
75 6300007763 BOLT,HEX-SCT 8 8 8 932B--010-215 221A0031
76 6300007770 BOLT,HEX-SCT 6 6 6 932B--010-216 221A0032
77 6300007787 BOLT,HEX-SCT 2 2 2 932B--010-217 221A0033
79 4111408007 SCR TRS 5X6 2 2 2 932B--010-219 221E0536
81 4111416705 WASHER SPR 5 2 2 2 932B--010-231 221H0287
86 4111414107 WASHER V 5X10X1 2 2 2 932B--010-236 221H0318
JG-0209
JG-0209E
JG-0209J
B-1
1005-001
8
155
155
143
144
145
101
103
102
105
104
170
167
167
175
181
215
190
195
177
191
196
162
189
194
163
189
194
141
142
142
See Fig. B-1
Key No.7
117
135
135
170
140
195
170
190
195
治具本体部
JIG MAIN BODY SECTION
Fig. B-2 XY
テーブル部
XY TAble Section