JP-0001-001.pdf - 第12页
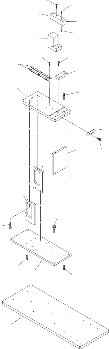
1005-001 10 See Fig. B-1 Key No.13 206 287 282 272 264 264 224 211 209 210 218 230 225 226 267 282 287 266 261 273 255 252 281 286 232 266 281 286 222 264 281 286 治具本体部 JIG MAIN BODY SECTION Fig. B-3 フィーダセット部 Feeder Set …

1005-001
9
Key No. PART No. PART NAME Q’ty REMARKS New Code
JG-0209
JG-0209E
JG-0209J
101 6300387667 PLATE(COLUMN-1) 1 1 1 932B--010-001 211DE664
102 6300387780 PLATE(COLUMN-2) 1 1 1 932B--010-002 211DE665
103 6300387793 PLATE(COLUMN-3) 1 1 1 932B--010-003 211DE666
104 6301746234 BRACKET(LIGHTING U/T) 1 1 1 932B--010-004 211FE526
105 6301746272 BLOCK(MICROSCOPE-HOLDER) 1 1 1 932B--010-005 211G6253
117 6301746333 COLLAR(LOCATE) 1 1 1 932B--010-017 216A1656
135 6301449555 PLATE 2 2 2 932B--010-035 211DB523
141 6301741246 TOOL,MEASURE(XY-AXIS) 1 1 1 932B--010-101 228B0153
142 6301544267 TOOL,MEASURE 2 2 2 932B--010-102 228B0147
143 6301699127 UNIT,CAMERA 1 1 1 932B--010-103 4U220101
144 6301741147 SCOPE UNIT 1 1 1 932B--010-104 4Z100174
145 6301723556 LIGHTING UNIT 1 1 1 932B--010-105 4Z110232
155 6301748214 ACCESSORY,WIRING 3 3 3 932B--010-115 23N30733
162 6300007527 BOLT,HEX-SCT 2 2 2 932B--010-202 221A0007
163 6300007503 BOLT,HEX-SCT 4 4 4 932B--010-203 221A0005
167 4110352707 SCR FLT 4X8 3 3 3 932B--010-207 221D0225
170 6300007664 BOLT,HEX-SCT 9 9 9 932B--010-210 221A0021
175 6300007763 BOLT,HEX-SCT 4 4 4 932B--010-215 221A0031
177 6300007787 BOLT,HEX-SCT 2 2 2 932B--010-217 221A0033
181 6300007893 BOLT,HEX-SCT 1 1 1 932B--010-221 221A0044
189 4111412806 WASHER SPR 3 6 6 6 932B--010-229 221H0281
190 4111412905 WASHER SPR 4 9 9 9 932B--010-230 221H0284
191 4111416705 WASHER SPR 5 2 2 2 932B--010-231 221H0287
194 4111413902 WASHER V 3X7X0.5 6 6 6 932B--010-234 221H0312
195 4111414008 WASHER V 4X9X0.8 9 9 9 932B--010-235 221H0315
196 4111414107 WASHER V 5X10X1 2 2 2 932B--010-236 221H0318
B-2

1005-001
10
See Fig. B-1
Key No.13
206
287
282
272
264
264
224
211
209
210
218
230
225
226
267
282
287
266
261
273
255
252
281
286
232
266
281
286
222
264
281
286
治具本体部
JIG MAIN BODY SECTION
Fig. B-3
フィーダセット部
Feeder Set Section

1005-001
11
Key No. PART No. PART NAME Q’ty REMARKS New Code
206 6301746302 BASE 1 1 1 932B--010-006 210A3138
209 6301746289 BLOCK(UNDER-JIGU) 1 1 1 932B--010-009 211G6254
210 6301746296 BLOCK(UPPER-JIGU) 1 1 1 932B--010-010 211G6255
211 6301746227 PLATE 1 1 1 932B--010-011 211DE668
218 6301706054 PIN,LOCATE 1 1 1 932B--010-018 216E1748
222 6301258539 PLATE 1 1 1 932B--010-022 211D9493
224 6301741543 PLATE 1 1 1 932B--010-024 211DE653
225 6301741550 PLATE 1 1 1 932B--010-025 211DE654
226 6301741567 PLATE 1 1 1 932B--010-026 211DE655
230 6301474625 PLATE 2 2 2 932B--010-030 211DB811
232 6301263489 BLOCK 1 1 1 932B--010-032 211G3478
252 6300007527 BOLT,HEX-SCT 6 6 6 932B--010-202 221A0007
255 6300304701 SET SCREW 1 1 1 932B--010-205 221C0044
261 6300007671 BOLT,HEX-SCT 2 2 2 932B--010-211 221A0022
264 6300007756 BOLT,HEX-SCT 8 8 8 932B--010-214 221A0030
266 6300007770 BOLT,HEX-SCT 4 4 4 932B--010-216 221A0032
267 6300007787 BOLT,HEX-SCT 4 4 4 932B--010-217 221A0033
272 6300007909 BOLT,HEX-SCT 6 6 6 932B--010-222 221A0045
273 6300008982 SET SCREW 1 1 1 932B--010-223 221C0011
281 4111416705 WASHER SPR 5 10 10 10 932B--010-231 221H0287
282 4111413001 WASHER SPR 6 6 6 6 932B--010-232 221H0289
286 4111414107 WASHER V 5X10X1 10 10 10 932B--010-236 221H0318
287 4111414305 WASHER V 6X12.5X1.6 6 6 6 932B--010-237 221H0320
JG-0209
JG-0209E
JG-0209J
B-3