P-293-004e.pdf - 第43页
0801-002 1 2 3 22 55 ・ 62 ・ 58 4 5 14 51 ・ 59 52 ・ 60 ・ 56 21 23 9 54 ・ 61 ・ 57 BLOCK4 32 10 25 26 46 45 46 44 48 47 48 47 内が本体対応箇所です。 The explanation in brackets is for the locations to be treated in the main machine. 7…

0801-002
2
3
4
22
5
21
9
52
60
56
23
10
7
6
13
8
1
54
.
.
.
.
.
.
.
.
.
.
.
61
57
52
60
56
51
59
55
62
58
53
61
57
14
BLOCK1
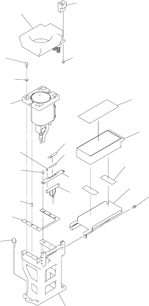
D-1 illust-3
架台上全体
OVERALL UPPERFRAME
Fig. D-1
部品認識カメラ
1,4 Recognition Camera 1,4
(G -S052-10,Case:Block4)
(G -S052-10,Case:Block4)

0801-002
1
2
3
22
55
・
62
・
58
4
5
14
51
・
59
52
・
60
・
56
21
23
9
54
・
61
・
57
BLOCK4
32
10
25
26
46
45
46
44
48
47
48
47
内が本体対応箇所です。
The explanation in brackets is for the locations to be treated in the main machine.
71
D-1 illust-4
架台上全体
OVERALL UPPERFRAME
Fig. D-1
部品認識カメラ
1,4 Recognition Camera 1,4
(G -S052-10,Case:Block4)
(G -S052-10,Case:Block4)

1004-004
Key No. PART No. PART NAME Q’ty REMARKS New Code
NOTE
D-1
D-1 list-1
1 6301565538 BASE 2 845D--100-101 210A2857
2 6301572499 SPACER 2 845D--100-102 211E1084
3 6300842708 PIN,LOCATE 4 845D--100-103 216E0832
4 6301281650 PLATE 2 845D--100-104 211D9700
5 6301360652 PLATE 2 845D--100-105 211DA514
6 6301579733 BRACKET 2 1 845D--100-106 211FC562
7 6301242484 MECH PARTS(MAGNETIC TAPE) 4 2 845D--100-107 226J1873
8 6301242538 BOX 2 1 845D--100-108 211B0951
9 6300703665 ACCESSORY,P.C.B 8 845D--100-109 23L10051
10 6301576848 BLOCK 2 845D--100-110 211G5378
13 6301271989 SHEET 2 1 845D--100-113 211H0308
14 6301571584 BLOCK 2 845D--100-114 211G5353
21 6301558127 ASSY,SCOPE UNIT 2 B61(1),B61(4)
845D--100-201 0Z100028
22 6301246598 LIGHTING UNIT 2 845D--100-202 4Z110137
23 6301427331 LIGHTING UNIT 2 845D--100-203 4Z110184
25 6301340968 BLOCK 1 845LE-110-010 211G3923
26 6301145273 PLATE 1 845LE-110-011 211D8367
32 6301408125 BLOCK 1
803D-A210170-A002
211G4348
33 6301335940 PLATE 1
803D-A210170-A003
211DA233
34 6301378503 SHAFT 1
803D-A210170-A004
213A1218
35 6301336091 SHAFT 1
803D-A210170-A005
213A1165
36 6301263533 PIN,LOCATE 1
803D-A210170-A006
216E1478
37 6300364156 SET SCREW 1
803D-A210170-A007
221C0051
44 6301340869 STAY 1
845DXA100070-A004
211J1270
45 6301340920 BOX 1
845DXA100070-A005
211B1033
46 6301611709 PLATE 2
845DXA100070-A006
211DD044
47 6300763225 SENSOR,PELEC 1 -B925T,-B925R
845DXA100070-A007
23G00161
48 6300763249 SENSOR,PELEC 1
845DXA100070-A008
23G00162
51 6300007510 BOLT,HEX-SCT 4 M3X8 845D--100-501 221A0006
52 6300007633 BOLT,HEX-SCT 8 M4X12 845D--100-502 221A0018
53 6300007756 BOLT,HEX-SCT 4 M5X12 845D--100-503 221A0030
54 6300007770 BOLT,HEX-SCT 8 M5X20 845D--100-504 221A0032
55 6300008036 BOLT,HEX-SCT 8 M8X30 845D--100-505 221A0058
56 4111414008 WASHER V 4X9X0.8 8 845D--100-506 221H0315
57 4111414107 WASHER V 5X10X1 12 845D--100-507 221H0318
58 4111414503 WASHER V 8X17X1.6 8 845D--100-508 221H0323
59 4111412806 WASHER SPR 3 4 845D--100-509 221H0281
60 4111412905 WASHER SPR 4 8 845D--100-510 221H0284
61 4111416705 WASHER SPR 5 12 845D--100-511 221H0287
62 4111413100 WASHER SPR 8 8 845D--100-512 221H0291
71 6301596839 ASSY,CORD 1
845DXA100030-A151
0W201776
GXH-3PH
G -S051-04
G -S052-10