Conveyour modul Single-lane_20211117_100435 - 第6页
Conveyour modul Single-lane Page 6 / 6 17.11.2021 Pos. Item no. Description Part marking 1 ASM_1002 SPI SX-F STANDARD SC 2 ASM_1003 BASE MODULE SX-F FRONT FIXED_MOD-YU 3 03106079-01 WA BRECOFLEX TIMING BELT 10T5/1700 4 A…

Conveyour modul Single-lane
Page 4 / 6 17.11.2021

Conveyour modul Single-lane
Page 5 / 6 17.11.2021

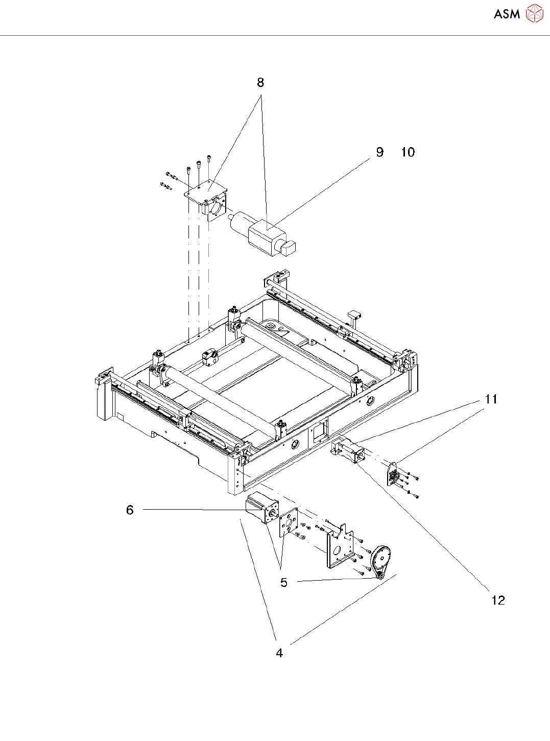
Conveyour modul Single-lane
Page 6 / 6 17.11.2021
Pos. Item no. Description Part marking
1 ASM_1002 SPI SX-F STANDARD SC
2 ASM_1003 BASE MODULE SX-F FRONT
FIXED_MOD-YU
3 03106079-01 WA BRECOFLEX TIMING BELT
10T5/1700
4 ASM_1004 TRANSFER DRIVE CMPL_MOD-YU
5 ASM_1005 TRANSFER MOTOR CMPL_MOD-YU
6 03104157S01 BLM-6080-24 MOTOR
7 ASM_1006 LIFTING TABLE ASSY_MOD-YU
8 ASM_1007 BLDC GEAR MOTOR MODULE SX-
F&P CMPL_MOD-YU
9 03064983S01 BLDC MOTOR WITH PLG AND BRAKE SPARE PART
10 03064983S01 BLDC MOTOR WITH PLG AND BRAKE SPARE PART
11 ASM_1008 WB DRIVE CMPL_MOD-YU
12 03104156S01 BLM-4280-24 MOTOR
13 03106565-02 E-SERIES CONVEYOR STOPPER UNIT
Powered by TCPDF (www.tcpdf.org)