00193927-01 - 第170页
4 Felállítás és üzembe helyezés Üzemeltetési útmutató SIPLACE HF-sorozat 4.5 Az automata felállítása Software-verzió: SR .505.xx Kiadás: 05/2004 HU 170 Æ Csava rja be a "HS50 " gépláb m enetét a távta rtó alsó …

Üzemeltetési útmutató SIPLACE HF-sorozat 4 Felállítás és üzembe helyezés
Software-verzió: SR.505.xx Kiadás: 05/2004 HU 4.5 Az automata felállítása
169
4.5.4.1 A "HS50" géplábak magasságának előzetes beállítása
Először a "HS50" géplábak előzetes beállítását kell elvégezni. A távtartót megfelelő helyzetben,
az automata magasságától függően az alsó oldalra kell felcsavarozni.
830 mm-es nyomtatott áramköri lap-szállítási magasság beállítása 4
A 830 mm-es nyomtatott áramköri lap-szállítási magassághoz nem szükséges távtartó.
Æ Lehetőleg mélyen csavarja be a "HS50" géplábat az erre a célra kialakított menetbe (lásd
5. pontot a 4.5 - 2
ábrán).
900 mm-es nyomtatott áramköri lap-szállítási magasság beállítása 4
A 900 mm-es nyomtatott áramköri lap-szállítási magassághoz távtartó szükséges.
Æ Úgy állítsa be, hogy a 90 mm-es oldal függőlegesen álljon és a "HS50" gépláb furata lefelé
mutasson.
4
4
4
4
4
4
4
4
4
4
4
4
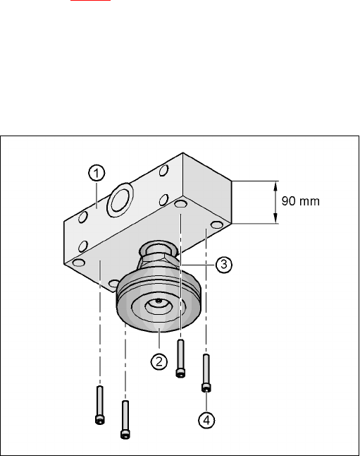
4.5 - 3 ábra A távtartó beigazítása 900 mm-es szállítási magassághoz
4
(1) Távtartó-magasság 90 mm
(2) "HS50" gépláb
(3) Ellenanya M24
(4) Imbuszcsavar, M12x80, 4 darab

4 Felállítás és üzembe helyezés Üzemeltetési útmutató SIPLACE HF-sorozat
4.5 Az automata felállítása Software-verzió: SR.505.xx Kiadás: 05/2004 HU
170
Æ Csavarja be a "HS50" gépláb menetét a távtartó alsó oldalán található furatba.
Æ A gép alján mindkét távtartót a következőképpen igazítsa be:
– A pneumatika-fiók oldalán lévő távtartó nyílása a nyomtatott áramköri laptovábbítási
irányba mutat (lásd 4. pontot a 4.5 - 2
ábrán, a 168. oldalon).
– Az áramellátó-fiók oldalán lévő távtartó nyílása a nyomtatott áramköri laptovábbítási
irányával ellentétes irányba mutat (lásd 3. pontot a 4.5 - 2
ábrán, a 168. oldalon).
Æ Rögzítse mindkét távtartót egyenként négy darab M12x80 méretű imbuszcsavarral (lásd
4. pontot a 4.5 - 3
ábrán). Ehhez használja a 10 mm-es kulcsméretű csavarhúzóbetétet.
930 mm-es és 950 mm-es nyomtatott áramköri lap-szállítási magasság beállítása 4
A 930 mm-es és a 950 mm-es nyomtatott áramköri lap-szállítási magassághoz is szükséges
távtartó.
Æ Úgy állítsa be a távtartót, hogy a 122,5 mm-es oldal függőlegesen álljon és a "HS50" gépláb
furata lefelé mutasson.
4
4.5 - 4 ábra A távtartó beigazítása a 930 és a 950 mm-es szállítási magassághoz
4
(1) Távtartó-magasság 122,5 mm
(2) "HS50" gépláb
(3) Ellenanya M24
(4) Imbuszcsavar, M12x80, 4 darab

Üzemeltetési útmutató SIPLACE HF-sorozat 4 Felállítás és üzembe helyezés
Software-verzió: SR.505.xx Kiadás: 05/2004 HU 4.5 Az automata felállítása
171
Æ Csavarja be a "HS50" gépláb menetét a távtartó alsó oldalán található furatba.
Æ Mindkét távtartót a következőképpen igazítsa be:
– A pneumatika-fiók oldalán lévő távtartó nyílása a nyomtatott áramköri laptovábbítási
irányba mutat (lásd 4. pontot a 4.5 - 2
ábrán, a 168. oldalon).
– Az áramellátó-fiók oldalán lévő távtartó nyílása a nyomtatott áramköri laptovábbítási
irányával ellentétes irányba mutat (lásd 3. pontot a 4.5 - 2
ábrán, a 168. oldalon).
Æ Rögzítse mindkét távtartót egyenként négy darab M12x80 méretű imbuszcsavarral (lásd
4. pontot a 4.5 - 4
ábrán). Ehhez használja a 10 mm-es kulcsméretű csavarhúzóbetétet.
4.5.4.2 A géplábak magasságának előzetes beállítása
4
4.5 - 5 ábra A géplábak magasságának el
ő
zetes beállítása