00193927-01 - 第255页
Üzemeltetési útmutató SIPLA CE HF-sorozat 6 AR-kezelés Software-verzió: SR.505.xx Kiadás: 05/2004 HU 6.2 A szállítók m ű szaki adatai 255 UT ALÁS – A kézi tray a követk ez ő helyek re szere lhet ő fel: HF-automat a: 2. é…

6 AR-kezelés Üzemeltetési útmutató SIPLACE HF-sorozat
6.2 A szállítók műszaki adatai Software-verzió: SR.505.xx Kiadás: 05/2004 HU
254
6.2.16 Felületi tárak tartója (kézi tálca)
A felületi tárak tartójával tudják az egyes felületi tárak az alkatrészeket átvenni. A felületi tárakat
kézzel kell kicserélni. 6
6
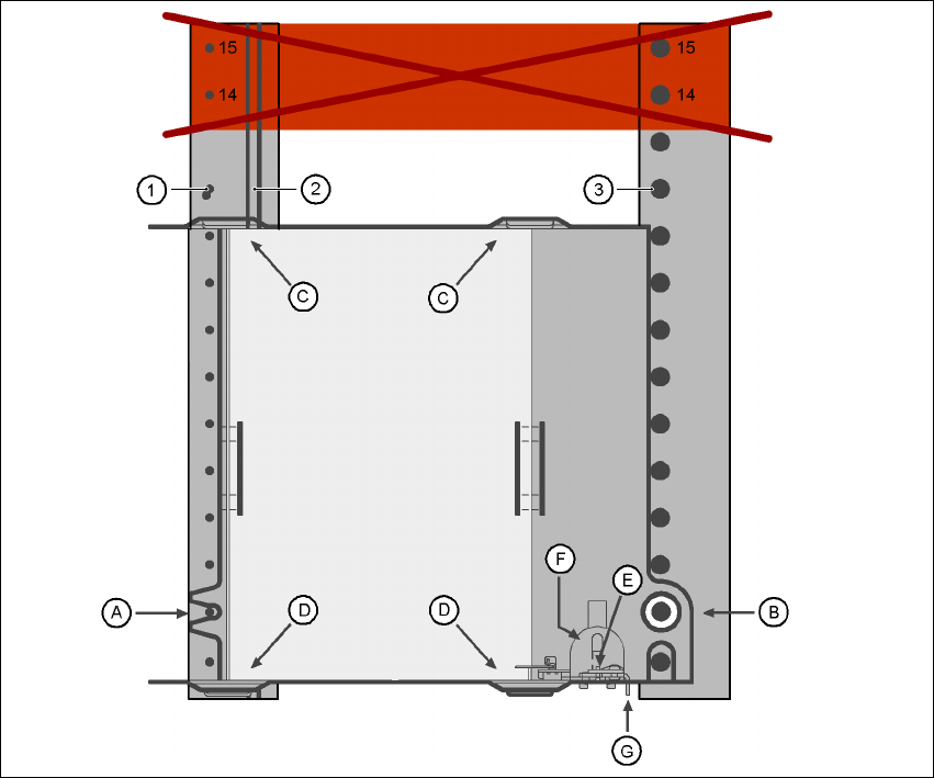
6.2 - 16 ábra Be-/kiszerelés
(1) Központosító-stiftek
(2) Mágneses léc
(3) Központosító hüvely
(14), (15) Ezt a pozíciót tilos elfoglalni.
6
A felületi tárak tartóját úgy kell az AR-asztalra állítani, mint egy szállítót. Két különböző
kivitelezésű tartó van, amelyek szélességben különböznek egymástól. 6
Tartó a nagyobbik felületi tárhoz (260 mm x 360 mm, 9 helyet foglal el)
Cikkszám: 00116430-01 és 6
Tartó a kisebbik felületi tárhoz (136 mm x 360 mm, 5 helyet foglal el)
Cikkszám: 00116432-01 6

Üzemeltetési útmutató SIPLACE HF-sorozat 6 AR-kezelés
Software-verzió: SR.505.xx Kiadás: 05/2004 HU 6.2 A szállítók műszaki adatai
255
UTALÁS
– A kézi tray a következő helyekre szerelhető fel:
HF-automata: 2. és 4. hely
HF/3-automata: 2. hely
Az alkatrészasztalon a 14. és 15. szállítópozíciót
nem
szabad elfoglalni.
– A 4. helyen a kézi tray és a pipettacserélő nem használható egyidejűleg.
– Az alkatrészkocsi felszerelt tray esetén nem csatlakoztatható fel vagy le.
6.2.16.1 Összeszerelés
Æ Helyezze a felületi tárak tartójának elejét a hozzátartozó központosító-stiftbe (A a 6.2 - 16
ábrán).
Æ Azután helyezze a "felületitárak tartójá"-nak hátoldalán lévő furatot az alkatrészasztal
központosító hüvelyére (B a 6.2 - 16
ábrán).
Æ Ellenőrizze, hogy a "felületitárak tartója" síkban felfeküdjön az alkatrészasztalra.
Æ Helyezze be a felületi tártartó egyik oldalát a tartóba (C a 6.2 - 16ábrán). Most nyomja be
a másik oldalt a tartóba (D a 6.2 - 16
ábrán).
Æ Tolja a felületi tárat ütközésig (E a 6.2 - 16. ábrán).
Æ Rögzítse a felületi tártartót úgy, hogy a nyomólapot (F a 6.2 - 16. ábrán) lefelé nyomja.
Æ A felületi tártartó eltávolításához újból nyomja meg a nyomólapot.
MEGJEGYZÉS
A "kis felületitár tartójá"-nál (136 mm) egy felületitár (JEDEC-/ CENELEC-felületitár) közvetlenül
a tartóra szerelhető, tehát felületitár-tartó nélkül szerelhető fel. Ehhez cserélje ki a leszorító
szerkezetet. 6
FIGYELEM! 6
Az üzembiztonság feltétele, hogy minden helyet szállítóval kell ellátni.
Amennyiben nem áll rendelkezésre elegendő szállító, akkor az üres helyeket benyúlás elleni
védelemmel (Dummy-adagoló) kell ellátni. Felületitár (kézi tray) felszerelése esetén is benyúlás
elleni védelemmel kell biztosítani a szabadon maradó helyeket.

6 AR-kezelés Üzemeltetési útmutató SIPLACE HF-sorozat
6.2 A szállítók műszaki adatai Software-verzió: SR.505.xx Kiadás: 05/2004 HU
256
6.2.16.2 A leszorító szerkezet cseréje
Æ Tartsa határozottan a leszorító szerkezetet (G a 6.2 - 16. ábrán). Nyomja lefelé a nyomólapot
(F a 6.2 - 16
. ábrán) és vegye ki a leszorító szerkezetet úgy, hogy oldalt kinyomja.
6.2.16.3 Adatbevitel
Határozza meg a felületi tárat, ahogy az a SIPLACE Pro üzemeltetési útmutatóban le van írva. 6
6.2.17 Dip-modul
6
6.2 - 17 ábra Dip-modul
(1) Dip-modul
(2) Forgó tányér
(3) Lehúzókés
6.2.17.1 A Dip-fluxálás elve
A Dip-modul (1. tétel) Flip-chip és CSP-alkatrészeknek forrasztózsírral vagy vezetőképes
ragasztóval történő bekenésére szolgál. A forrasztózsír tartója egy forgó tányér (2. tétel), amin a
lehúzókéssel (3. tétel) vékony forrasztózsír-réteget (pl. 40 µm) hoznak létre. Ez az eljárás
alkalmas nagy viszkozitású (mézszerű) forrasztózsírhoz is. A folyamathoz szükséges