00193927-01 - 第284页
7 Állomásb ő vítések Üzemelte tési útmutató SIPLACE HF- sorozat 7.1 Pipettacseré l ő Software-verzió: SR.505.xx Kiadás: 05/2004 HU 284 7.1.1.9 Szerel ő készlet a "2. sor" pipett acserél ő számára A "2. sor…

Üzemeltetési útmutató SIPLACE HF-sorozat 7 Állomásbővítések
Software-verzió: SR.505.xx Kiadás: 05/2004 HU 7.1 Pipettacserélő
283
UTALÁS
A tárat úgy kell behelyezni, hogy a központosító peckek a központosító furatba (3. poz.) és
a hosszirányú lyukba (4. poz.) csússzanak. 7
Æ Helyezze először a tárat a pipetta számozott - 1, 2, 3, és 4-es oldalával a tartóra.
A tartókapocsnak (2. poz.) a tár nyílásába kell csúsznia.
Æ Nyomja el a rugóskampót tártól.
Æ Nyomja a tárat egyszerűen a tartóra és engedje el a rugós kampót. A rugós kampónak be kell
kattannia.
7.1.1.8 Helyfelismerés
A pipettacserélő minden tára rendelkezik pozíciójellel a helyzetfelismeréshez.
7
7.1 - 7 ábra Pipettacserél
ő
- Helyfelismerés
(1) Pozíciójel
(2) A pipetták helye a tárban a pozíciójelhez képest

7 Állomásbővítések Üzemeltetési útmutató SIPLACE HF-sorozat
7.1 Pipettacserélő Software-verzió: SR.505.xx Kiadás: 05/2004 HU
284
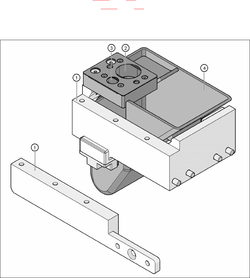
7.1.1.9 Szerelőkészlet a "2. sor" pipettacserélő számára
A "2. sor" pipettacserélő a következő helyekre szerelhető fel:
HF-automata: 1. és 3. hely (lásd 7.1 - 2
ábra, 276. oldal)
HF/3-automata: 1., 3. és 4. hely (lásd 7.1 - 3
ábra, 277. oldal)
A kiegészítő csomag a pipettacserélő mellett tartalmaz egy szerelőkészletet és egy pipettalehúzó
készüléket ürítőtartállyal együtt.
7
7.1 - 8 ábra Szerel
ő
készlet a "2. sor" pipettacserél
ő
számára
(1) Szerelőkészlet a "2. sor" pipettacserélő számára
(2) Pipettalehúzó készülék 8xx típusú pipettákhoz
(3) Pipettalehúzó készülék 9xx típusú pipettákhoz
(4) Pipettaledobó tartály

Üzemeltetési útmutató SIPLACE HF-sorozat 7 Állomásbővítések
Software-verzió: SR.505.xx Kiadás: 05/2004 HU 7.1 Pipettacserélő
285
7.1.2 Pipettacserélő a 6 szegmenses Collect&Place-fejhez
Ez a pipettacserélő max. 6 tárat tud befogadni, egyenként 6 pipetta-garázzsal. Két tártípus áll
rendelkezésre: 8xx típusú pipetták tára 9xx típusú pipetták tára. A tárak egy közös tartón
helyezkednek el. Két hengeres szeggel vannak központosítva és szorítókkal vannak rögzítve.
7
7.1 - 9 ábra Pipettacserél
ő
a 6 szegmenses Collect&Place-fejhez
7.1.2.1 Műszaki adatok
7
Pipettacserélő a 6 szegmenses Collect&Place-fejhez
Méretek (hosszúság x szélesség x magasság) 448 x 122,5 x 97,7 mm³
A pipetta-garázsok darabszáma 6
Pipetta-típusok 8xx, 9xx
A zárólemez kinyitásának és lezárásának ideje < 200 ms
Sűrített levegő csatlakozóhely 0,48 MPa (4,8 bar)