00193927-01 - 第294页
7 Állomásb ő vítések Üzemelte tési útmutató SIPLACE HF- sorozat 7.1 Pipettacseré l ő Software-verzió: SR.505.xx Kiadás: 05/2004 HU 294 7.1.2.9 Szerel ő készlet a "2. sor" pipett acserél ő számára A "2. sor…

Üzemeltetési útmutató SIPLACE HF-sorozat 7 Állomásbővítések
Software-verzió: SR.505.xx Kiadás: 05/2004 HU 7.1 Pipettacserélő
293
7.1.2.8 Helyfelismerés
A pipettacserélő minden tára rendelkezik pozíciójellel a helyzetfelismeréshez.
7
7.1 - 15 ábra Pipettacserél
ő
- Helyfelismerés
(1) Pozíciójel
(2) A pipetták helye a tárban a pozíciójelhez képest

7 Állomásbővítések Üzemeltetési útmutató SIPLACE HF-sorozat
7.1 Pipettacserélő Software-verzió: SR.505.xx Kiadás: 05/2004 HU
294
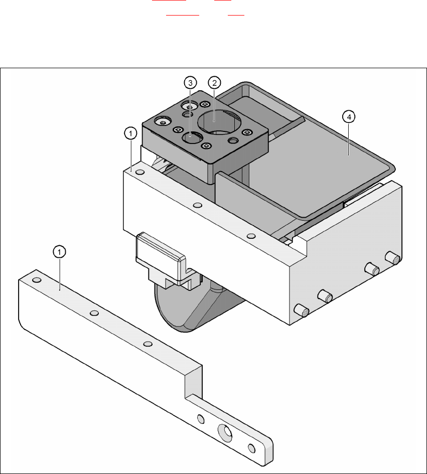
7.1.2.9 Szerelőkészlet a "2. sor" pipettacserélő számára
A "2. sor" pipettacserélő a következő helyekre szerelhető fel:
HF-automata: 1. és 3. hely (lásd 7.1 - 10
ábra, 286. oldal)
HF/3-automata:1., 3. és 4. hely (lásd 7.1 - 11
ábra, 287. oldal)
A kiegészítő csomag a pipettacserélő mellett tartalmaz egy szerelőkészletet és egy pipettalehúzó
készüléket ürítőtartállyal együtt.
7
7.1 - 16 ábra Szerel
ő
készlet a 2. pipettacserél
ő
számára
(1) Szerelőkészlet a "2. sor" pipettacserélő számára
(2) Pipettalehúzó készülék 8xx típusú pipettákhoz
(3) Pipettalehúzó készülék 9xx típusú pipettákhoz
(4) Pipettaledobó tartály

Üzemeltetési útmutató SIPLACE HF-sorozat 7 Állomásbővítések
Software-verzió: SR.505.xx Kiadás: 05/2004 HU 7.1 Pipettacserélő
295
7.1.3 Pipettacserélő a SIPLACE TwinHead számára
Ez a pipettacserélő max. 12 pipettatárat tud befogadni. Két tártípus áll rendelkezésre: Standard
tár és különleges pipettákhoz vagy megfogóhoz való tár. A tárak egy közös tartón helyezkednek
el. Két hengeres szeggel vannak központosítva és két süllyesztett fejű csavarral vannak rögzítve.
7
7.1 - 17 ábra Pipettacserél
ő
a SIPLACE TwinHead számára
7
7
7.1.3.1 Műszaki adatok
7
Pipettacserélő a SIPLACE TwinHead számára
Méretek (hosszúság x szélesség x magasság) 448 x 68,5 x 49 mm³
A pipetta-garázsok darabszáma 16 standard pipettákhoz
4 különleges pipettákhoz vagy
megfogókhoz
Pipetta-típusok 5xx, standard
4xx adapterrel
9xx adapterrel
Pipettacsere-idő < 2 s