00193927-01 - 第324页
7 Állomásb ő vítések Üzemelte tési útmutató SIPLACE HF- sorozat 7.8 NYÁK-beigazí tás Software-verzió: S R.505.xx Kiadás: 05/2004 HU 324 7.8.2 Funkció-leírás A nyomtat ott ára mköri lap a beül tet ő terüle tre szá llítód …

Üzemeltetési útmutató SIPLACE HF-sorozat 7 Állomásbővítések
Software-verzió: SR.505.xx Kiadás: 05/2004 HU 7.8 NYÁK-beigazítás
323
7.8 NYÁK-beigazítás
7.8.1 Általános tudnivalók
A feldolgozandó nyomtatott áramköri lapok hosszúság/szélesség aránya olykor 1:2 vagy
kedvezőtlenebb. Ez azt jelenti, hogy a NYÁK rövidebb oldal mutat a NYÁK szállítási irányba.
A szállítás alatt az ilyen nyomtatott áramköri lapok kissé elfordulhatnak, így az illesztőjelek
a NYÁK-kamera keresőablakán kívülre kerülhetnek. A "NYÁK-beigazítás" opció gondoskodik
róla, hogy ezek a nyomtatott áramköri lapok ismét pontosan a stophelyzetben álljanak.
Amennyiben a szállítási irányban nyílásokkal rendelkező nyomtatott áramköri lapokat dolgoznak
fel, akkor az mechanikus stopperrel rendelkező automatáknál (HS-50, S-25 HM, F5 HM) és olyan
automatáknál, amik ezt a helyzetet lézer-fénysorompóval ellenőrzik (HF, HS-60, S-27 HM)
különböző, eltérő megmunkálási helyzetekhez vezethet. A "NYÁK-beigazítás" opcióval
biztosítható, hogy a nyomtatott áramköri lapok minden NYÁK szállítószalag (konvejor) esetében
ugyanabban a pozícióban álljanak meg. A "NYÁK-beigazítás" opció kapható az egyszeres és
a dupla szállítószalaghoz is.
7
7.8 - 1 ábra NYÁK-beigazítás
(1)Emelőasztal
(2)NYÁK-ütköző
7 Állomásbővítések Üzemeltetési útmutató SIPLACE HF-sorozat
7.8 NYÁK-beigazítás Software-verzió: SR.505.xx Kiadás: 05/2004 HU
324
7.8.2 Funkció-leírás
A nyomtatott áramköri lap a beültetőterületre szállítódik, amíg a lézer-fénysorompó ki nem adja
a stop-jelet NYÁK szállítószalagnak (konvejor). Azután az emelőasztal a NYÁK-ütközőkkel
felemelkedik egy felső helyzetbe, amiben a nyomtatott áramköri lap még nincs befogva és így
a szállítószalag még mozgathatja. A két NYÁK-ütköző a nyomtatott áramköri lap magasságában
található, a NYÁK-alátámasztások (mágneses csapok) már érintik a nyomtatott áramköri lapot.
A két szállítószalag a nyomtatott áramköri lapot a NYÁK-ütközőknek ütközteti, ezalatt beigazítva
azt. Azután az emelőasztal a felső véghelyzetbe emelkedik, befogja a nyomtatott áramköri lapot
és eloldja azt a NYÁK-ütközőktől, hogy az ütközők ne befolyásolják a beültetési folyamatot.
A beültetési folyamat után az emelőasztal és a NYÁK-beigazító lesüllyed és a nyomtatott
áramköri lap továbbhalad.
7

Üzemeltetési útmutató SIPLACE HF-sorozat 7 Állomásbővítések
Software-verzió: SR.505.xx Kiadás: 05/2004 HU 7.9 Szállító-borítólapka
325
7.9 Szállító-borítólapka
A szállító-borítólapkát az AR-bevezető terület fölé szerelik. Arra szolgál, hogy megakadályozza,
a fej a szállító olyan kiálló leszorító szerkezetébe ütközzön, ami előzőleg nem pattant be
megfelelően a helyére. Ezenkívül a szállító-borítólapkával kizárható, hogy a szállítók elülső oldala
a szakszerűtlen kezelés következtében a beültetőfej mozgástartományába kerüljön.
7
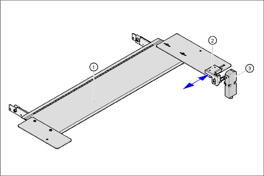
7.9 - 1 ábra Szállító-borítólapka az 1. és 3. helyre
(1)Szállító-borítólapka
(2)Mechanikus reteszelés
(3)Kapcsoló a VÉSZ-ÁLLJ-körben
A szállító-borítólapka két kivitelben kapható: egy változat az 1. vagy 3. helyre, egy másik változat
a 2. vagy 4. helyre.
A szállító-borítólapka kapcsolója bekapcsolódik a VÉSZ-ÁLLJ-körbe. A szállító-borítólapkát
mechanikus reteszelni kell. Ekkor a kapcsoló zárja a nyitott VÉSZ-ÁLLJ-kört.