Maintenance Manual - 第168页
AV131 MAINTENANCE MANUAL 7.11 Pneum atic Unit D79MEC- Z0-300- A0 7.1 1-1 7.11. Pneumati c Unit D79MEC -Z0- 3 00- A0 7.11. 1 Cut W aste Bottle Unit No. N610070306A A Inspection Perio d No . Item T ask Descrip tion Wee k…

AV131
MAINTENANCE MANUAL
7.10 Cutter Unit
D79MEC-Z5-200-A0
7.10-2
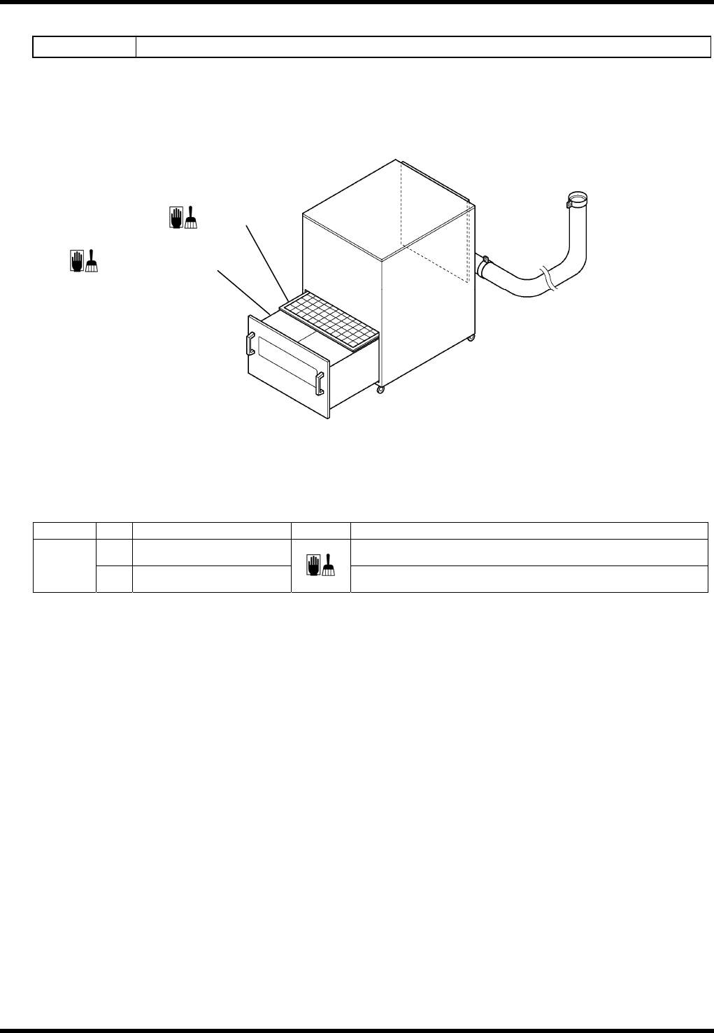
7.10.2 Dust Collecting Box
Unit No. N610060949AA
Inspection
Period No. Item Task Description
a. Dust collecting box Dispose of cut waste.
Daily
b. Filter
Remove dirt or dust.
a. Dust collecting box
b. Filter

AV131
MAINTENANCE MANUAL
7.11 Pneumatic Unit
D79MEC-Z0-300-A0
7.11-1
7.11. Pneumatic Unit
D79MEC-Z0-300-A0
7.11.1 Cut Waste Bottle
Unit No. N610070306AA
Inspection
Period No. Item Task Description
Weekly a. Filter
Clean the filter using air blow.
(Replace it if damaged.)
a. Filter

AV131
MAINTENANCE MANUAL
7.11 Pneumatic Unit
D79MEC-Z0-300-A0
7.11-2
7.11.2 Pneumatic Circuit
Unit No. N610060943AA
Inspection
Period No. Item Task Description
b. Main pressure Make sure that air pressure is at 0.5 MPa.
Daily
c. Pneumatic circuit Make sure that there is no air leakage.
Weekly a. Oil level
Make sure that the oil level is between the maximum
and minimum limits.
Oiling
Period
No
.
Item Task
Oiling
volume
Description
Daily 1. Pneumatic circuit
Designated
lubrication
10 drops Refer to the instructions below.
Lubrication from Lubricator to Machine
Press the feed-oil button located on the left side of the
front cover for 10 seconds every 10 to 12 hours.
The lubricator has been factory adjusted so that
about 10 drops of oil will be dropped by pressing
this button for 10 seconds.
If oil does not drop even though the machine is
operated in the automatic mode, loosen the drop
control knob.
IN
Drop control knob
OUT
Oil supply port
a. Oil level
Hand valve
Air input
To machine
Air supply unit
b. Main pressure
Feed-oil
button