Maintenance Manual - 第99页
AV131 MAINTENANCE MANUAL 4.2 Pneum atic Cont rols D79MEC- 14-030-A0 4.2- 4

AV131
MAINTENANCE MANUAL
4.2 Pneumatic Controls
D79MEC-14-030-A0
4.2-3
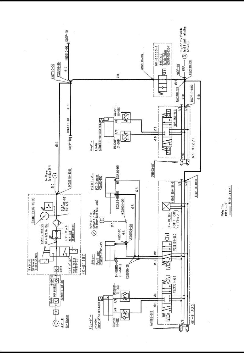
4.2.2 Pneumatic Circuit Diagram

AV131
MAINTENANCE MANUAL
4.2 Pneumatic Controls
D79MEC-14-030-A0
4.2-4

AV131
MAINTENANCE MANUAL
4.2 Pneumatic Controls
D79MEC-14-030-A0
4.2-5