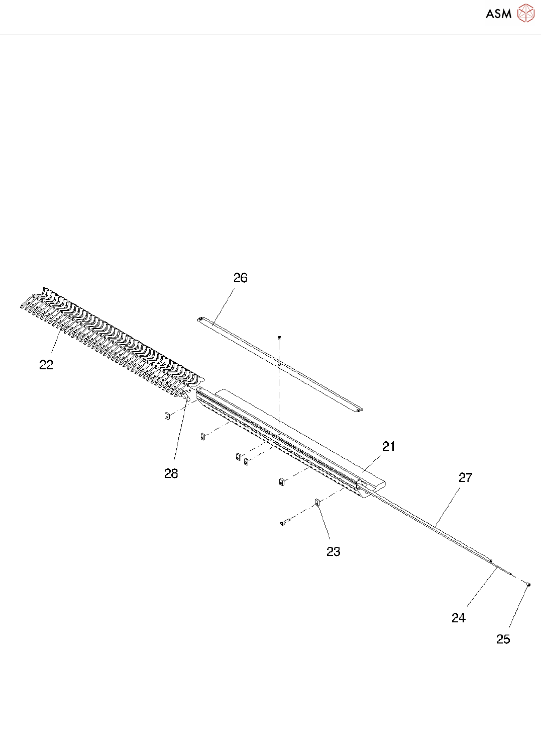
Components carriage X-series_20211124_031209 - 第8页
Components carriage X-series Page 8 / 12 24.11.2021

Components carriage X-series
Page 7 / 12 24.11.2021

Components carriage X-series
Page 8 / 12 24.11.2021

Components carriage X-series
Page 9 / 12 24.11.2021