00194103-01 - 第199页
User Manual SIPLAC E F5 HM 7 Options Software Vers ion SR.408.xx 03/2006 U S Edition 7.7 Nozzle changer for the Pick&Place head 199 7.7 Nozzle chan ger for the Pick&P lace head 7.7. 1 Ove rview Fig. 7.7 - 1 Insta…

7 Options User Manual SIPLACE F5 HM
7.6 Multicolor PCB camera (type 18) Software Version SR.408.xx 03/2006 US Edition
198
– Blue oblique lighting:
In most cases, this can be used to greatly improve the contrast with bright fiducials on a light
base material, such as ceramic or CEM (c
omposite electrochemical materials). Fiducials cov-
ered with solder resist can also be detected better on a light background.
– Infrared lighting
This type of illumination is particularly useful for fiducials that are covered with solder resist or
for fiducials on flex materials. It is also sometimes possible to improve detection of silver/plat-
inum fiducials on ceramic. This should be tested by carrying out a test centering or placement
run.

User Manual SIPLACE F5 HM 7 Options
Software Version SR.408.xx 03/2006 US Edition 7.7 Nozzle changer for the Pick&Place head
199
7.7 Nozzle changer for the Pick&Place head
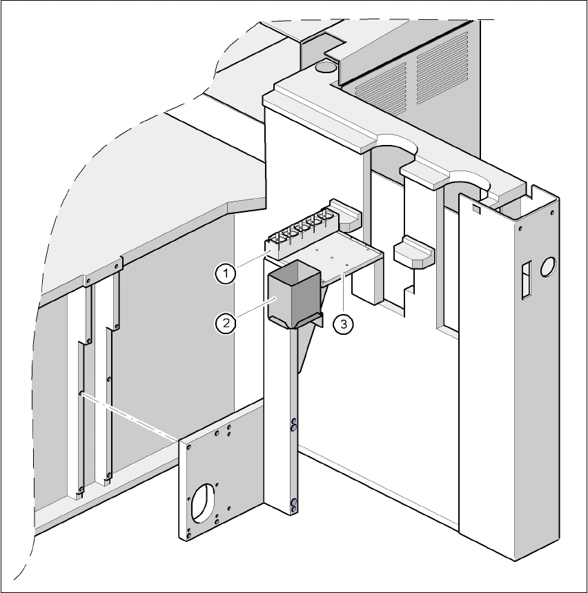
7.7.1 Overview
Fig. 7.7 - 1 Installation location of the nozzle changer for the Pick&Place head
(1) Magazine for 5 nozzles
(2) Reject bin
(3) Support plate

7 Options User Manual SIPLACE F5 HM
7.7 Nozzle changer for the Pick&Place head Software Version SR.408.xx 03/2006 US Edition
200
The SIPLACE F5 HM placement machine is equipped with a nozzle changer for the Pick&Place
head as standard. It is supplied with a nozzle magazine for five nozzles, for example four stan-
dard nozzles from the 4xx series and one special nozzle. Three additional nozzle magazines
may be retrofitted if required, providing up to 20 nozzles.
7.7.2 Technical data - Nozzle changer for the Pick&Place head
7.7.3 Description of the functions
7
Fig. 7.7 - 2 Nozzle changer overview
7
Nozzle types All nozzles from the 4xx series, special nozzle (optional)
Capacity 1 to 4 magazines, each with 5 nozzles, may be configured as
required
Nozzle changeover time approx. 2 sec. per nozzle
(1) Positioning fiducial
(2) Nozzle garage
(3) Reject bin
(4) Magazine 1 (standard)
(5) Magazine 2 to 4 (optional)