文档中心
/
Config SPS_20211122_064946
Config SPS_20211122_064946 - 第31页
Config SPS Page 31 / 46 22.11.2021
目录
100%
显示:宽度
宽度
1 / 46
回到旧版
旧版
?
Config SPS
Page 30 / 46
22.11.2021
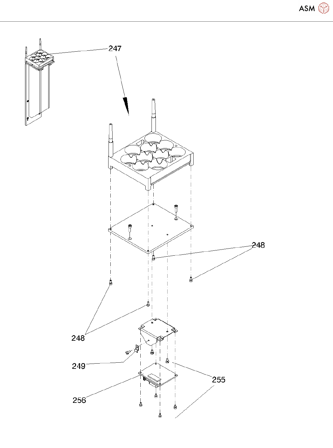
Config SPS
Page 31 / 46
22.11.2021
Config SPS
Page 32 / 46
22.11.2021
该页面需要启用 JavaScript 才能进行交互式预览。