N7202A057B12(1)DX-partlist2 - 第295页

Ref No. Remarks R 1 Q'ty 17-C 4ノズルヘ ッド 4 Nozz le Head イラスト No. Part No. 品 名 品 番 数量 R 2 パーツリスト Kit No. キット品番 Kit Name キット名称 N610167833AA Part Nam e 備 考 セク ション No . PARTS LIST Section No. R 3 PLATE 4 1 MTPA009818AA HO…

100%1 / 454
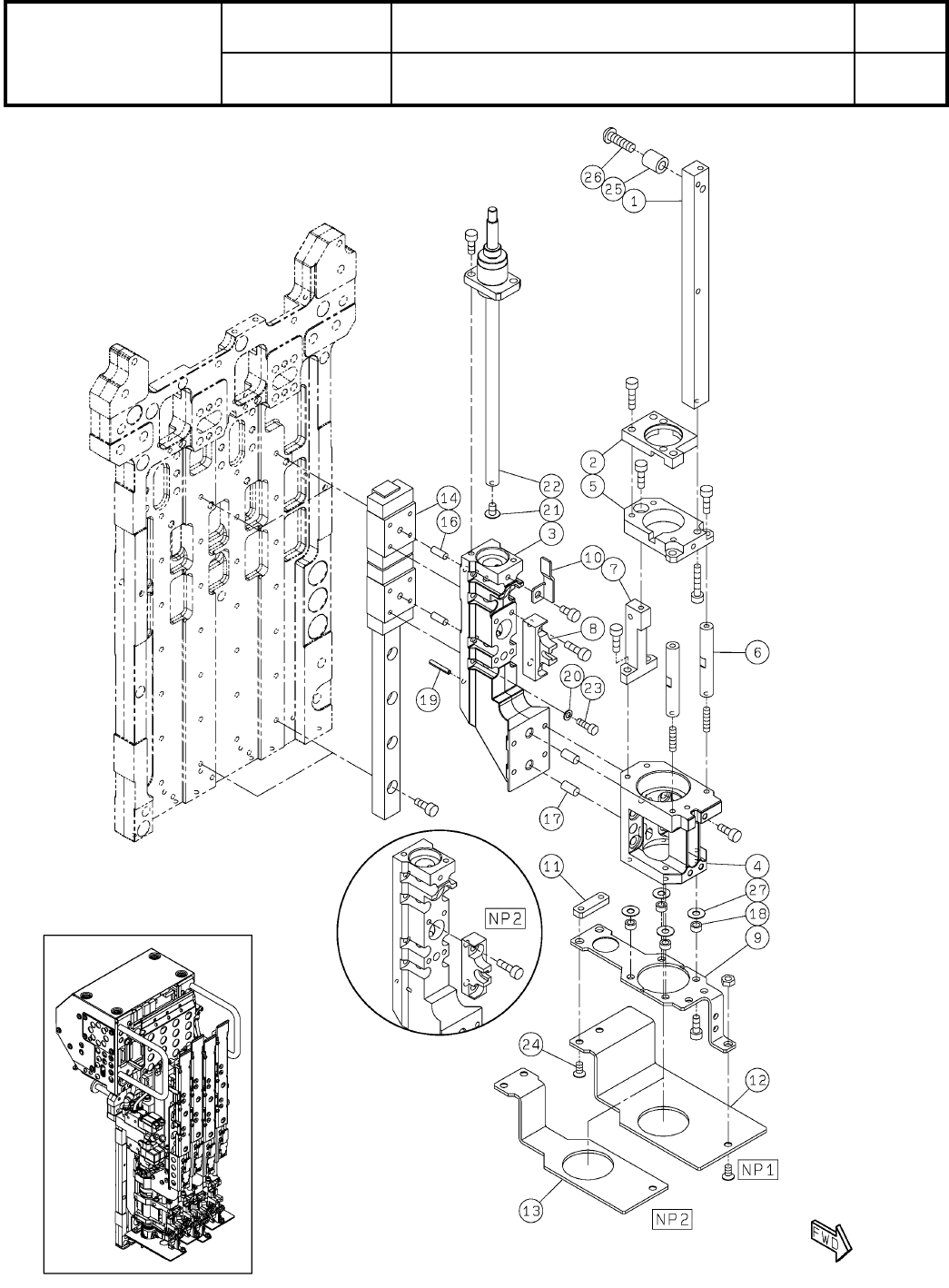
17-C
4ノズルヘッド
4 Nozzle Head
パーツレイアウト
Kit No.
キット品番
Kit Name
キット名称
N610167833AA
セクションNo.
PARTS LAYOUT
Section No.
--
O69
( KN610167833AA-12-3 )
Ref
No.
Remarks R
1
Q'ty
17-C
4ノズルヘッド
4 Nozzle Head
イラスト
No.
Part No.
品  名品  番 数量
R
2
パーツリスト
Kit No.
キット品番
Kit Name
キット名称
N610167833AA
Part Name
備   考
セクションNo.
PARTS LIST
Section No.
R
3
PLATE
4
1 MTPA009818AA
HOLDER
2
2 MTKP003182AB
HOLDER
2
3 MTKP003183AB
COUPLING
4
4 N210199414AD
WASHER
4
5 N210200236AA
PLATE
2
6 MTPA006206AA
MOTOR
2
7 MTNM000021AB
S
R2GA02D15FCSP2
NUT
4
8 MTNK001843AA KR20 Lock nut
BEARING
4
9 N510069570AA AC5-14DF
SCREW
12
10 N510018225AA
Cross recessed Truss head machine screw M2.5X4-4.8 A2J (Trivalent)
MOTOR
2
11 MTNM000022AB
S
R2GA02D15FCSP3
SPACER
2
12 MTNK000577AA ASL-317.5E
BOLT
8
13 N510017247AA
Hexagon socket head cap screw M2.5X8-10.9 A2J (Trivalent)
PIN
8
14 N510020589AA MMS3-8
BOLT
16
15 N510067765AA Low Head Cap Screw M3X8-8.8 A2J(Trivalent)
SCREW
2
16 N510018251AA
Cross recessed Truss head machine screw M3X5-4.8 A2J (Trivalent)
BOLT
8
17 N510067884AA Ultra Low Head Cap Screw M3X5-8.8 SOB
BOLT
4
18 N510018824AA
Hexagon socket button head screw M3X12-10.9 A2J (Trivalent)
WASHER
2
19 N510033229AA CC-0308-05
SENSOR
2
20 MTNS000145AA PM-K65
O70
--
( KN610167833AA-12-3 )
17-D
4ノズルヘッド
4 Nozzle Head
パーツレイアウト
Kit No.
キット品番
Kit Name
キット名称
N610167833AA
セクションNo.
PARTS LAYOUT
Section No.
--
O71
( KN610167833AA-12-4 )