N7202A057B12(1)DX-partlist2 - 第233页
Ref No. Remarks R 1 Q'ty 3 付属品(延長コンベア):NPM-DX Attachment(Extension C onveyor):NPM -DX イラスト No. Part No. 品 名 品 番 数量 R 2 パーツリスト Kit No. キット品番 Kit Name キット名称 MTKA011381AA Part Nam e 備 考 セク ション No . PARTS LIST Section N…

3
付属品(延長コンベア):NPM-DX
Attachment(Extension Conveyor):NPM-DX
パーツレイアウト
Kit No.
キット品番
Kit Name
キット名称
MTKA011381AA
セクションNo.
PARTS LAYOUT
Section No.
--
O7
( KMTKA011381AA-01 )

Ref
No.
Remarks R
1
Q'ty
3
付属品(延長コンベア):NPM-DX
Attachment(Extension Conveyor):NPM-DX
イラスト
No.
Part No.
品 名品 番 数量
R
2
パーツリスト
Kit No.
キット品番
Kit Name
キット名称
MTKA011381AA
Part Name
備 考
セクションNo.
PARTS LIST
Section No.
R
3
BELT
1
1 MTNK002591AA
A
TA-4UEB M/D2 4.5WX0.65TX1638L
O8
--
( KMTKA011381AA-01 )

4
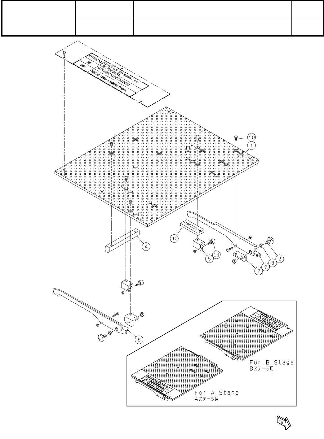
基板下受けブロック一括交換式(Front側):NPM-DX
Batch Exchange Unit For Board Support Block(Front):NPM-D
パーツレイアウト
Kit No.
キット品番
Kit Name
キット名称
MTKA008382AA
セクションNo.
PARTS LAYOUT
Section No.
--
O9
( KMTKA008382AA-02 )