N7202A057B12(1)DX-partlist2.pdf - 第237页
Ref No. Remarks R 1 Q'ty 5 基板下受けブロック一括交換式(Rear側):NPM-DX Batch Exchange U nit For Board Support Block(Rear):NPM -D イラスト No. Part No. 品 名 品 番 数量 R 2 パーツリスト Kit No. キット品番 Kit Name キット名称 MTKA008383AA Part Nam e 備 考 セク シ…

5
基板下受けブロック一括交換式(Rear側):NPM-DX
Batch Exchange Unit For Board Support Block(Rear):NPM-D
パーツレイアウト
Kit No.
キット品番
Kit Name
キット名称
MTKA008383AA
セクションNo.
PARTS LAYOUT
Section No.
--
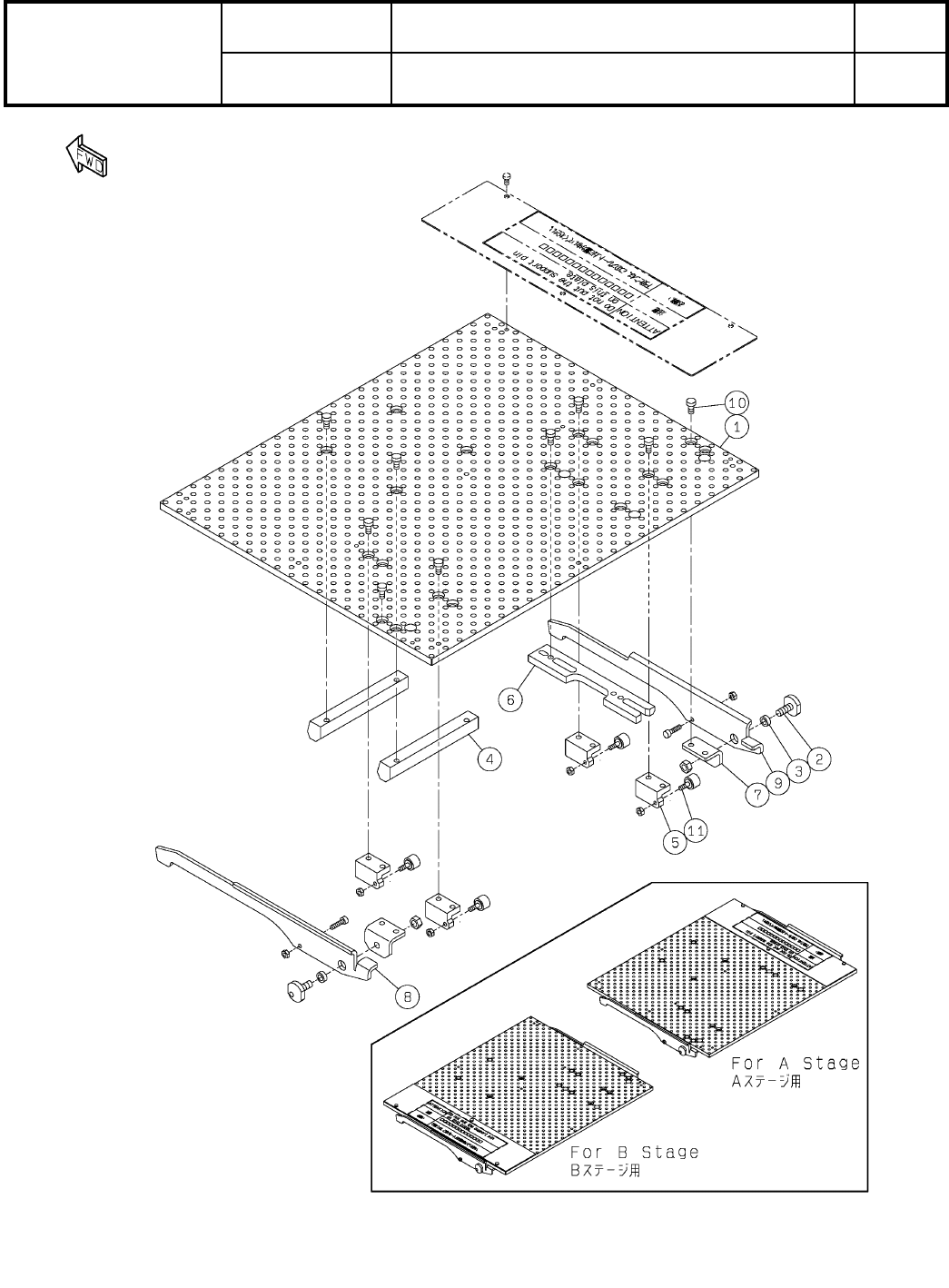
O11
( KMTKA008383AA-02 )

Ref
No.
Remarks R
1
Q'ty
5
基板下受けブロック一括交換式(Rear側):NPM-DX
Batch Exchange Unit For Board Support Block(Rear):NPM-D
イラスト
No.
Part No.
品 名品 番 数量
R
2
パーツリスト
Kit No.
キット品番
Kit Name
キット名称
MTKA008383AA
Part Name
備 考
セクションNo.
PARTS LIST
Section No.
R
3
PLATE
1
1 MTPA012786AA
PIN
2
2 N210161075AA
COLLAR
2
3 N210156596AA
BRACKET
2
4 MTPA012826AA
BRACKET
4
5 MTPA012825AA
BLOCK
1
6 MTPA012349AA
BRACKET
2
7 N210156599AA
LEVER
1
8 N210161078AB
LEVER
1
9 N210161079AB
BOLT
18
10 N510067773AA Low Head Cap Screw M4X8-8.8 A2J(Trivalent)
CAM-FOLLOWER
4
11 KXF00BFAA00 CF3UU-A
O12
--
( KMTKA008383AA-02 )

6
基板下受けブロック一括交換対応ユニット:NPM-DX
Batch Exchange Unit For Board Support Block:NPM-DX
パーツレイアウト
Kit No.
キット品番
Kit Name
キット名称
MTKA007640AA
セクションNo.
PARTS LAYOUT
Section No.
--
O13
( KMTKA007640AA-01 )