N7202A030B - 第65页
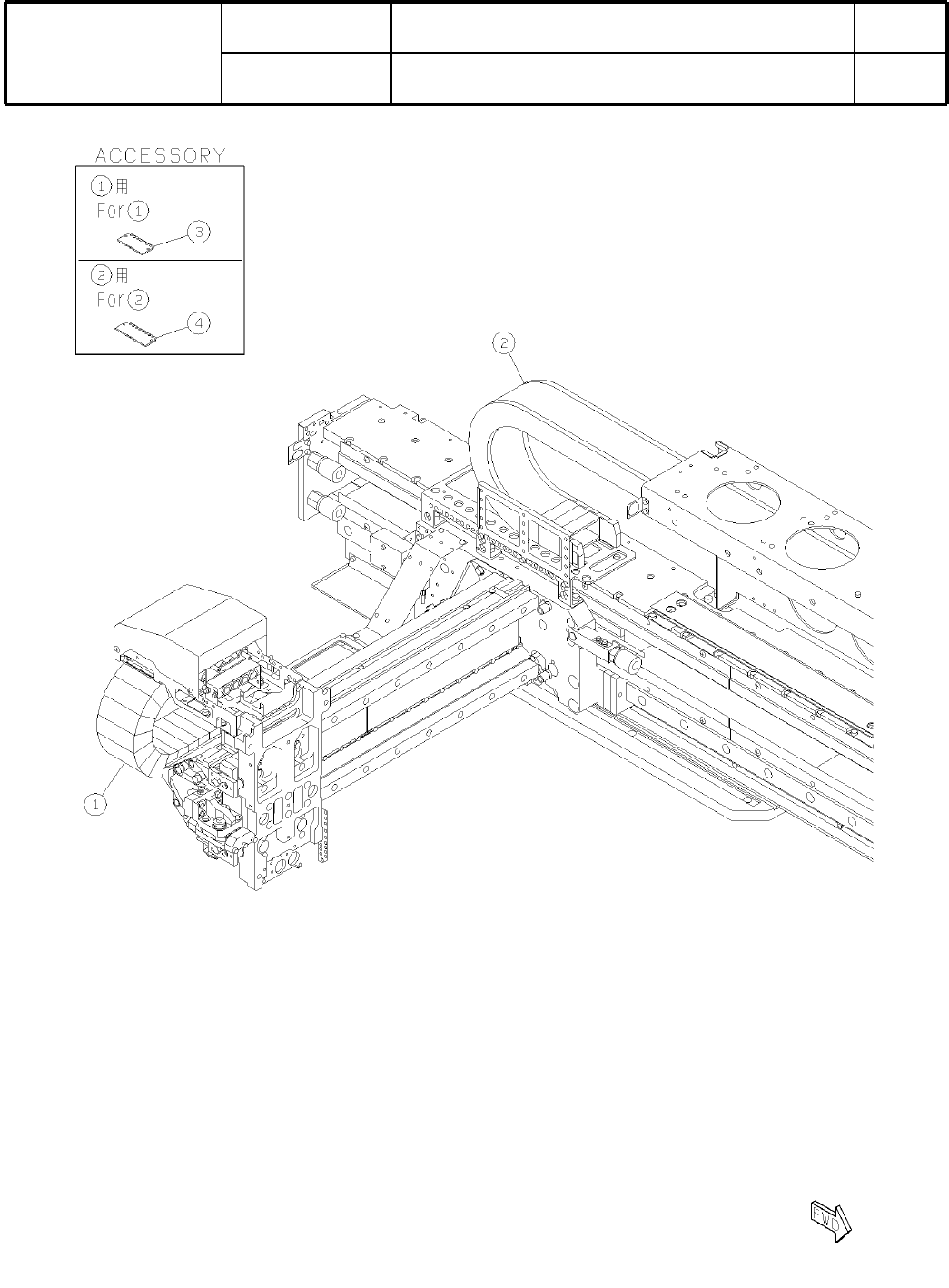
Ref No. Remark s R 1 Q'ty 13 XY軸F 側 配 線 :NPM-D XY -Axis Front Sid e W iring:NPM-D イラスト No. Part No. 品 名 品番 数量 R 2 パーツリスト Kit N o . キット品 番 Kit Name キット名称 N610112730AA Part Nam e 備 考 セクションNo. PARTS LIST Section No. R …

13
XY軸F
側
配
線
:NPM-D
XY-Axis Front Side Wiring:NPM-D
パーツレイアウト
Ki
t
N
o
.
キット
品番
Kit Name
キット名称
N610112730AA
セクションNo.
PARTS LAYOUT
Section No.
--
S43
( KN610112730AA-11 )

Ref
No.
Remarks
R
1
Q'ty
13
XY軸F
側
配
線
:NPM-D
XY-Axis Front Side Wiring:NPM-D
イラスト
No.
Part No.
品 名品番 数量
R
2
パーツリスト
Kit N
o
.
キット品
番
Kit Name
キット名称
N610112730AA
Part Name
備 考
セクションNo.
PARTS LIST
Section No.
R
3
CABLE-VEYOR
1
1 N510041216AA TKR0200W50R55-TK
CABLE-VEYOR
1
2 N510054891AA TKR0200W60R55-TK(ZC020.2121)
CABLE-SUPPORT
4
3 N210142601AA
CABLE-SUPPORT
4
4 N210142695AA
S44
--
( KN610112730AA-11 )

14
XY軸R
側
配
線
:NPM-D
XY-Axis Rear Side Wiring:NPM-D
パーツレイアウト
Ki
t
N
o
.
キット
品番
Kit Name
キット名称
N610112731AA
セクションNo.
PARTS LAYOUT
Section No.
--
S45
( KN610112731AA-10 )