00196514-02_UM_X-Serie_SR705_FI - 第190页
Automaatin tekniset tiedot Käyttöohje SIPLACE X-sarj a X-syöttömoduulit Alkaen ohjelmistov ersiosta SR.70x.xx Painos 01/2011 190 V a ratut syöttömoduulipaikat 3 3 Komponenttivarasto T ankovarastosta riippuen en int. 150 …

Käyttöohje SIPLACE X-sarja Automaatin tekniset tiedot
Alkaen ohjelmistoversiosta SR.70x.xx Painos 01/2011 X-syöttömoduulit
189
3.9.4.2 X-sarjan syöttömoduuliadapteri pitkittäistärykuljettimella
OHJE 3
X-sarjan syöttömoduulien adapterin toimituslaajuuteen kuuluu vielä yksi adapterilevy:
– Adapterileä käytetään kun komponenttien korkeus on 16,5 mm tai sen alle.
– Adapterileä käytetään kun komponenttien korkeus on välillä 16,5 mm - 25 mm.
3
Kuva 3.9 - 15 X-sarjan syöttömoduuliadapteri pitkittäistärykuljettimella
(1) Adapteri X-sarjan syöttömoduuleille (Artikkeli-nro. 00141305-xx)
(2) Adapterilevy 16,5 mm (kuuluu toimitukseen)
(3) Pitkittäistärykuljetin, tyyppi 3 (Artikkeli-nro. 00142031-xx)
Leveys 34,4 mm
Ratoja kuljettimessa 1, 2 tai 3 3

Automaatin tekniset tiedot Käyttöohje SIPLACE X-sarja
X-syöttömoduulit Alkaen ohjelmistoversiosta SR.70x.xx Painos 01/2011
190
Varatut syöttömoduulipaikat 3 3
Komponenttivarasto Tankovarastosta riippuen enint. 150 kpl, 3
komponentin pituudesta riippuen 3
Yksityiskohtaiset tiedot tankovarastosta 9,5 mm leveys / 3 kpl 3
15 mm leveys / 2 kpl 3
> 15 mm leveys / 1 kpl 3
30 mm leveys / 1 kpl 3
Tärytysaika säädettävissä SIPLACE Pro avulla 400:sta yli
1.000 msek asti 3
3.9.4.3 X-sarjan syöttömoduuliadapteri Reject Conveyor (jätteenpoistomoduulilla)
3
Kuva 3.9 - 16 X-sarjan syöttömoduuliadapteri Reject Conveyor:illar
(1) Adapteri X-sarjan syöttömoduuleille (Artikkeli-nro. 00141305-xx)
(2) Adapterilevy Reject Conveyor:ille (Artikkeli-nro. 00141308-xx)
(3) Reject Conveyor (jätteenpoistomoduuli)

Käyttöohje SIPLACE X-sarja Automaatin tekniset tiedot
Alkaen ohjelmistoversiosta SR.70x.xx Painos 01/2011 X-syöttömoduulit
191
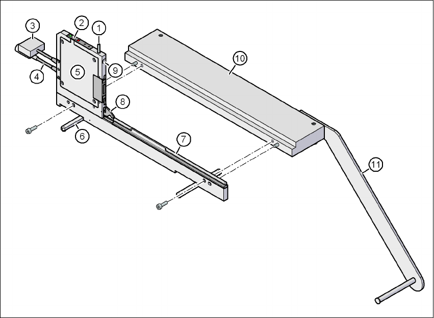
3.9.5 X-syöttömoduulien energia- ja datainterface
Artikkeli-nro. 00141247-xx Energia- ja datainterface X-syöttömoduulille
3
Kuva 3.9 - 17 X-syöttömoduulien energia- ja datainterface
(1) Lukitussalvan vapautuspainike
(2) Ohjauspaneeli
(3) Datakaapeli
(4) Virransyöttökaapeli
(5) Elektroniikkakotelo
(6) Uloskäännettävät jalat
(7) Omega-profiili syöttömoduulien ohjaamiseksi
(8) Lukituslinkku
(9) Vastereikä syöttömoduulin etupuolen keskitystapille
(10) Peruslevy
(11) Kelankannatin