mechanical reference xp141-1.2e - 第23页
Inside the Machine Eject parts box Gauge chip parts Panel lifter Tape cutter Mark camera Strobe light 1 Strobe light 2 Conveyor Placing head X/Y robot XP1MN002 Part 1 Chapter 2 Machine Components Edition 1.2 1-2-2 XP-141…

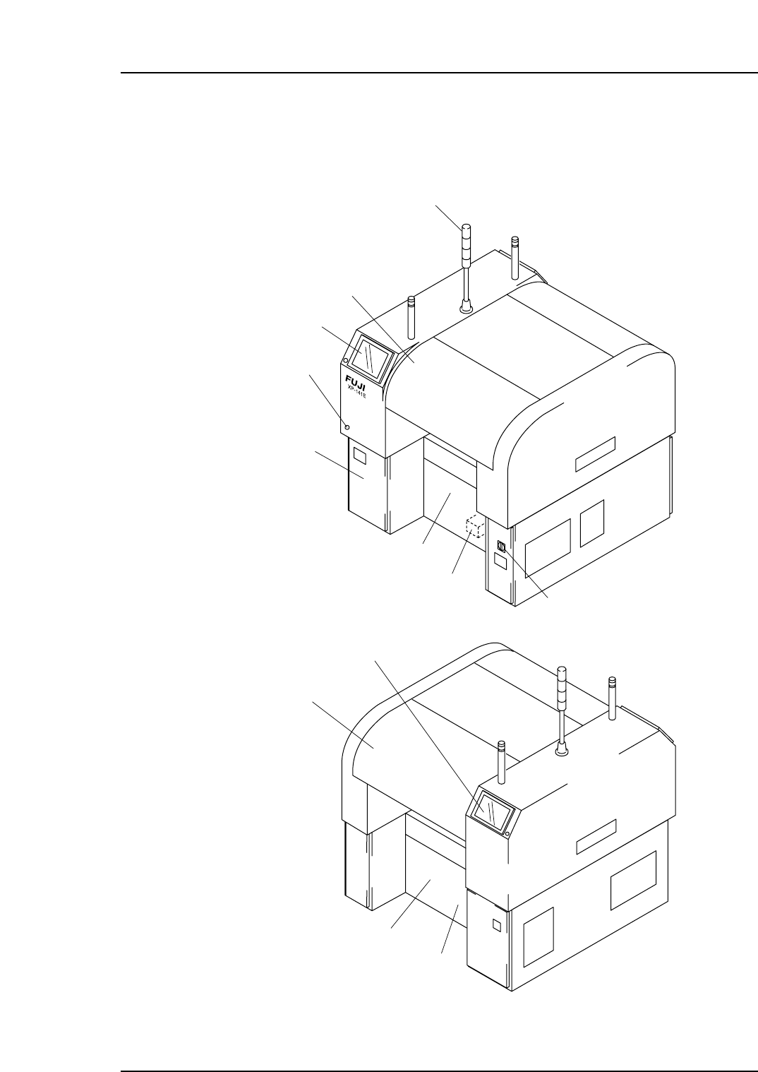
2. Machine Components
General View
Transformer box
Breaker
Servo box 1
Strobe power
Servo box 2
Control box
Operation panel 1
Operation panel 2
Safety cover 1
Safety cover 2
Signal tower
XP1MN001
Front Side
Rear Side
Safety switch
test button
Part 1 Chapter 2 Machine Components
Edition 1.2 1-2-1 XP-141E Mechanical

Inside the Machine
Eject parts box
Gauge chip parts
Panel lifter
Tape cutter
Mark camera
Strobe light 1
Strobe light 2
Conveyor
Placing head
X/Y robot
XP1MN002
Part 1 Chapter 2 Machine Components
Edition 1.2 1-2-2 XP-141E Mechanical

MFU-X10E
XP1MN006
Part 1 Chapter 2 Machine Components
Edition 1.2 1-2-3 XP-141E Mechanical