4OM-1609-004_w.pdf - 第88页
4OM-1609 1-37 1 章 3. メンテナンスか所 1007-003 3.2.8 XY ビーム部 X軸リニアガイド(2か所) 毎日 点検 所要時間:1分 異物などが落ちていないか、目視で点検 してください。 X軸リニアガイド(4か所) 3か月ごと 清掃、給油 所要時間:5分 (ダフニーエポネックスグリースNo.1) ウエスで古いグリースを拭取って、ハンド グリースガンでグリースニップルから新 し い グ リ ー ス を 給 油 …

4OM-1609
1-36
1 章 3. メンテナンスか所
1103-004
通知
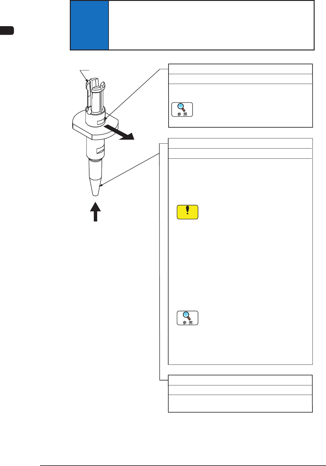
ノズルにエアブローを行う際、ノズル先端方向からエアブローを行
うようにしてください。
クランプ爪の方向からノズルに対しエアブローを行うと、クランプ
爪が折れてしまう危険があります
吸着ノズル
3か月ごと 点検
吸着ノズルの状態を点検し、ノズルの先端が磨耗
している場合は交換してください。
吸着ノズル
毎週 清掃
• ノズルテーパ部は、レンズクリーナクロスで清掃
してください。
• ノズルを画面操作にてノズルストッカに収納し、
ノズルストッカごと取出した後、エアブローを
行いゴミなどを除去してください。
注 意
装着に不具合が発生する場合は、
水中での超音波洗浄を行ってくだ
さい。
(a) 清掃の詳細については、
“1章 4.1 吸着ノズルの清掃”を
参照してください。
(b) ノズル収納の手順については、
“2巻 6章 5.“ノズル交換”画面”
を参照してください。
(a) ヘッドからノズルを手で取出さな
いでください。
手で取出しますと、ノズルと
ノズルデータが合わなくなります。
(b) ノズルの汚れがひどいとき、また
先端からエアブロー
クランプ爪
は真空吸引力が弱くなり、吸着や
水中での超音波洗浄を行う際は、
ノズルフィルタを外してください。
水以外の使用は厳禁です。
ノズルフィルタ
毎週 交換
フィルタ抜取り治具を使用してノズルフィルタを
交換してください。
交換の詳細については、
“1章 4.2 ノズルフィルタの交換”を参
照してください。
F4A27

4OM-1609
1-37
1 章 3. メンテナンスか所
1007-003
3.2.8 XY ビーム部
X軸リニアガイド(2か所)
毎日 点検 所要時間:1分
異物などが落ちていないか、目視で点検
してください。
X軸リニアガイド(4か所)
3か月ごと 清掃、給油 所要時間:5分
(ダフニーエポネックスグリースNo.1)
ウエスで古いグリースを拭取って、ハンド
グリースガンでグリースニップルから新 し
いグリースを給油 してください。
糸くずなどを残さないよう
にしてください。
給油は、初回1か月後、以降3か月ごとに行
ってください。
注 意
F4A28

4OM-1609
1-38
1 章 3. メンテナンスか所
1007-003
Y軸リニアガイド(2か所)
毎日 点検 所要時間:1分
異物などが落ちていないか、目視で点検
してください。
注 意
Y軸リニアガイド(8か所)
3か月ごと 清掃、給油 所要時間:5分
(ダフニーエポネックスグリースNo.1)
ウエスで古いグリースを拭取って、ハンド
グリースガンでグリースニップルか ら新し
いグリースを給油 してください。
糸くずなどを残さないよう
にしてください。
給油は、初回1か月後、以降3か月ごとに行
ってください。
F4A29