NXT-IIc 机械手册.pdf - 第226页
MEC-NXTIIc-3.3S 5. 预防保养 NXT IIc 机械手册 201 5.8.2 H12HS/H12HSQ 头的 Q 轴齿轮和 R 轴齿轮的加油 备注 )对 于加油量少的加 油作业,推荐使用治 具的注射筒 (S61439) 。在注射筒上 有刻度, 请作为加油量的基准。 1. 拆除贴装工作头。 (详细请参考 「4.3 贴装工作头的 拆除 / 安装 」 。) 2. 拆除盖板。 3. 用清洁的布,擦去 Q 轴齿轮 (1) 和 R …

5. 预防保养 MEC-NXTIIc-3.3S
200 NXT IIc 机械手册
5.8 每 6 个月 (4000 小时 ) 的操作
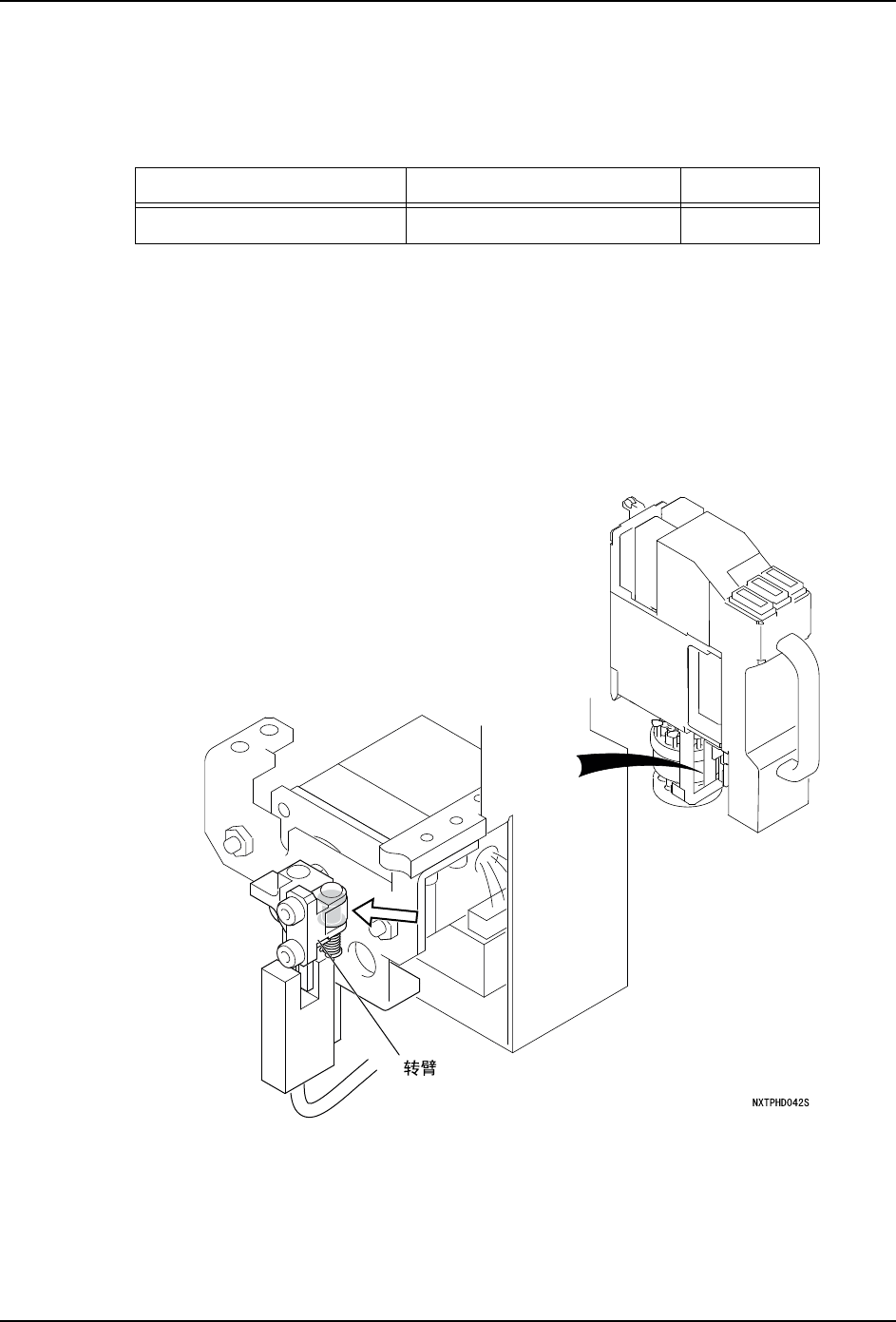
5.8.1 机械阀驱动用转臂旋转轴的加油
〈H04/H04S/H04SF/H08/H08Q/H08M/H08MQ/H12S/H12SQ/H12HS/H12HSQ/V12 工作头〉
备注 )对于加油量少的加油作业,推荐使用治具的注射筒 (S61439) 。在注射筒上有刻度,
请作为加油量的基准。
1. 拆除贴装工作头。(详细请参考 「4.3 贴装工作头的拆除 / 安装 」)
2. 使用绵棒,擦去转臂旋转轴的污垢。
3. 请使用棉棒等,在步进马达驱动部的转臂旋转轴涂敷 Daphne Eponex No.2( 出光
)0.002cc。
备注 )下记插图是 H08 工作头,其他工作头也请同样进行操作。
4. 将转臂向旋转方向转动数次,与润滑油粘合。
5. 使用棉棒,擦去多余润滑油。
润滑油 加油处 加油量 (cc)
Daphne Eponex No.2( 出光 ) 转臂旋转轴 0.002

MEC-NXTIIc-3.3S 5. 预防保养
NXT IIc 机械手册 201
5.8.2 H12HS/H12HSQ 头的 Q 轴齿轮和 R 轴齿轮的加油
备注 )对于加油量少的加油作业,推荐使用治具的注射筒 (S61439) 。在注射筒上有刻度,
请作为加油量的基准。
1. 拆除贴装工作头。(详细请参考 「4.3 贴装工作头的拆除 / 安装 」。)
2. 拆除盖板。
3. 用清洁的布,擦去 Q 轴齿轮 (1) 和 R 轴齿轮 (2)上的旧润滑油和污垢。
4. 取 0.138cc 的 mobilith SHC460WT 到毛刷上。
5. 请用刷子在 Q 轴齿轮 (1) 上涂敷润滑油。
6. 取 0.224cc 的 mobilith SHC460WT 到毛刷上。
7. 请用刷子在 R 轴齿轮 (2)上涂敷润滑油。
8. 用手动将Q轴齿轮(1)和R轴齿轮(2)旋转,不浪费润滑油进行涂敷。
9. 用清洁的布,擦去渗出的多余润滑油。
润滑油 加油地方 加油量 (cc)
mobilith SHC460WT(Mobil) (1) Q 轴齿轮 ( 上部电动机侧 ) 0.138
(2) R 轴齿轮 0.224
1
01MEC-0904Sa
2
ⴌᶵ
0.69 Nm

5. 预防保养 MEC-NXTIIc-3.3S
202 NXT IIc 机械手册
5.8.3 V12 工作头的 Q 轴齿轮和 R 轴齿轮的加油
备注 )对于加油量少的加油作业,推荐使用治具的注射筒 (S61439) 。在注射筒上有刻度,
请作为加油量的基准。
1. 拆除贴装工作头。(详细请参考 「4.3 贴装工作头的拆除 / 安装 」。)
2. 请拆除侧盖板。
3. 用清洁的布,擦去 Q 轴齿轮 (1) 和 R 轴齿轮 (2)上的旧润滑油和污垢。
4. 取 0.138cc 的 MORBIRIS SHC460WT 到毛刷上。
5. 用毛刷在 Q 轴齿轮 (1)上涂敷指定的润滑油。
6. 取 0.224cc 的 MORBIRIS SHC460WT 到毛刷上。
7. 用毛刷在 Q 轴齿轮 (2)上涂敷指定的润滑油。
8. 用手转动 Q 轴齿轮 (1)和 R 轴齿轮 (2),不浪费润滑油地进行涂敷。
9. 请用清洁的布擦去溢出的多余的润滑油。
10.请将侧盖板安装到贴装工作头上。
润滑油 加油处 加油量 (cc)
MORBIRIS SHC460WT (Mobile) (1) Q 轴齿轮 (上部马达侧) 0.138
(2) R 轴齿轮 0.224
01NST-0884b
2
1