NXT-IIc 机械手册.pdf - 第402页
MEC-NXTIIc-3.3S 6. 消耗品的更换 NXT IIc 机械手册 377 3. 请拆除真空泵的消音器 (2 个) 。 4. 请拆除固定螺栓,拆除盖板。 5. 拆除固定螺栓 (6 根) ,拆除泵的顶部 Assy。 注意 )请将真空泵头 Assy 慢慢地拔出来。 6. 拆下固定螺丝 (3 根) ,拆除泵顶部盖板。 01MEC-0 3 49 01MEC-0 35 0Sb ⋉༈䚼 #UU[ 01MEC-0 35 1

6. 消耗品的更换 MEC-NXTIIc-3.3S
376 NXT IIc 机械手册
10.拆除安装真空泵的固定螺栓 (4 根)。请握住手柄,抬起真空泵,从机器基座中取出。
真空泵的分解
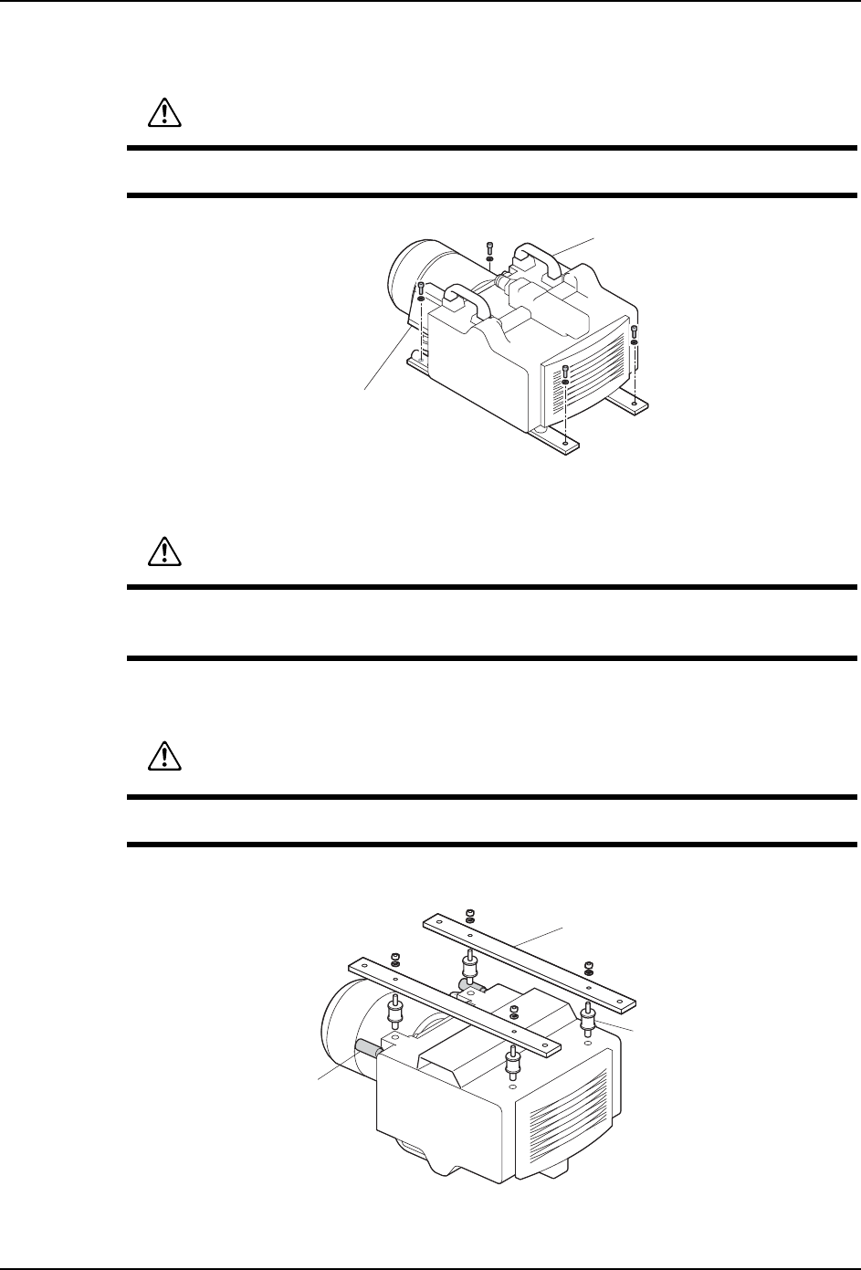
1. 将回丝垫在操作台上,把泵的开口部向上放置。
2. 请拆除螺母、安装平板和防振橡胶。
警告
请必须在 2 人以上进行操作。决不要在勉强的姿势下抬起泵。有可能使腰受伤。
01MEC-0962S
ᶘ
ッᄤㆅ
警告
在进行以下操作时,请带好防尘口罩和手套。细微的尘屑在空气中浮游后会与空气一起
进入体内。
注意
泵有重量,请注意不要将手指夹入泵和操作台之间。手指有可能受伤。
01MEC-0958S
䰆ᤃ‵㛊
ᑇᵓ
⍜䷇఼

MEC-NXTIIc-3.3S 6. 消耗品的更换
NXT IIc 机械手册 377
3. 请拆除真空泵的消音器 (2 个)。
4. 请拆除固定螺栓,拆除盖板。
5. 拆除固定螺栓 (6 根),拆除泵的顶部 Assy。
注意 )请将真空泵头 Assy 慢慢地拔出来。
6. 拆下固定螺丝 (3 根),拆除泵顶部盖板。
01MEC-0349
01MEC-0350Sb
⋉༈䚼#UU[
01MEC-0351

6. 消耗品的更换 MEC-NXTIIc-3.3S
378 NXT IIc 机械手册
7. 从泵头部拆除密封圈和过滤器 (2 个)。
8. 更换头部的排气阀 (2 处)
a. 请使用十字螺丝刀松开螺丝,拆下阀压板和阀。
b. 请将阀的安装面和阀盖板用含有工业用酒精的回丝或者空气枪进行清扫。
注意 )吹空气时请带好保护眼镜。
c. 请将新品的阀和拆除的阀压板安装在头部内。
注意 )请将阀设置在阀压板的下方。
d. 请在安装的螺丝上涂敷密封剂 242,插入到螺丝孔中以后松固定。
e. 用转矩螺丝刀紧固定。(2.7 Nm)
䖛Ⓒ఼
ᆚᇕ
01MEC-0353Ja
䯔
䯔य़ᵓ