Base gantry SIPLACE 80F5_20211119_081953 - 第15页

Base gantry SIPLACE 80F5 Page 15 / 19 19.11.2021 Pos. Item no. Description Part marking 1 00331942S01 GANTRY BASE UNIT SIPLACE 80F 4/6 SPARE PART 2 00300561-04 WRENCH 3 00308083-01 HEXAGON SOCKET HEAD CAP SCREW 4 0020046…

100%1 / 19
Base gantry SIPLACE 80F5
Page 14 / 19 19.11.2021
Base gantry SIPLACE 80F5
Page 15 / 19 19.11.2021
Pos. Item no. Description Part marking
1 00331942S01 GANTRY BASE UNIT SIPLACE 80F
4/6
SPARE PART
2 00300561-04 WRENCH
3 00308083-01 HEXAGON SOCKET HEAD CAP
SCREW
4 00200468-02 WRENCH TOOL
5 00332542S01 HOLDER FOR HEAD F4/6 MOUNTED Spare Part
6 00095105-01 HEXAGON SOCKET HEAD CAP
SCREW
7 00845012-01 HEXAGON SOCKET HEAD CAP
SCREW M3 X 5-8.8, COPPER + NI-
PLATED
8 00095471-01 PLAIN WASHER A 3.2-140HV-ST
9 00317941S03 AXLE SPARE PART
10 00095474-01 DISC 6,4 DIN125-A Spare
11 00095107-01 HEXAGON SOCKET HEAD CAP
SCREW
12 00095472-01 PLAIN WASHER A 4.3-140HV-ST
13 00318649-02 PCB-SUPPORT FOR SIPLACE S4 SPARE PART
14 00845013-01 HEXAGON SOCKET HEAD CAP
SCREW M3 X 6-8.8
15 00315647S01 DISTANCE BOLT M3*30 I/A 6KT5,5
ST
16 00348118-01 ABSTANDSBOLZEN M3X8 I/A 6KT5,5
ST CHROM
SPARE PART
17 00347627-02 CABLE RETAINER PORTAL BOARD
S20 COMPL.
22 00321127-03 Y-CABLE HOLDER S23 Spare Part
27 00333952-01 RUBBER METAL BUFFER M3 10/15
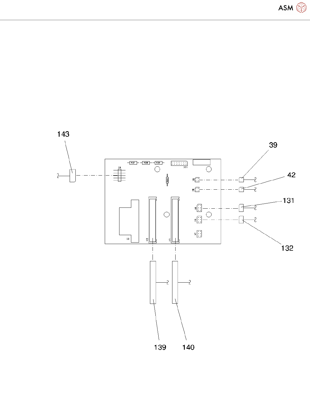
55 SHORE
28 00845017-01 HEXAGON SOCKET HEAD CAP
SCREW
29 00318557-03 TOOTH BELT 28 ATS 5/1655 WEAR PART
30 00343985-01 SYNCRONIZING DISK X 32AT5/13-0 SPARE PART
31 00318549-01 TOOTH BELT SYNCHROFLEX
12ATS5/280
WEAR PART
32 00343998-01 SYNCHR. DISK Y ST 50 AT5/13-0
ACC.T.DRAW.
33 00845017-01 HEXAGON SOCKET HEAD CAP
SCREW
Base gantry SIPLACE 80F5
Page 16 / 19 19.11.2021
Pos. Item no. Description Part marking
34 00095471-01 PLAIN WASHER A 3.2-140HV-ST
35 00331943-01 LINEAR BEARING RAIL AND
CARRIAGE
36 00319710-01 HEXAGON SOCKET HEAD CAP
SCREW M5*16 INBUS-RIPP
37 00301040-01 ELASTOMER SPRING 25*10,5*50
(90 SHORE A)
SPARE PART
38 00317963-03 CONTACT RIGHT SIDE SPARE PART
39 00321577-04 CABLE: LIMIT SWITCH X-AXIS SPARE PART
40 00200525-01 ELASTOMER SPRING D20X8,5 90
SHORE A
SPARE PART
41 00317964-03 CONTACT METAL LEFT SIDE SPARE PART
42 00321578-04 CABLE: LIMIT SWITCH X-AXIS SPARE PART
43 00200530-01 GUIDE TROLLEY WEAR PART
44 00331940-02 PORTAL WELDED PART F4/6
45 00845042-01 HEXAGON SOCKET HEAD CAP
SCREW M5 X 10-8.8
46 00321551-02 BELT GUIDE X-AXIS SPARE PART
47 00200469S03 AXIS SPARE PART
48 00318552-04 GEAR FOR X-AXIS SPARE PART
49 00301084-02 GROIN SPARE PART
50 00301086-01 SCALE X-AXIS SPARE PART
51 00095160-01 HEXAGON SOCKET HEAD CAP
SCREW
52 00305840-01 SLOTTED COUNTERSUNK HEAD
SCREW
53 00619841-01 PARALLEL PIN 3M5 X 8-ST
54 00317856-02 FRICTION BLOCK HOLDER SPARE PART
55 00317857-02 PRESSURE PLATE
56 00317858-02 CLAMPING PLATE
57 00317859-04 FRICTION BLOCK SPARE PART
60 00317861-03 SPRING PLATE SPARE PART
61 00317868-01 COMPRESSION SPRING 0,8*8,8*21,5 SPARE PART
62 00304972-01 DEEP-GROOVE BALL BEARING
6*12*4 126-2Z
SPARE PART
63 00095306-01 SLOTTED COUNTERSUNK HEAD
SCREW
64 00095563-01 HEXAGON NUT M 3 - ST