Change over table insert X4i S_20211124_065448
Change over table insert X4i S Page 1 / 15 24.11.2021

Change over table insert X4i S
Page 1 / 15 24.11.2021

Change over table insert X4i S
Page 2 / 15 24.11.2021

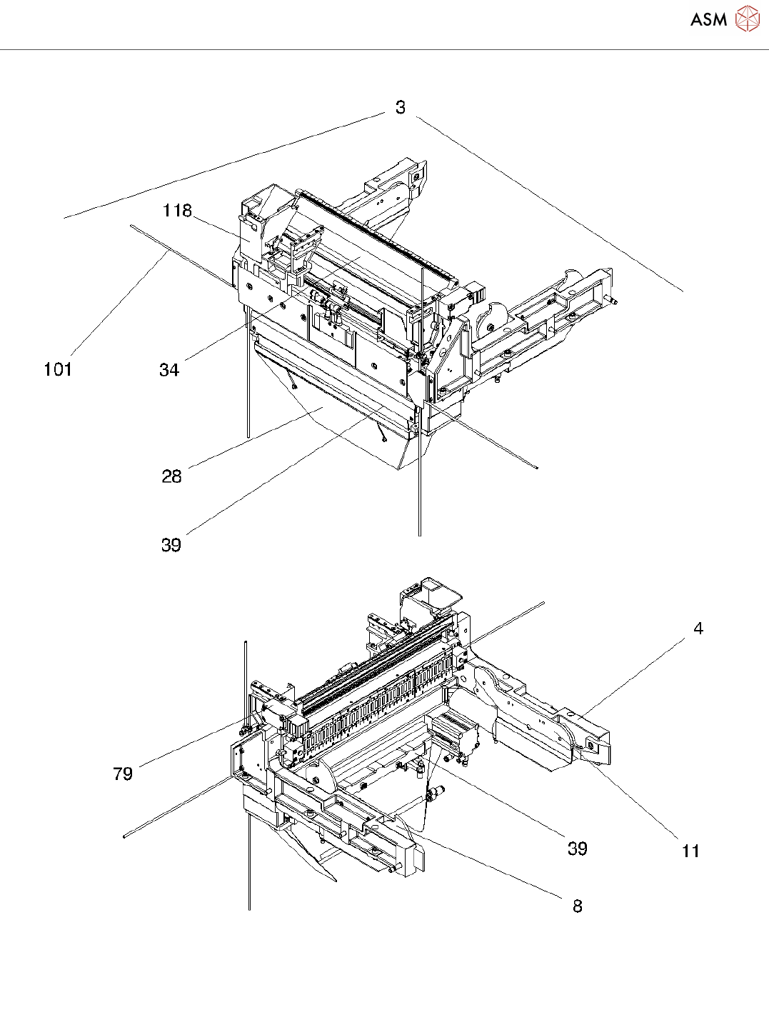
Change over table insert X4i S
Page 3 / 15 24.11.2021