Change over table insert X4i S_20211124_065448 - 第7页
Change over table insert X4i S Page 7 / 15 24.11.2021

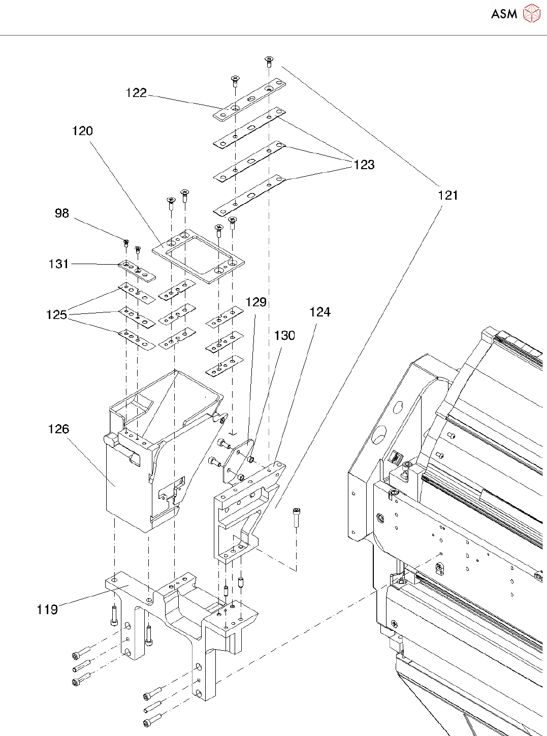
Change over table insert X4i S
Page 6 / 15 24.11.2021

Change over table insert X4i S
Page 7 / 15 24.11.2021

Change over table insert X4i S
Page 8 / 15 24.11.2021