00194047-01.pdf - 第200页

7 Opciók Üzemeltetési útmutat ó SIPLACE F5 HM 7.7 Pipettacseré l ő a Pick&Place-fejhez Software-verzió: SR.408.xx Kiadás: 03/2006 HU 200 A SIPLAC E F5 HM a utomata rendsz erint egy pipettac serél ő vel va n fels zere…

100%1 / 230
Üzemeltetési útmutató SIPLACE F5 HM 7 Opciók
Software-verzió: SR.408.xx Kiadás: 03/2006 HU 7.7 Pipettacserélő a Pick&Place-fejhez
199
7.7 Pipettacserélő a Pick&Place-fejhez
7.7.1 Áttekintés
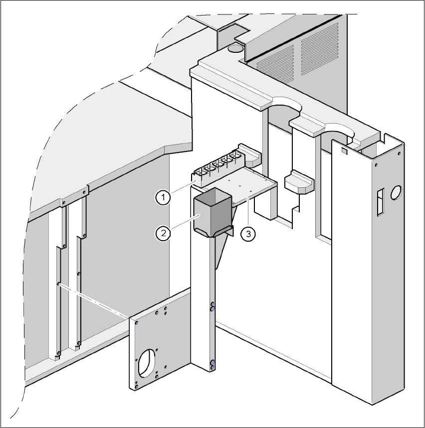
7.7 - 1 ábra A pipettacserél
ő
beszerelésének helye a Pick & Place-fejhez
(1) Tár 5 pipetta részére
(2) Selejtalkatrész gyűjtőtartály
(3) Tartólemez
7 Opciók Üzemeltetési útmutató SIPLACE F5 HM
7.7 Pipettacserélő a Pick&Place-fejhez Software-verzió: SR.408.xx Kiadás: 03/2006 HU
200
A SIPLACE F5 HM automata rendszerint egy pipettacserélővel van felszerelve a Pick&Place-
fejhez. A szállítási terjedelemhez tartozik egy pipettatár 5 pipetta részére, például négy standard-
pipetta a 4xx-pipettasorozatból és egy speciális pipetta. Kívánságra három kiegészítő
pipettatárat lehet utólag felszerelni, így maximum 20 pipetta áll rendelkezésre.
7.7.2 Műszaki adatok - Pipettacserélő a Pick&Place-fejhez
7.7.3 Funkció-leírás
7
7.7 - 2 ábra Áttekintés - Pipettacserél
ő
7
Pipetta-típusok A 4xx pipettasor minden pipettája, speciális pipetta (opció)
Kapacitás 1 - 4 tár, egyenként 5 pipettával, tetszés szerint konfigurálható.
Pipettacsere-idő Kb. 2 másodperc pipettánként
(1) Pozíciójel
(2) Pipetta-garázs
(3) Selejtalkatrész gyűjtőtartály
(4) 1. tár (standard)
(5) 2. - 4. tár (opció)
Üzemeltetési útmutató SIPLACE F5 HM 7 Opciók
Software-verzió: SR.408.xx Kiadás: 03/2006 HU 7.7 Pipettacserélő a Pick&Place-fejhez
201
Az egyes tárakon mindig található egy pozíciójel (1. poz. a 7.7 - 2. ábrán) a helyfelismeréshez.
A tárak egyes helyei 1-től 4-ig vannak beszámozva.
Az egyes pipetta-garázsok az egyes tárakban 1-től 5-ig vannak beszámozva.
A pipetták rögzítése a garázsokban rugós kampókkal történik. A Pick&Place-fejtengely
forgásirányától függően, a pipettákat vagy rögzítik vagy szabadon engedik.
7.7.4 Utalások a kezeléssel és karbantartással kapcsolatban
Æ A pipetták behelyezéséhez, illetve kicseréléséhez (2. poz. a 7.7 - 3. ábrán) használja a
pipettakivevő szerszámot (lásd: 1. poz. a 7.7 - 3
. ábrán).
Æ Tisztítsa meg a pipettacserélőt, ahogy az a karbantartási útmutatóban le van írva.
7
7.7 - 3 ábra A pipetta kivétele a pipettacserél
ő
b
ő
l