00194047-01.pdf - 第153页
Üzemelteté si útmutat ó SIPLACE F 5 HM 6 AR-k ezelés Software-verzió: S R.408.xx Kiadás: 03/2006 HU 6.2 A S- szállítók m ű szaki adatai 153 6.2.18 Felületi tárak tartója A felületi tár-tartóv al vihet ő k el alkatrés zek…

6 AR-kezelés Üzemeltetési útmutató SIPLACE F5 HM
6.2 A S-szállítók műszaki adatai Software-verzió: SR.408.xx Kiadás: 03/2006 HU
152
6.2.17.2 Műszaki adatok
6
6
6
6.2.17.3 Surftape-szállító -paraméter
A Surftape-szállító paraméterei a SIPLACE Pro-számítógépen módosíthatók.
Hevederszélességek 8/12/16 mm
Javasolt heveder- és alkatrészméretek 8 mm: AR 1 x 1 mm² - 2,3 x 2,3 mm²
12 mm: AR 2,3 x 2,3 mm² - 5 x 5 mm²
16 mm: AR 3,8 x 3,8 mm² - 9,5 x 9,5 mm²
A Bare Die hevederezési pontossága
a Surftape
Bare Die-méret 2,3 x 2,3 mm²-ig: +/- 100 µm, 6 σ
Bare Die-méret 2,3 x 2,3 mm² felett: +/- 200 µm, 6 σ
(a táskaközéppontra vonatkoztatva)
Szükséges távolság a Bare Die- élek
és a hevedertáska között Min. 0,4 mm
Kilökő-tű Egyszeres vagy háromszoros tű, Die-mérettől
függően
Heveder anyaga Metrikus
Hevederszabvány IEC 286-3, DIN-IEC-286, EIA 481 és JIS C 0806
Hevedertekercs átmérője 7" - 15"
Szállító felülete 1 adagoló az alkatrészasztalon

Üzemeltetési útmutató SIPLACE F5 HM 6 AR-kezelés
Software-verzió: SR.408.xx Kiadás: 03/2006 HU 6.2 A S-szállítók műszaki adatai
153
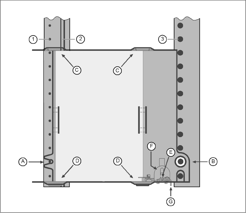
6.2.18 Felületi tárak tartója
A felületitár-tartóval vihetők el alkatrészek az egyes felületi tárakból. A felületi tárakat kézzel kell
kicserélni.
6
6.2 - 18 ábra Be-/kiszerelés
(1) Központosító-stiftek
(2) Mágneses léc
(3) Központosító hüvely
A felületi tárak tartóját úgy kell az alkatrészasztalra állítani, mint egy szállítót. Két különböző
kivitelezésű tartó van, amelyek szélességben különböznek egymástól.
Tartó a nagyobbik felületi tárhoz (260 x 360 mm², 9 helyet foglal el)
Cikkszám: 00116430-01 és 6
Tartó a kisebbik felületi tárhoz (136 x 360 mm², 5 helyet foglal el)
Cikkszám: 00116432-01 6
6

6 AR-kezelés Üzemeltetési útmutató SIPLACE F5 HM
6.2 A S-szállítók műszaki adatai Software-verzió: SR.408.xx Kiadás: 03/2006 HU
154
UTALÁS 6
A felületi tárak tartóját csak a SIPLACE F5 HM jobb oldalára szabad állítani. Az csak úgy
pozicionálható, hogy a jobb éle a 73-as adagolót elfoglalja. 6
6.2.18.1 Összeszerelés
Æ Helyezze a felületi tárak tartójának elejét a hozzátartozó központosító-stiftbe (A a 6.2 - 18.
ábrán).
Æ Azután helyezze a "felületi tárak tartójá"-nak hátoldalán lévő furatot az alkatrészasztal
központosító hüvelyére (B a 6.2 - 18
. ábrán).
Æ Ellenőrizze, hogy a "felületitárak tartója" síkban felfeküdjön az alkatrészasztalra.
Æ Helyezze be a felületitár-tartó egyik oldalát a tartóba (C a 6.2 - 18. ábrán). Most nyomja be a
másik oldalt a tartóba (D a 6.2 - 18
ábrán).
Æ Tolja a felületi tárat ütközésig (E a 6.2 - 18. ábrán).
Æ Rögzítse a felületitár-tartót úgy, hogy a nyomólapot (F a 6.2 - 18. ábrán) lefelé nyomja.
Æ A felületitár-tartó eltávolításához újból nyomja meg a nyomólapot.
UTALÁS
A "kis felületi tár tartójá"-nál (136 mm) egy felületi tár (JEDEC-/ CENELEC-felületi tár)
közvetlenül a tartóra szerelhető, tehát felületitár-tartó nélkül szerelhető fel. Ehhez cserélje ki a
leszorító szerkezetet (G a 6.2 - 18. ábrán).
FIGYELEM!
Az üzembiztonság feltétele, hogy minden helyet szállítóval kell ellátni.
Amennyiben nem áll rendelkezésre elegendő szállító, akkor az üres helyeket benyúlás elleni
védelemmel (Dummy-adagoló) kell ellátni. Felületitár-tartó felszerelése esetén is benyúlás elleni
védelemmel kell biztosítani a szabadon maradó helyeket.
6.2.18.2 A leszorító szerkezet cseréje
Æ Tartsa határozottan a leszorító szerkezetet (G a 6.2 - 18. ábrán). Nyomja lefelé a nyomólapot
(F a 6.2 - 18
. ábrán) és vegye ki a leszorító szerkezetet úgy, hogy oldalt kinyomja.