Terminal boards_20211119_082936.pdf - 第3页
Terminal boards Page 3 / 3 19.11.2021 Pos. Item no. Description Part marking 00321510-07 TERMINAL BOARD (RIGHT SIDE) 80S20/F4 1 00300169-02 RECTIFIER PC-BOARD 60V SPARE PART 2 00300168-02 RECTIFIER PC-BOARD 6V SPARE PART…

Terminal boards
Page 1 / 3 19.11.2021

Terminal boards
Page 2 / 3 19.11.2021

Terminal boards
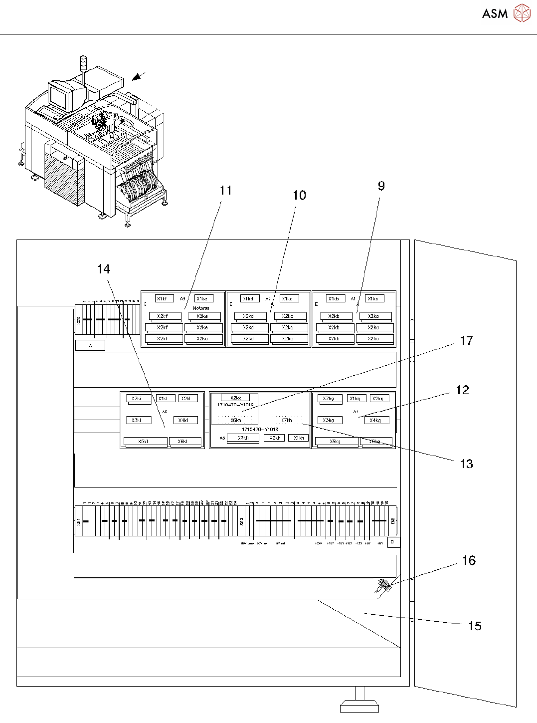
Page 3 / 3 19.11.2021
Pos. Item no. Description Part marking
00321510-07 TERMINAL BOARD (RIGHT SIDE)
80S20/F4
1 00300169-02 RECTIFIER PC-BOARD 60V SPARE PART
2 00300168-02 RECTIFIER PC-BOARD 6V SPARE PART
3 00300167-02 RECTIFIER 30V Spare Part
4 00308443-05 CURRENT DISCHARGE BOARD SPARE PART
5 00314307-03 CONTROL UNIT RACK
6 00344639-01 GROUND CONNECTION M4
00344266-01 TERMINAL BOARD (LEFT SIDE)
80F4/F6
9 00327250-01 TERMINAL CARD COMBINATION A1
10 00327251-01 TERMINAL CARD COMBINATION A2
11 00327252-01 TERMINAL CARD COMBINATION A3
12 00327283-02 OPTICAL DECOUPLING UNIT SPARE PART
13 00323146-02 MOTHERBOARD IC-LIGHT SPARE PART
14 00327284-02 OPTICAL DECOUPLING UNIT SPARE PART
15 00321526-01 TERMINAL BOARD (LEFT SIDE) WITH
CABLE CH
16 00344639-01 GROUND CONNECTION M4
17 00335939-01 IC-LIGHT Spare Part
Powered by TCPDF (www.tcpdf.org)