文档中心
/
Cable trees_20211122_082858
Cable trees_20211122_082858 - 第10页
Cable trees Page 10 / 35 22.11.2021
目录
100%
显示:宽度
宽度
1 / 35
回到旧版
旧版
?
Cable trees
Page 9 / 35
22.11.2021
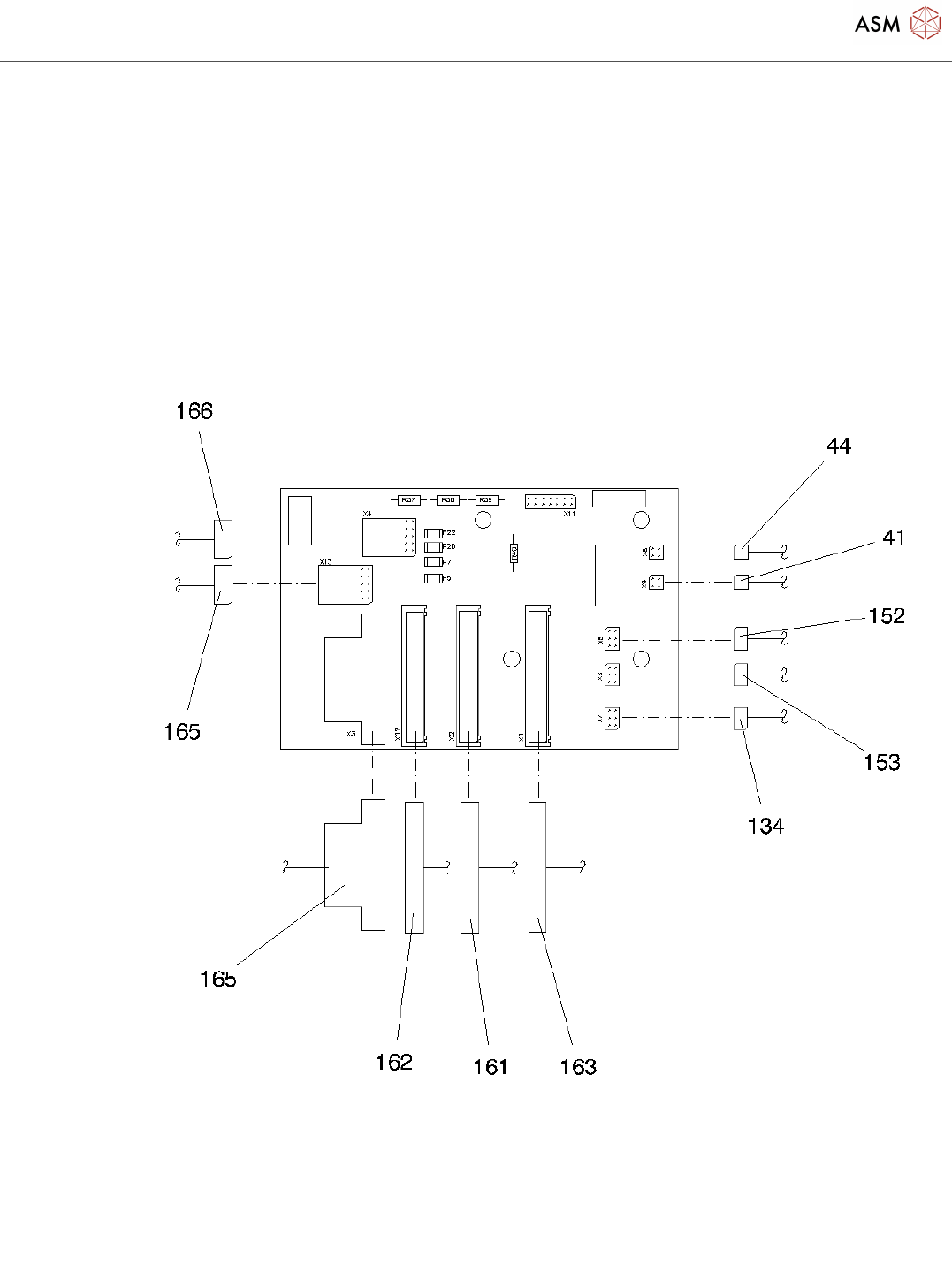
Cable trees
Page 10 / 35
22.11.2021
Cable trees
Page 11 / 35
22.11.2021
该页面需要启用 JavaScript 才能进行交互式预览。